- Partiron
- OEM Parts
- Yamaha
- motorcycle
- 1985
- XJ700NC (MAXIM CA) 1985
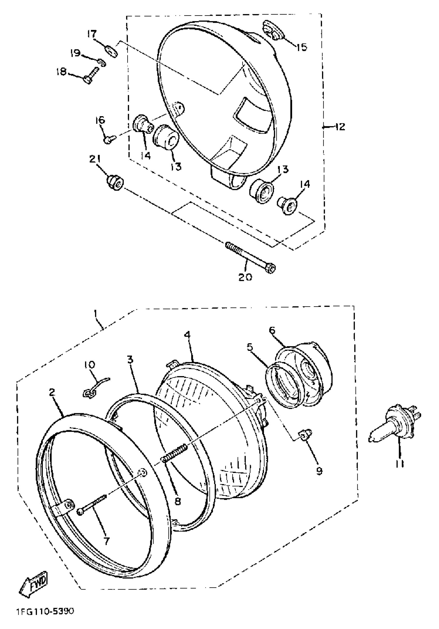
HEADLIGHT
Yamaha XJ700NC (MAXIM CA) 1985 HEADLIGHT Diagram
#
Description
Price
1
HEADLIGHT UNIT ASSEMBLY
42X-84303-A1-00
Unavailable
3
RING, RETAINING
5Y3-84395-00-00
Unavailable
5
SETTING PLATE, BULB
2F9-84375-00-00
Unavailable
14
. COLLAR BODY FITTING
42X-84338-00-00
Unavailable
16
SCREW,PAN HEAD (646)
98580-05012-00
Unavailable
17
WASHER, PLATE
90201-06086-00
Unavailable
18
BOLT, HEXAGON DEEP RECESS
97D95-06016-00
Unavailable
19
WASHER, SPRING
92995-06100-00
Unavailable
20
BOLT, FLANGE (3JPE)
95024-08045-00
Unavailable
21
NUT, CROWN
95303-08800-00
Unavailable
