- Partiron
- OEM Parts
- Yamaha
- motorcycle
- 1981
- XJ650LH (XJ650L) 1981
SIDE COVER TOOL
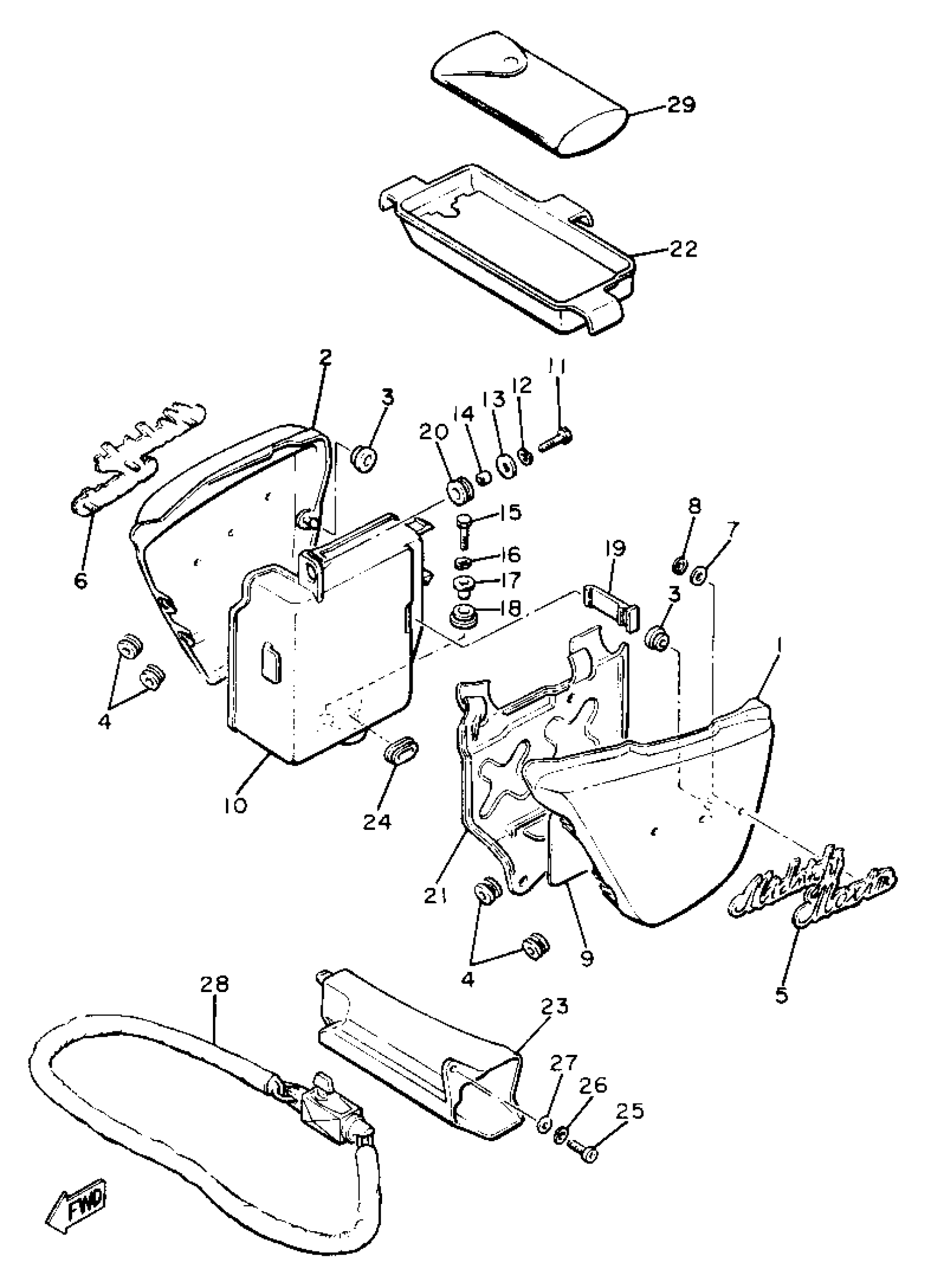
Yamaha XJ650LH (XJ650L) 1981 SIDE COVER TOOL Diagram
#
Description
Price
1
COVER, SIDE 1
4W5-21711-00-6G
Unavailable
2
COVER, SIDE 2
(4W5-21721-00-6G)
Unavailable
5
EMBLEM 2
(4W5-21782-00-00)
Unavailable
6
EMBLEM 2
(4W5-21782-00-00)
Unavailable
9
PLATE, SPEC
(4H7-21683-10-00)
Unavailable
10
BOX
(4H7-21240-01-00)
Unavailable
12
WASHER, SPRING
92995-06100-00
Unavailable
16
YBS67-8 WASHER, SPRING
92990-08100-00
Unavailable
17
COLLAR (21X)
90387-093H1-00
Unavailable
18
DAMPER
4H7-21746-00-00
Unavailable
19
HOOK, BANK
4H7-2175R-00-00
Unavailable
20
GROMMET (2N3)
90480-16233-00
Unavailable
21
PLATE, BRIDGE
4H7-21243-01-00
Unavailable
22
BOX
4H7-21170-00-00
Unavailable
23
BOX
4H7-21258-00-00
Unavailable
24
GROMMET
90480-22084-00
Unavailable
25
SCREW PAN HEAD
98580-06020-00
Unavailable
26
WASHER, SPRING
92995-06100-00
Unavailable
27
WASHER, PLATE
90201-06020-00
Unavailable
28
WHEEL LOCK ASSEMBLY (4X7-W2171-00)
4W5-W2171-00-00
Unavailable
29
TOOL KIT
1FX-28100-00-00
Unavailable
