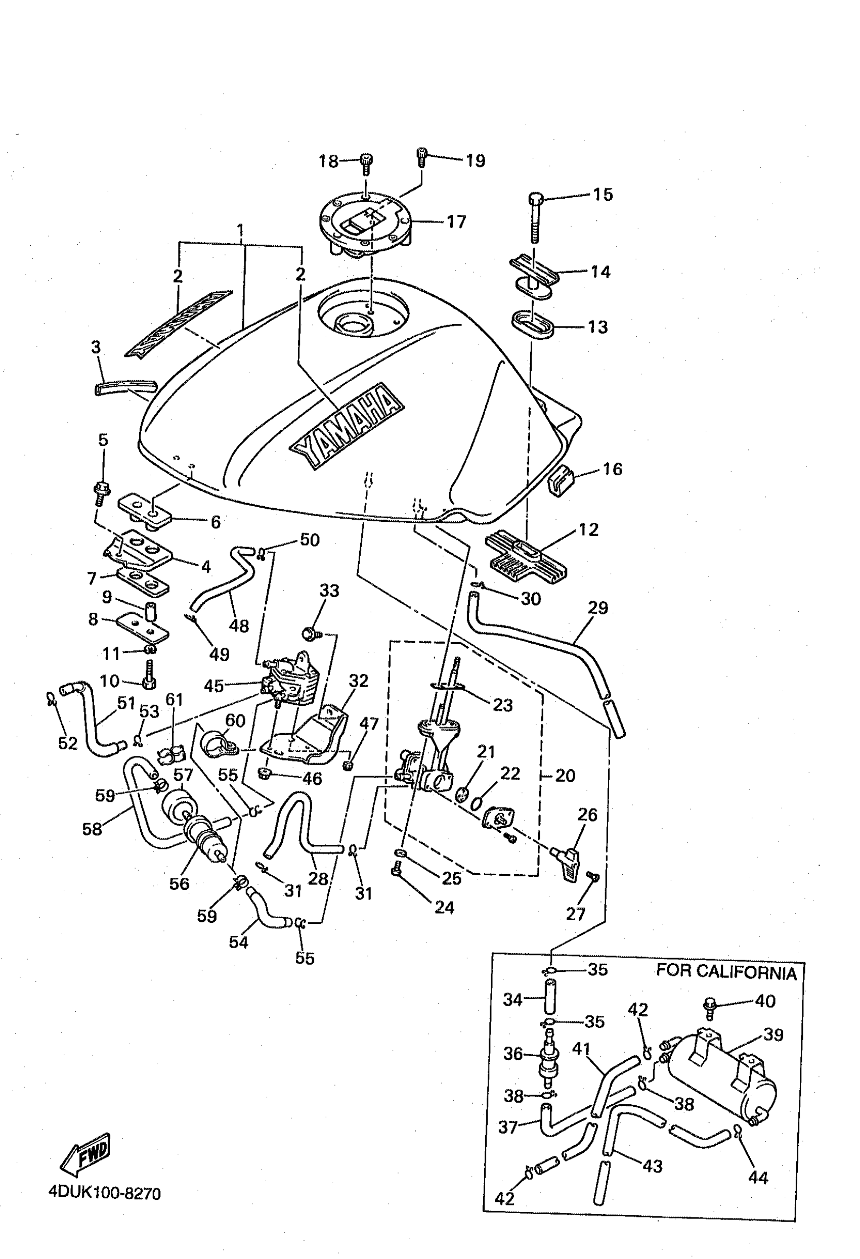
Yamaha XJ600SKC (SECA II CA) 1998 FUEL TANK Diagram
#
1
FUEL TANK COMP.
4BP-24110-01-W3
Unavailable
1
FUEL TANK COMP.
4BP-24110-01-W4
Unavailable
1
FUEL TANK COMP.
4BP-24110-11-W5
Unavailable
1
FUEL TANK
4BP-24110-11-W9
Unavailable
2
EMBLEM, YAMAHA
99247-00140-00
Unavailable
3
MOLD, FUEL TANK
1HX-24188-01-00
Unavailable
4
BRACKET, FUEL TANK 1
4BP-24191-00-00
Unavailable
5
BOLT, WITH WASHER(4BP)
90119-06213-00
Unavailable
6
DAMPER, LOCATING 1
2GH-24181-00-00
Unavailable
7
DAMPER, LOCATING 3
2GH-24183-00-00
Unavailable
8
WASHER, SPECIAL
2GH-24186-00-00
Unavailable
12
DAMPER, LOCATING 2
4BP-24182-00-00
Unavailable
13
DAMPER, LOCATING 3
3Y6-24183-00-00
Unavailable
14
WASHER, SPECIAL
4BP-24186-00-00
Unavailable
15
BOLT, HEXAGON
97017-08055-00
Unavailable
16
DAMPER, LOCATING 3
4JH-24183-01-00
Unavailable
17
CAP ASSY
4FM-24602-20-00
Unavailable
17
CAP ASSY
4HM-24602-01-00
Unavailable
18
BOLT, HEXAGON SOCKET HEAD(1FM)
90110-05112-00
Unavailable
19
BOLT, SOCKET
91317-05010-00
Unavailable
20
FUEL COCK ASSY 1
4BP-24500-01-00
Unavailable
21
VALVE PACKING
3AC-24523-00-00
Unavailable
22
SEAL, COCK
3AJ-24534-01-00
Unavailable
23
O-RING
4X8-24512-00-00
Unavailable
24
SCREW 366241430000
90149-06008-00
Unavailable
25
WASHER, PLATE(3MB)
90202-05187-00
Unavailable
26
LEVER, COCK
3HE-24524-00-00
Unavailable
27
SCREW, FLAT HEAD(3HH)
98707-04018-00
Unavailable
28
HOSE (L770)
90445-090G9-00
Unavailable
29
HOSE (L730)
90445-105K7-00
Unavailable
30
CLIP
90467-090A2-00
Unavailable
31
CLIP (16G)
90467-08021-00
Unavailable
32
STAY
4BP-24216-00-00
Unavailable
33
BOLT, FLANGE(4DU)
95027-06014-00
Unavailable
34
HOSE (L120)
90445-113E8-00
Unavailable
35
CLIP
90467-100A1-00
Unavailable
36
ROLL OVER VALVE ASSY
25H-24180-00-00
Unavailable
37
PIPE, FUEL 1
1UA-24311-00-00
Unavailable
38
CLIP
90467-100A1-00
Unavailable
39
CANISTER ASSEMBLY
4DU-24170-00-00
Unavailable
40
BOLT, FLANGE(4MY)
95027-06012-00
Unavailable
41
HOSE (L450)
90445-10144-00
Unavailable
42
CLIP
90467-090A2-00
Unavailable
43
PIPE, FUEL 1
2LJ-24311-00-00
Unavailable
44
CLIP
90467-100A1-00
Unavailable
45
FUEL PUMP ASSY
4BR-13910-09-00
Unavailable
46
NUT, FLANGE(3GM)
95707-05500-00
Unavailable
47
NUT, S/L FLANGE
95607-05200-00
Unavailable
48
HOSE (L200)
90445-10752-00
Unavailable
49
CLIP (8L2)
90467-08017-00
Unavailable
50
CLIP
90467-090A2-00
Unavailable
51
HOSE
4BR-14294-00-00
Unavailable
52
CLIP(1JH)
90467-11106-00
Unavailable
53
CLIP
90467-100A1-00
Unavailable
54
PIPE, FUEL 1
4BR-24311-00-00
Unavailable
55
CLIP
90467-100A1-00
Unavailable
56
FILTER ASSY
1FK-24560-10-00
Unavailable
57
SPACER
8Y1-21998-00-00
Unavailable
58
PIPE 2
1HX-24312-00-00
Unavailable
59
CLIP (7K7)
90467-11044-00
Unavailable
60
CLAMP, FUEL PIPE 1
4BR-24366-00-00
Unavailable
61
CLAMP
90464-17176-00
Unavailable
61
CLAMP
90464-17176-00
Unavailable
