Yamaha XJ600SKC (SECA II CA) 1998 CRANKCASE Diagram
#
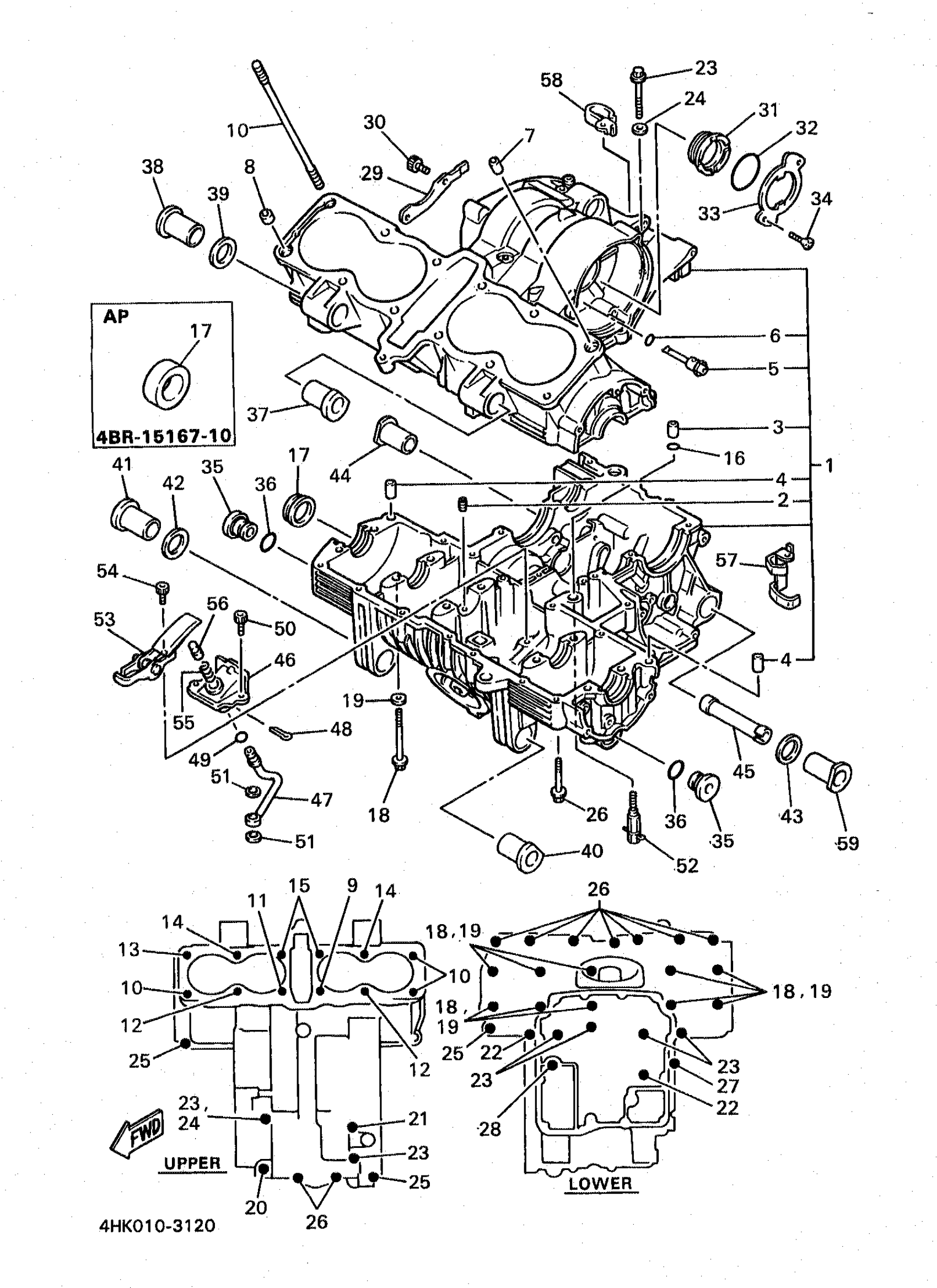
1
CRANKCASE ASSEMBLY
4DU-15100-00-00
Unavailable
9
BOLT, STUD
90116-08338-00
Unavailable
11
BOLT, STUD
90116-08339-00
Unavailable
12
BOLT, STUD
90116-08340-00
Unavailable
14
BOLT, CYLINDER HOLDING 4
4G0-11364-00-00
Unavailable
15
BOLT, CYLINDER HOLDING 3
4G0-11363-00-00
Unavailable
16
O-RING (1J7)
93210-09350-00
Unavailable
17
PLUG, BLIND 1
4BR-15167-10-00
Unavailable
17
PLUG
90338-48229-00
Unavailable
18
BOLT, FLANGE
95817-08100-00
Unavailable
19
WASHER, PLATE (33N)
90201-094G1-00
Unavailable
20
BOLT, FLANGE(JF2)
95817-08080-00
Unavailable
21
BOLT, FLANGE
95817-06135-00
Unavailable
22
BOLT, FLANGE
95817-06095-00
Unavailable
23
BOLT, FLANGE
95817-06065-00
Unavailable
24
GASKET (4V2)
90430-06166-00
Unavailable
25
BOLT, FLANGE
95817-06055-00
Unavailable
26
BOLT, FLANGE
95817-06045-00
Unavailable
27
BOLT, FLANGE
95817-06040-00
Unavailable
28
BOLT, FLANGE
95817-06035-00
Unavailable
29
PLATE, BEARING COVER
4BR-15381-00-00
Unavailable
30
BOLT,SOCKET
91317-06016-00
Unavailable
31
HOUSING, BEARING 1
4G0-15163-01-00
Unavailable
32
O-RING (26H)
93210-45578-00
Unavailable
33
PLATE, BEARING COVER
4G0-15383-00-00
Unavailable
34
SCREW, COUNTERSUNK (4H7)
90151-06014-00
Unavailable
35
PLUG
3KM-15189-00-00
Unavailable
36
O-RING (25G)
93210-20573-00
Unavailable
37
DAMPER, ENGINE MOUNT 3
4G0-15336-00-00
Unavailable
38
DAMPER, ENGINE MOUNT 3
33M-15336-00-00
Unavailable
39
WASHER, PLATE
90202-15153-00
Unavailable
40
DAMPER, ENGINE MOUNT 1
4G0-15316-00-00
Unavailable
41
DAMPER 4
33M-15337-00-00
Unavailable
42
WASHER, PLATE
90202-15153-00
Unavailable
43
WASHER, PLATE(4BP)
90202-17211-00
Unavailable
44
DAMPER, ENGINE MOUNT 2
46X-15326-00-00
Unavailable
45
SPACER, ENGINE MOUNT
4BR-15327-00-00
Unavailable
46
TENSIONER, CHAIN
4G0-11592-00-00
Unavailable
47
PIPE, DELIVERY 2
4G0-13171-00-00
Unavailable
48
PIN, COTTER
91490-25020-00
Unavailable
49
O-RING (11M)
93210-07540-00
Unavailable
50
BOLT, HEXAGON SOCKET HEAD
90110-06043-00
Unavailable
51
GASKET (5R6)
90430-10171-00
Unavailable
52
RELIEF VALVE ASS'Y
4G0-11575-00-00
Unavailable
53
TENSIONER ARM COMP.
4BR-11492-00-00
Unavailable
54
BOLT, HEXAGON SOCKET HEAD
90110-06043-00
Unavailable
55
. SPRING, COMPRESSION
90501-143A8-00
Unavailable
56
. PLUNGER, TENSIONER
46X-11597-00-00
Unavailable
57
CLAMP
90462-08087-00
Unavailable
58
CLAMP
90465-10290-00
Unavailable
59
COLLAR
90387-125Y2-00
Unavailable
