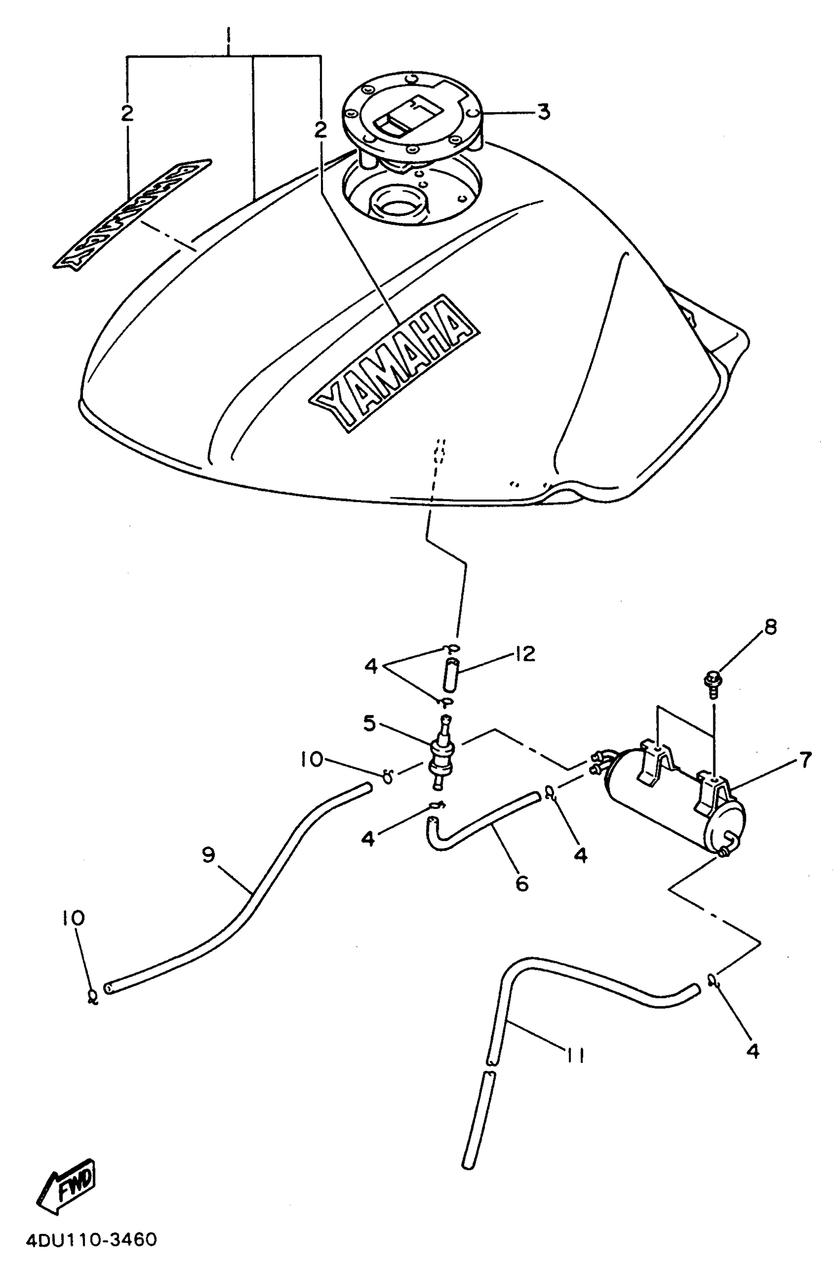
FUEL TANK CALIFORNIA MODEL ONLY
#
1
4BP-24110-11-X4
Unavailable
1
4BP-24110-11-X5
Unavailable
2
99245-00140-00
Unavailable
5
25H-24180-00-00
Unavailable
6
1UA-24311-00-00
Unavailable
7
4DU-24170-00-00
Unavailable
11
2LJ-24311-00-00
Unavailable
Edit ride
