Partiron

Yamaha XJ600SEC (SECA II CA) 1993 REAR SHOCKS Diagram

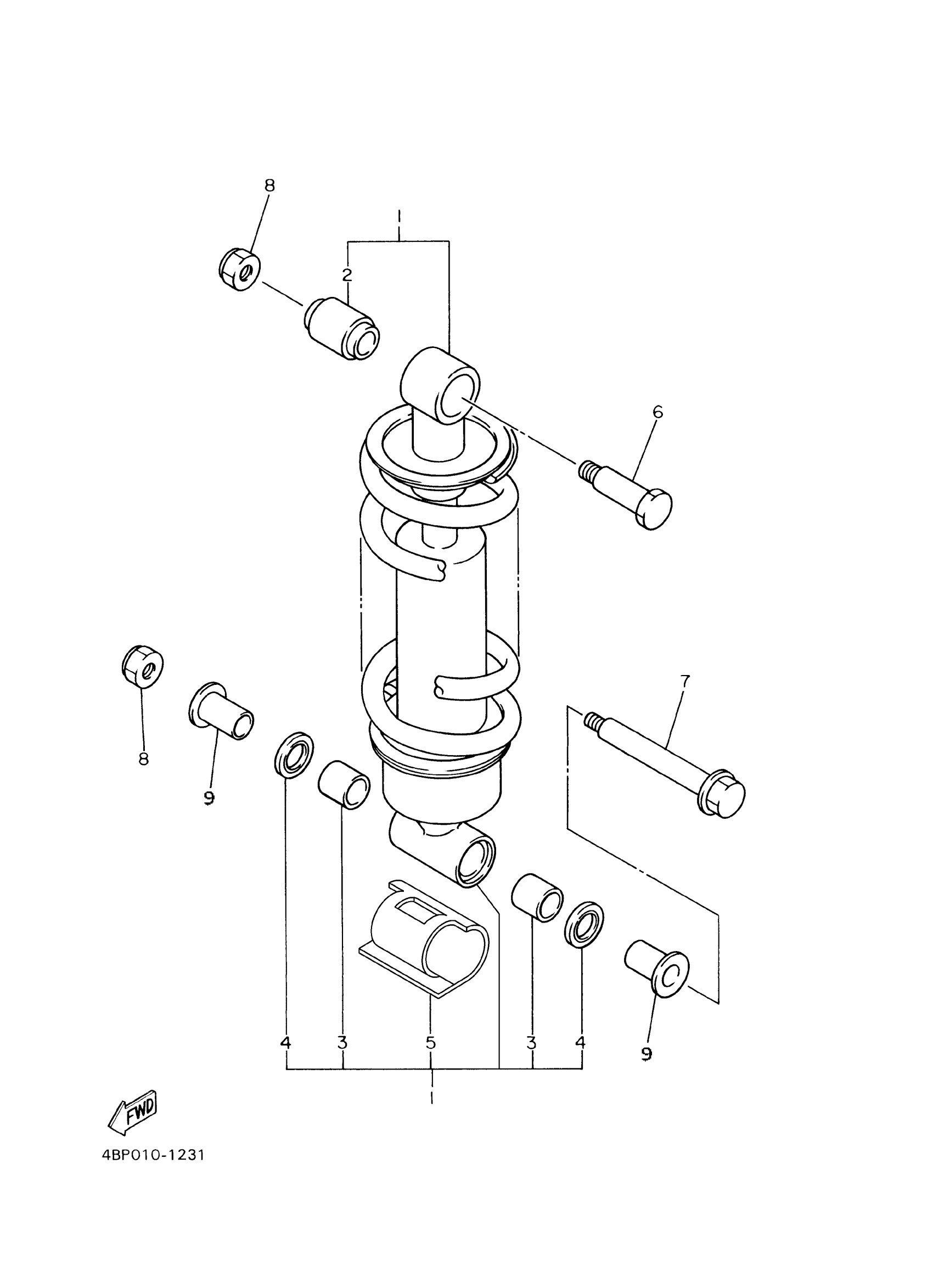
#

Description
Price

1

SHK/ABS ASY, REAR

4BR-22210-01-00

Unavailable

2

BUSH, REAR SHOCK ABSORBER

34L-22216-00-00

Unavailable

3

OIL SEAL (2J5)

93109-18020-00

$13.49

4

BUSH, BIMETAL FORMED (5X6)

90384-18157-00

$14.99

5

. MUD GUARD

4BP-22327-00-00

Unavailable

6

BOLT (4X7)

90101-12498-00

$14.99

7

BOLT(3VD)

90109-125F1-00

Unavailable

8

NUT, U FLANGE

95607-12200-00

$5.60

9

COLLAR(3SX)

90387-123X6-00

Unavailable