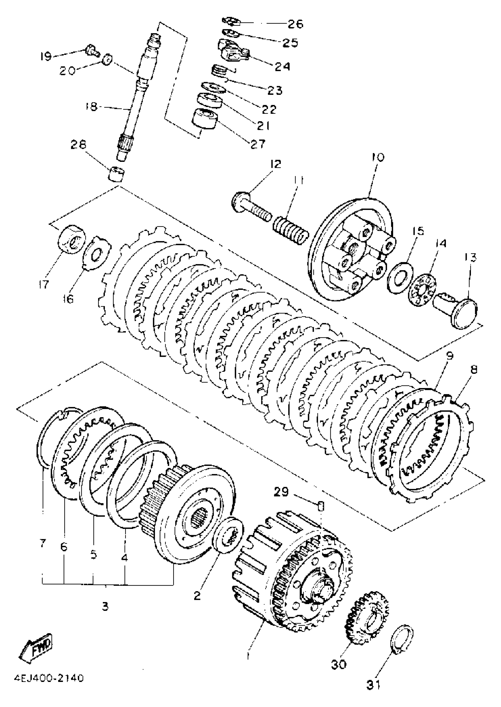
Yamaha XJ600SEC (SECA II CA) 1993 CLUTCH Diagram
#
Description
Price
1
PRIMARY DRIVEN GER COMP.
4HK-16170-00-00
Unavailable
2
. PLATE, THRUST 1
3Y1-16154-00-00
Unavailable
3
CLUTCH BOSS ASSEMBLY
4BR-16370-00-00
Unavailable
4
PLATE, SEAT
1J7-16384-00-00
Unavailable
5
.. SPRING, CLUTCH BOSS
1J7-16383-01-00
Unavailable
6
PLATE, CLUTCH 1
168-16324-10-00
Unavailable
7
RING, CLUTCH BOSS
1J7-16385-00-00
Unavailable
10
PLATE, PRESSURE 1
4BR-16351-00-00
Unavailable
13
ROD PUSH ASSY
3LD-1637A-01-00
Unavailable
16
WASHER, LOCK (34L)
90215-20231-00
Unavailable
17
NUT (34L)
90170-20327-00
Unavailable
18
AXLE, PUSH LEVER
3JD-16382-00-00
Unavailable
19
BOLT (583 TACHOMETER)
90109-06418-00
Unavailable
20
GASKET 256113960000
90430-06014-00
Unavailable
21
OIL SEAL (3X3)
93102-15212-00
Unavailable
22
WASHER, PLATE (3Y2)
90201-15785-00
Unavailable
23
SPRING, TORSION
90508-142A8-00
Unavailable
24
PUSH LEVER ASSEMBLY
4BR-16340-00-00
Unavailable
25
WASHER, PLAIN(735)
90201-10119-00
Unavailable
26
CIRCLIP(10W)
99009-10400-00
Unavailable
27
BRG,CYL-CAL ROLLER 16G TM
93315-31502-00
Unavailable
28
BEARING
93315-10838-00
Unavailable
29
PIN, DOWEL (8G8)
93605-10108-00
Unavailable
30
GEAR, PUMP DRIVE
4G0-13324-09-00
Unavailable
31
CIRCLIP(N02)
99009-40400-00
Unavailable
