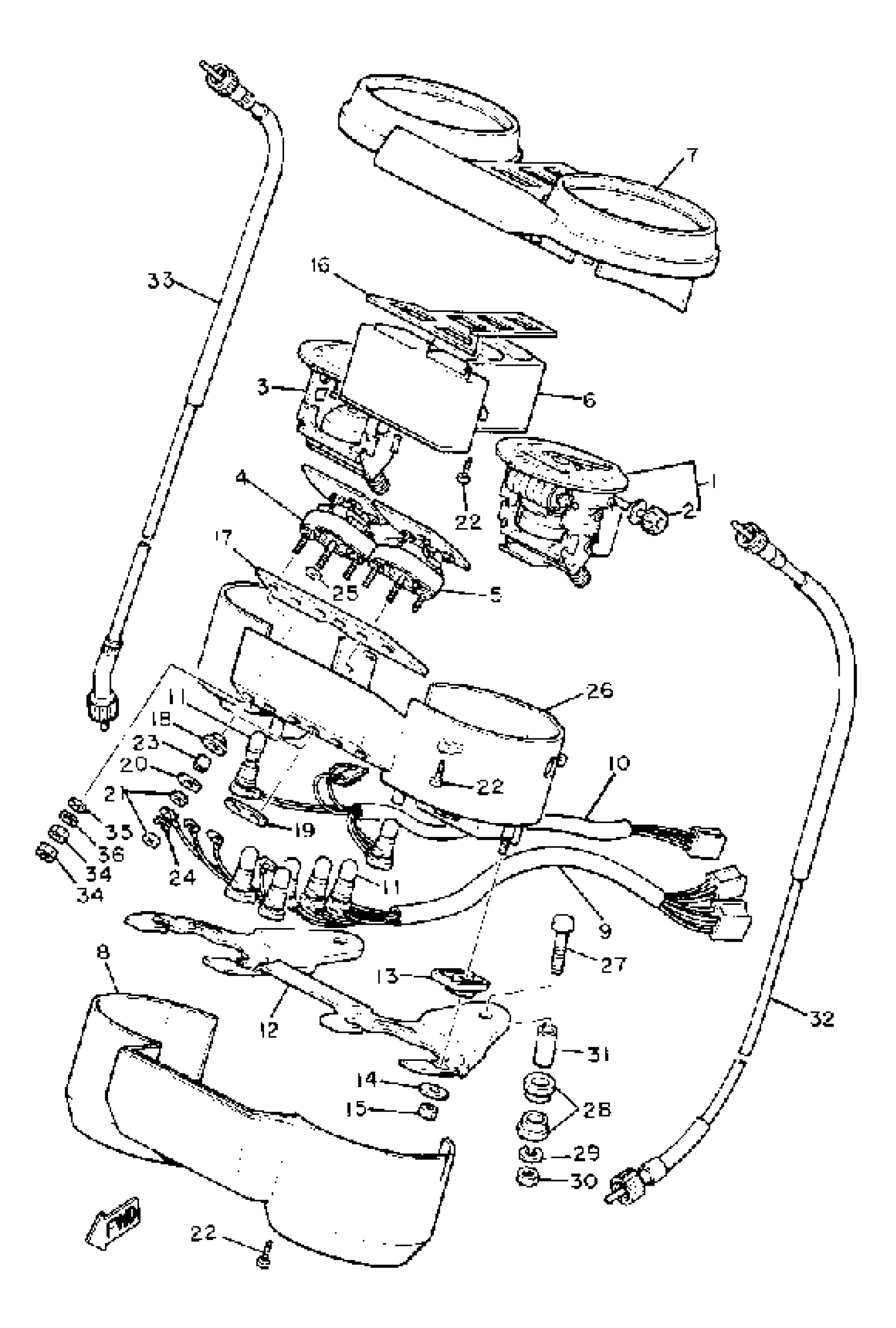
Yamaha XJ550RH (XJ550R) 1981 METER Diagram
#
1
SPEEDOMETER ASSEMBLY
(4U8-83570-A0-00)
Unavailable
2
. KNOB, TRIP METER
4U8-83578-00-00
Unavailable
3
TACHOMETER ASSEMBLY
4V8-83540-00-00
Unavailable
4
FUEL METER ASSEMBLY
4U8-85750-00-00
Unavailable
5
TRIP METER
4G0-83503-00-00
Unavailable
6
PILOT BOX, LOWER
4G0-83569-00-00
Unavailable
7
COVER, METER
4G0-83559-00-00
Unavailable
8
COVER, METER 2
4G0-83579-00-00
Unavailable
9
SOCKET CORD ASSEMBLY
4U8-83509-00-00
Unavailable
10
. SOCKET CORD ASSEMBLY (15R-83520-00)
4U8-83520-00-00
Unavailable
11
BULB, MTR.12V3.4W
4G1-84744-00-XX
Unavailable
12
BRACKET, METER
4G0-83519-00-00
Unavailable
13
DAMPER
4H7-83523-00-00
Unavailable
14
WASHER PLATE 803835240000
90201-05032-00
Unavailable
16
GASKET
(4G0-83589-00-00)
Unavailable
17
DAMPER
(4U8-83523-00-00)
Unavailable
18
DAMPER 2
(4G0-83526-00-00)
Unavailable
19
WASHER, SPECIAL
(4G0-83524-00-00)
Unavailable
20
YBS66-4 WASHER, PLAIN
92990-04200-00
Unavailable
21
NUT(6L4)
95380-04700-00
Unavailable
22
SCREW, TAPPING
4H7-83616-00-00
Unavailable
23
COLLAR
(4G0-83522-00-00)
Unavailable
24
YBS67-4 WASHER, SPRING
92990-04100-00
Unavailable
25
WASHER, SPECIAL
(4G0-83566-00-00)
Unavailable
26
CASE, INNER
4U8-8353H-00-00
Unavailable
27
BOLT(8BC)
97017-06040-00
Unavailable
28
DAMPER, METER BRACKET
584-83541-00-00
Unavailable
29
WASHER, SPRING
92995-06100-00
Unavailable
30
NUT, HEXAGON
95380-06600-00
Unavailable
31
COLLAR (877)
90387-06249-00
Unavailable
32
SPEEDOMETER CABLE ASSY
16M-83550-01-00
Unavailable
33
TACHOMETER CABLE
4K0-83560-00-00
Unavailable
34
NUT, HEXAGON SMALL
95304-03700-00
Unavailable
35
WASHER,PLAIN
92990-03200-00
Unavailable
36
WASHER, SPRING
92990-03100-00
Unavailable
