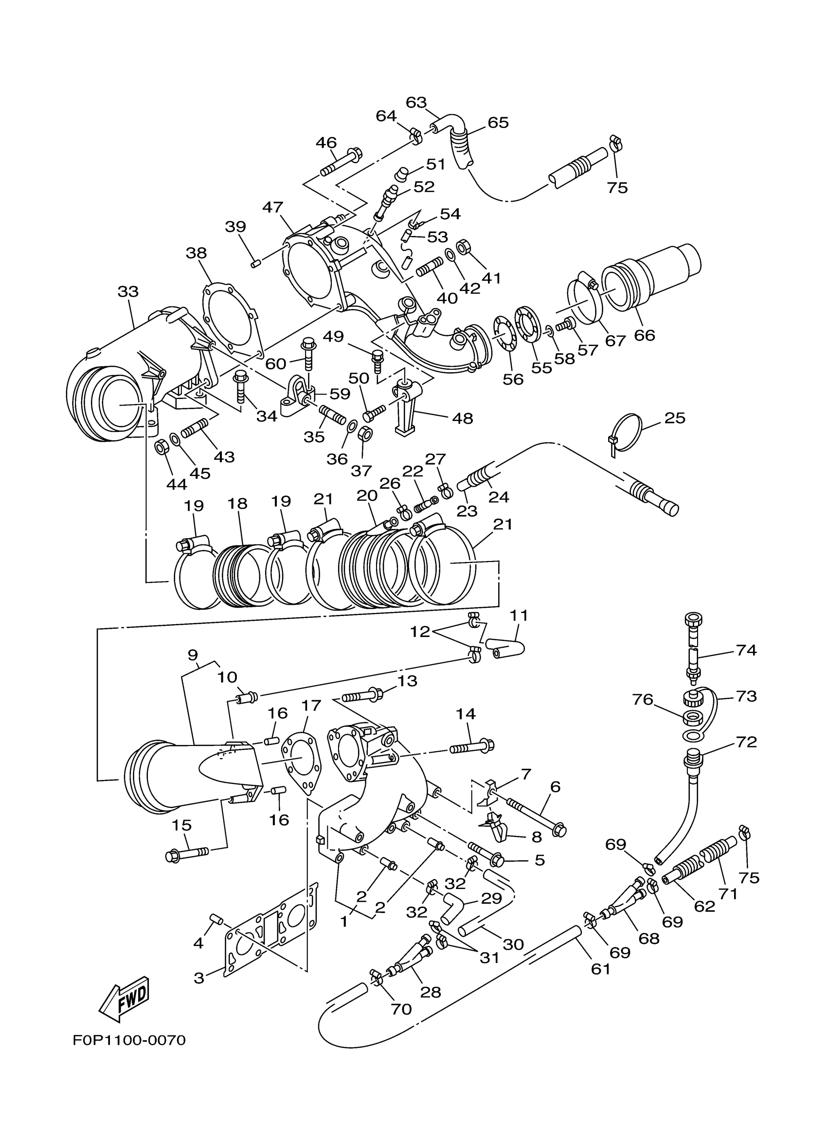
Yamaha XA800Y (XL800) F0P1 2000 EXHAUST 1 Diagram
#
1
MUFFLER 1
66E-14711-10-94
Unavailable
2
. NIPPLE
6K8-51129-00-00
Unavailable
3
. GASKET, EXHAUST PIPE
66E-14613-00-00
Unavailable
9
RING, JOINT
66E-14712-10-94
Unavailable
10
. NIPPLE
66E-51129-00-00
Unavailable
11
HOSE 1
66E-12576-00-00
Unavailable
13
BOLT, FLANGE
90105-08M83-00
Unavailable
15
BOLT, FLANGE
90105-08M66-00
Unavailable
17
. GASKET, MUFFLER DAMPER 2
66E-14749-00-00
Unavailable
18
JOINT, EXHAUST 2
66E-14625-00-00
Unavailable
19
HOSE CLAMP ASSY(62T)
90450-99M02-00
Unavailable
20
JOINT, EXHAUST 1
66E-14615-00-00
Unavailable
21
HOSE CLAMP ASSY
90450-99M18-00
Unavailable
22
JOINT, HOSE 4
60E-12594-00-00
Unavailable
23
HOSE 6
67A-12589-00-00
Unavailable
24
TUBE (L1040)
90446-24M94-00
Unavailable
25
CLAMP
90465-13M60-00
Unavailable
26
HOSE CLAMP ASSY
90450-18M09-00
Unavailable
27
HOSE CLAMP ASSY(62T)
90450-14M05-00
Unavailable
28
JOINT, HOSE 1
63M-12581-00-00
Unavailable
29
HOSE 2
66E-12577-00-00
Unavailable
30
HOSE 4
66E-12579-00-00
Unavailable
31
HOSE CLAMP ASSY
90450-18M09-00
Unavailable
32
HOSE CLAMP ASSY(62T)
90450-14M05-00
Unavailable
33
MUFFLER 2
66E-14721-10-8S
Unavailable
34
BOLT, WASHER BASED
90105-10M82-00
Unavailable
35
BOLT, STUD
90116-10M66-00
Unavailable
36
WASHER, PLATE
92990-10600-00
Unavailable
37
NUT(624)
95380-10600-00
Unavailable
38
GASKET, EXHAUST OUTER COVER
66E-41124-10-00
Unavailable
40
BOLT, STUD
90116-08M64-00
Unavailable
41
NUT(6L2)
95333-08600-00
Unavailable
42
.. WASHER, PLATE
92990-08600-00
Unavailable
43
BOLT, STUD
90116-10M65-00
Unavailable
44
NUT(624)
95380-10600-00
Unavailable
45
WASHER, PLATE
92990-10600-00
Unavailable
46
BOLT, FLANGE
90105-08M83-00
Unavailable
47
OUTER COVER, EXHAUST
67A-41123-00-00
Unavailable
48
STAY, MUFFLER
66E-14791-00-94
Unavailable
49
BOLT, WITH WASHER
90119-10M10-00
Unavailable
50
BOLT, WITH WASHER
90119-10M00-00
Unavailable
51
CAP, GREASE NIPPLE
663-45119-01-00
Unavailable
52
NIPPLE, GREASE
61L-5169A-00-00
Unavailable
53
HOSE (L445)
90445-09M21-00
Unavailable
54
CLAMP
90465-10098-00
Unavailable
55
SPACER
66E-14763-10-94
Unavailable
56
. GASKET, EXHAUST PIPE
66E-14623-00-00
Unavailable
57
SCREW, PAN HEAD
98580-06016-00
Unavailable
58
WASHER, PLAIN (646)
92990-06600-00
Unavailable
59
STAY, MUFFLER 1
66E-14771-01-00
Unavailable
60
BOLT, WITH WASHER
90119-10M18-00
Unavailable
61
HOSE (L60)
90445-18M17-00
Unavailable
62
HOSE
90445-18M16-00
Unavailable
63
HOSE 3
66E-12578-00-00
Unavailable
65
HOSE (L800)
90446-27M95-00
Unavailable
66
PIPE, OUTLET
67A-14752-00-00
Unavailable
67
CLAMP, HOSE
90460-90M11-00
Unavailable
68
JOINT, HOSE 1
63M-12581-00-00
Unavailable
69
HOSE CLAMP ASSY
90450-18M09-00
Unavailable
70
HOSE CLAMP ASSY
90450-18M09-00
Unavailable
71
HOSE
90446-24M81-00
Unavailable
72
JOINT ASSY
64T-12580-00-00
Unavailable
73
CAP,1
682-84385-01-00
Unavailable
74
CONDUCTION ASSY (US)
67X-E2590-00-00
Unavailable
75
BAND, HOSE 18
90601-118UF-00
Unavailable
76
NUT
EU0-61652-00-00
Unavailable
