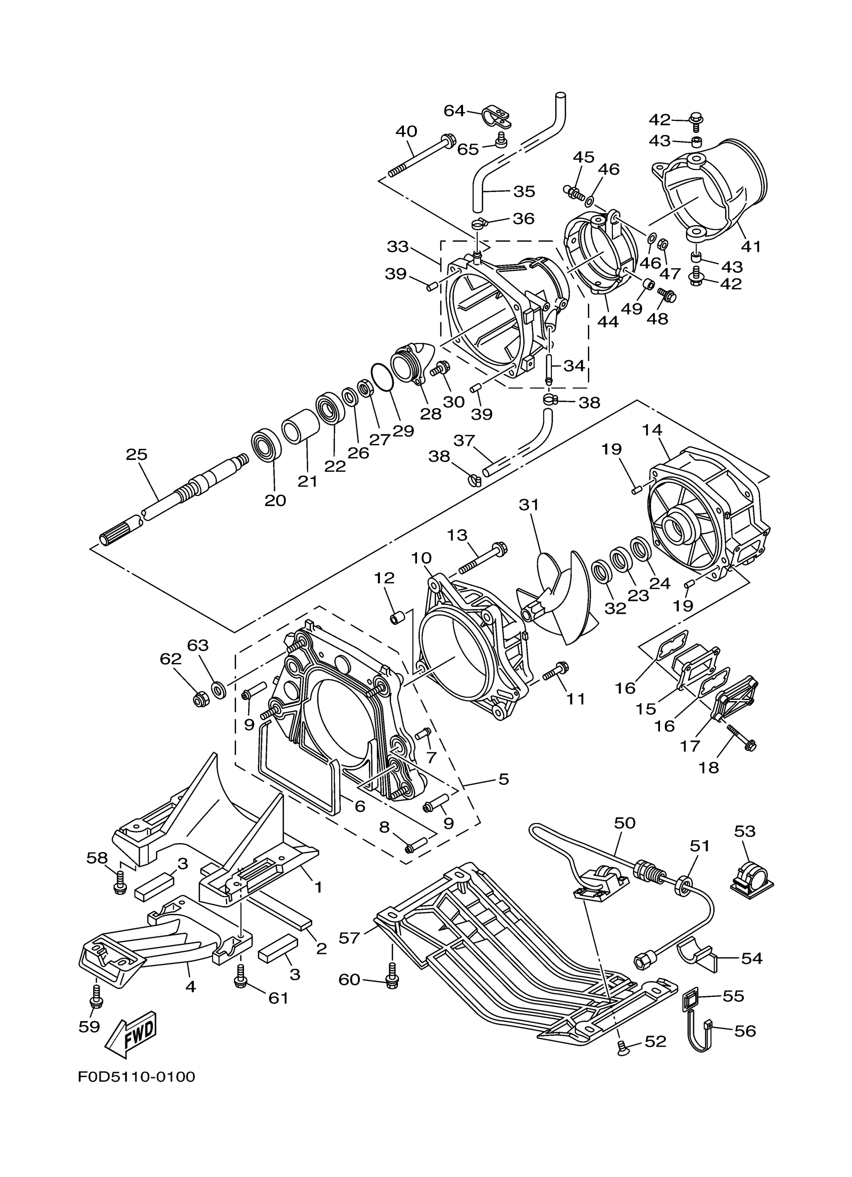
Yamaha XA1200Y (XL1200 LTD) F0D5 2000 JET UNIT 1 Diagram
#
1
DUCT, INTAKE
66V-51311-00-94
Unavailable
2
FELT, PACKING
66V-R1367-00-00
Unavailable
3
FELT, PACKING 2
66V-R1368-00-00
Unavailable
4
SCREEN, INTAKE
66V-51333-00-94
Unavailable
5
PLATE, TRANSOM
66V-G5831-02-00
Unavailable
6
. FELT, PACKING
66V-51367-10-00
Unavailable
7
. NIPPLE
65A-R1129-00-00
Unavailable
8
. NIPPLE
66V-51129-01-00
Unavailable
9
. NIPPLE
66V-51129-10-00
Unavailable
10
HOUSING, IMPELLER
6CR-R1312-00-00
Unavailable
11
BOLT, WITH WASHER
90119-06894-00
Unavailable
13
BOLT, WITH WASHER
90119-10811-00
Unavailable
14
DUCT, IMPELLER
66V-51315-01-00
Unavailable
15
FILTER
66V-46882-00-00
Unavailable
16
. O-RING
66V-42414-00-00
Unavailable
17
COVER, WATER INLET 1
66V-45214-00-00
Unavailable
18
BOLT,WITH WASHER
90119-06898-00
Unavailable
19
PIN, DOWEL (614)
93606-12019-00
Unavailable
20
BEARING (6K8)
93306-205U1-00
Unavailable
21
SPACER 1
65V-45538-00-00
Unavailable
22
BEARING
93306-304XB-00
Unavailable
23
OIL SEAL
93101-28M66-00
Unavailable
24
OIL SEAL
93101-28002-00
Unavailable
25
SHAFT, DRIVE
66V-45511-00-00
Unavailable
26
WASHER
9299R-16600-00
Unavailable
27
NUT
95317-16700-00
Unavailable
28
CAP KIT
65A-R1326-10-KT
Unavailable
29
. O-RING
93210-46M16-00
Unavailable
30
BOLT,WITH WASHER
90119-06890-00
Unavailable
31
IMPELLER
68N-R1321-00-00
Unavailable
32
SPACER
66V-R1348-10-00
Unavailable
33
NOZZLE
66V-51318-00-94
Unavailable
34
. NIPPLE,HOSE
63M-51334-00-00
Unavailable
35
HOSE (L310)
90445-16M09-00
Unavailable
36
BAND, HOSE 18
90601-118UF-00
Unavailable
37
HOSE (L380)
90445-14M25-00
Unavailable
38
CLAMP
90465-10098-00
Unavailable
39
PIN, DOWEL (614)
93606-12019-00
Unavailable
40
BOLT, WITH WASHER
90119-10807-00
Unavailable
41
NOZZLE, DEFLECTOR
66V-R1313-01-00
Unavailable
42
BOLT, WITH WASHER
90119-08852-00
Unavailable
43
COLLAR(6R7)
90387-08M06-00
Unavailable
44
RING, TRIM
66G-51190-00-94
Unavailable
45
STUD, JOINT BALL
GH3-U146E-00-00
Unavailable
46
WASHER,PLATE
90201-068M4-00
Unavailable
47
NUT
9538R-06700-00
Unavailable
48
BOLT, WITH WASHER
90119-08852-00
Unavailable
49
COLLAR(6R7)
90387-08M06-00
Unavailable
50
SENSOR SPEED
GJ1-U8K31-03-00
Unavailable
51
. NUT, DRAIN 1
EU0-62241-30-00
Unavailable
52
SCREW, FLAT HEAD
9878R-05512-00
Unavailable
53
CLAMP
90600-925U9-00
Unavailable
54
PACKING, HOSE 2
GJ1-U7578-12-00
Unavailable
55
BASE, CLAMP
90600-900U6-00
Unavailable
56
CLAMP(JN6)
90464-40825-00
Unavailable
57
PLATE 2
F0D-U273B-00-00
Unavailable
58
BOLT, WITH WASHER
90119-08829-00
Unavailable
59
BOLT, WITH WASHER
90119-06896-00
Unavailable
60
BOLT, WITH WASHER
90119-08829-00
Unavailable
61
BOLT,WITH WASHER
90119-06890-00
Unavailable
62
NUT, NYLON
9572R-10300-00
Unavailable
63
WASHER, PLATE
90201-10801-00
Unavailable
64
CLIP, NYLON 21
90600-921U1-00
Unavailable
65
SCREW, PANHEAD TAPPING (682)
97780-50514-00
Unavailable
