- Partiron
- OEM Parts
- Yamaha
- waverunner
- 2000
- XA1200Y (XL1200 LTD) F0D5 2000
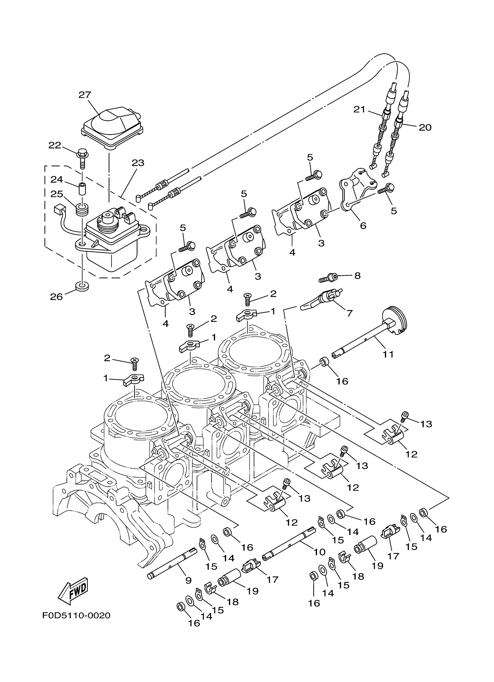
CYLINDER. CRANKCASE 2
Yamaha XA1200Y (XL1200 LTD) F0D5 2000 CYLINDER. CRANKCASE 2 Diagram
#
Description
Price
1
ANODE
66E-11325-00-00
Unavailable
2
SCREW, FLAT HEAD
98780-05020-00
Unavailable
3
COVER
66E-1131M-01-00
Unavailable
4
GASKET, COVER
66E-1131B-02-00
Unavailable
6
BRACKET 1
66E-11998-00-00
Unavailable
7
VALVE ASSY.
66E-1131S-10-00
Unavailable
8
BOLT,SOCKET
91380-05010-00
Unavailable
9
SHAFT 1
66E-1131V-00-00
Unavailable
10
SHAFT 3
66V-11333-00-00
Unavailable
11
PULLEY, SHAFT
66E-1132C-00-00
Unavailable
12
LEVER, LINK
60T-11832-00-00
Unavailable
14
WASHER, PLATE
90201-08M09-00
Unavailable
16
OIL SEAL
93109-08M07-00
Unavailable
17
JOINT 1
66E-1131H-00-00
Unavailable
18
JOINT 2
66E-1131J-10-00
Unavailable
19
COVER, JOINT
66E-1131C-10-00
Unavailable
20
CABLE, PULLEY 1
66V-1133E-00-00
Unavailable
21
CABLE, PULLEY 1
66V-1133E-00-00
Unavailable
22
BOLT, WITH WASHER
90119-069UX-00
Unavailable
23
SERVO MOTOR ASSY
66V-85820-00-00
Unavailable
24
COLLAR (1T2)
90387-07598-00
Unavailable
25
GROMMET 839774310000
90480-14023-00
Unavailable
26
WASHER, PLATE
90201-06M04-00
Unavailable
27
COVER, WIRE
66E-85825-00-00
Unavailable
