Partiron

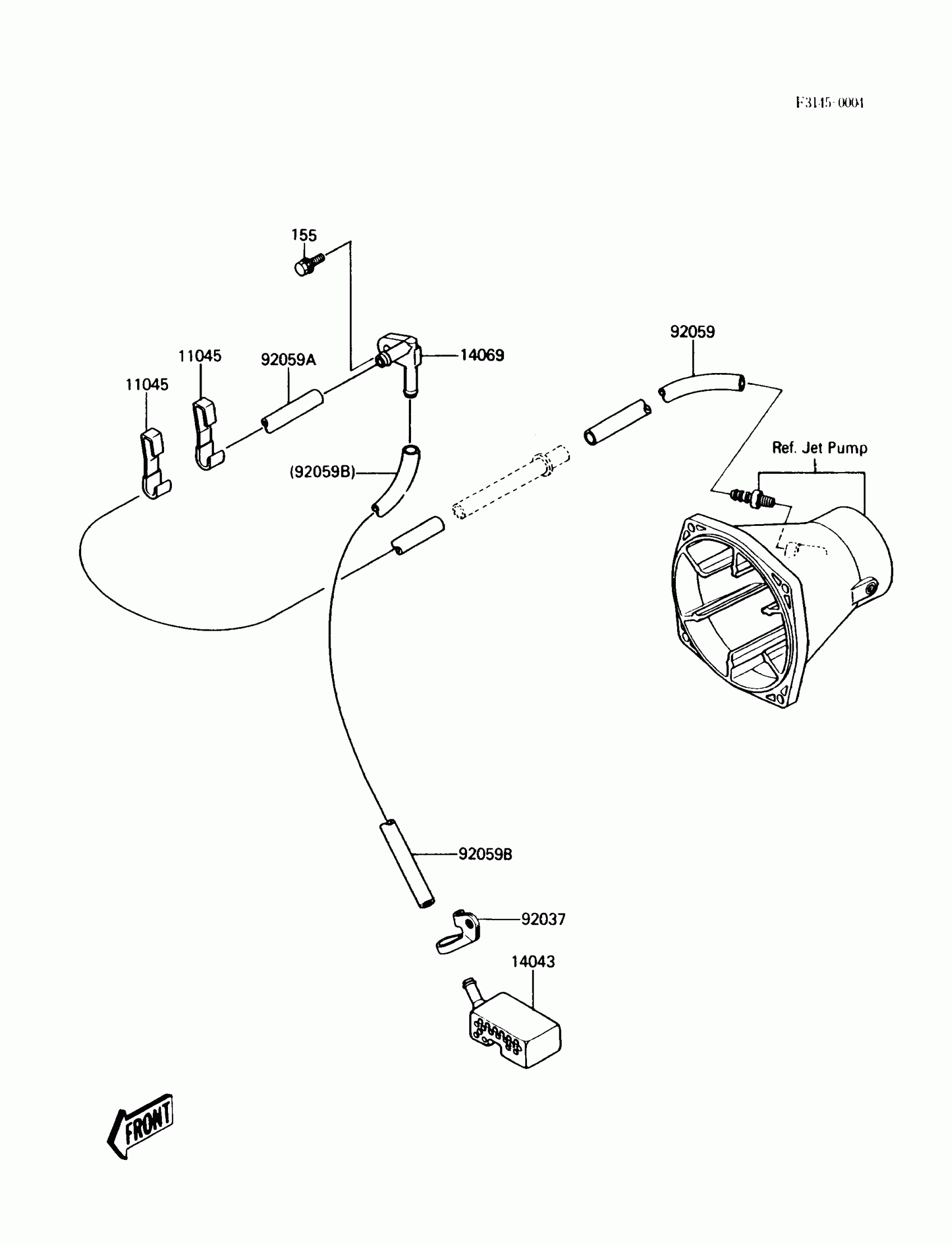
Kawasaki X2 Bilge System Diagram

#

Description
Price

155

BOLT-WSP-SMALL,8X25

155R0825

$5.77

13091

HOLDER

13091-3712

$4.65

14043

FILTER

14043-3708

$15.65

14069

BREATHER,BILGE

14069-3705

$4.59

92011

SCREW,TAPPING

92011-561

Unavailable

92059

TUBE,L=200

92059-3894

Unavailable

92059A

TUBE,15.5X21.5X380

92059-3895

Unavailable

92190

TUBE,15.5X21.5X260

92190-3720

Unavailable

92200

WASHER,5.9X16X1.5

92200-3714

$2.14