- Partiron
- OEM Parts
- Yamaha
- waverunner
- 1997
- WVT760V (WAVE VENTURE 760) 65R 1997
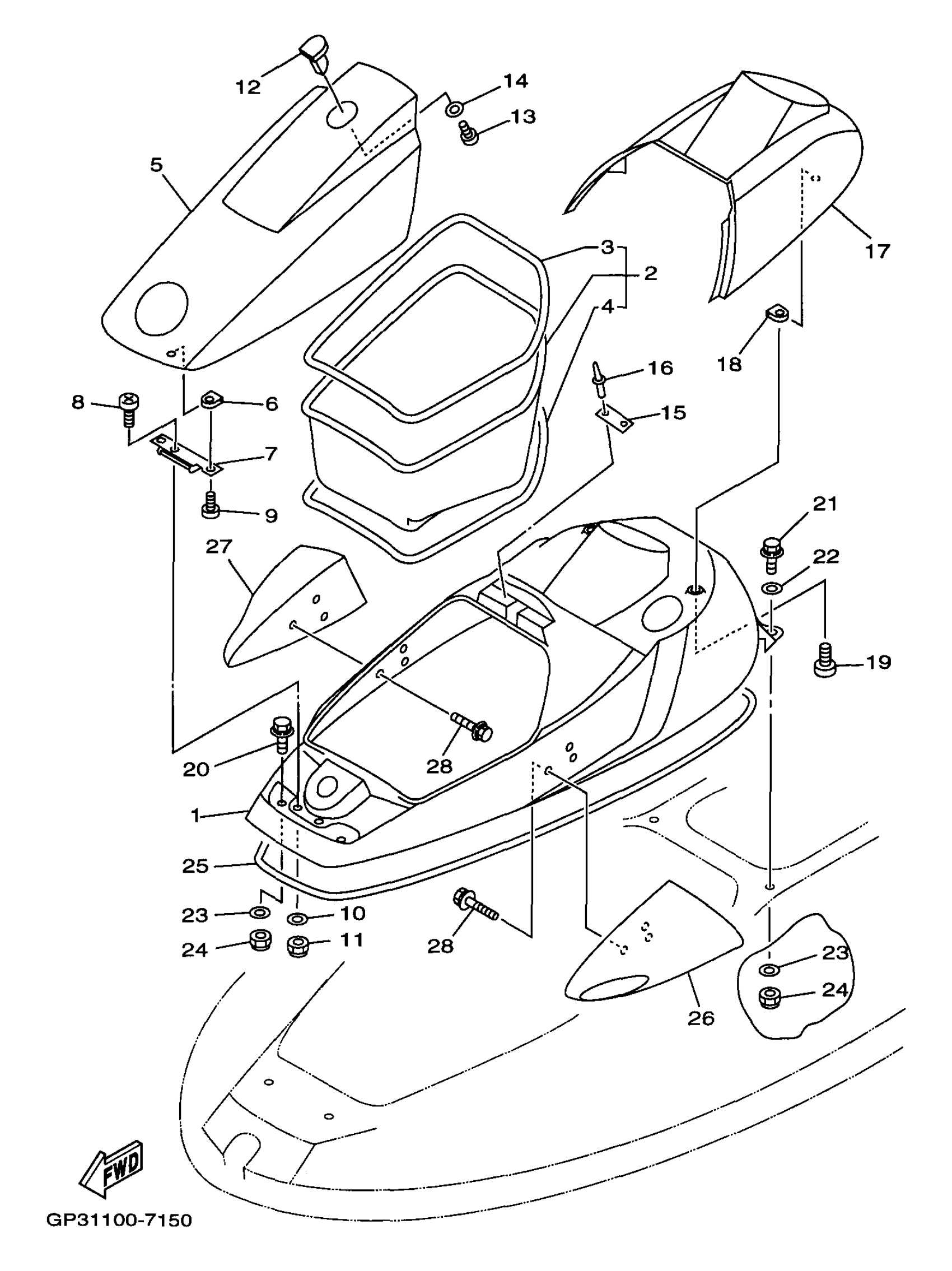
ENGINE HATCH
Yamaha WVT760V (WAVE VENTURE 760) 65R 1997 ENGINE HATCH Diagram
#
Description
Price
1
ENGINE HATCH COMP.
GJ3-U516A-00-P0
Unavailable
2
BOW LOCKER ASSEMBLY
GJ3-U475A-00-00
Unavailable
3
PACKING 3
GJ3-U266B-33-00
Unavailable
4
PACKING 4
GJ3-U266C-31-00
Unavailable
5
LID, ENGINE HATCH
GH3-U517B-20-P0
Unavailable
7
HINGE, LID
GJ3-6517D-01-00
Unavailable
9
SCREW
90149-069U2-00
Unavailable
11
NUT, SELF-LOCKING
95720-06300-00
Unavailable
12
LOCK, LID
GJ3-6517C-01-00
Unavailable
13
SCREW
90149-059U3-00
Unavailable
14
. WASHER, PLAIN
92990-05200-00
Unavailable
15
HOOK, LID LOCK
GJ3-6517F-00-00
Unavailable
16
RIVET (EU0)
90267-48938-00
Unavailable
17
COVER,ENG.HATCH (TEAL)
GH3-U516N-29-P0
Unavailable
19
SCREW, WITH WASHER
97980-06320-00
Unavailable
20
BOLT, WITH WASHER
90119-089U9-00
Unavailable
21
BOLT, WITH WASHER
90119-08829-00
Unavailable
22
WASHER, PLATE
90201-099U1-00
Unavailable
23
WASHER (FJ0)
90201-08929-00
Unavailable
24
. NUT, SELF-LOCKING
95720-08300-00
Unavailable
25
PACKING 1
GJ3-U2663-01-00
Unavailable
26
MIRROR LH
GH3-U596B-10-00
Unavailable
27
MIRROR (RH)
GH3-U596C-10-00
Unavailable
28
BOLT WITH WASHER (EW2)
90119-06920-00
Unavailable
