Yamaha WVT700W (WAVEVENTURE 700) 1998 FUEL TANK Diagram
#
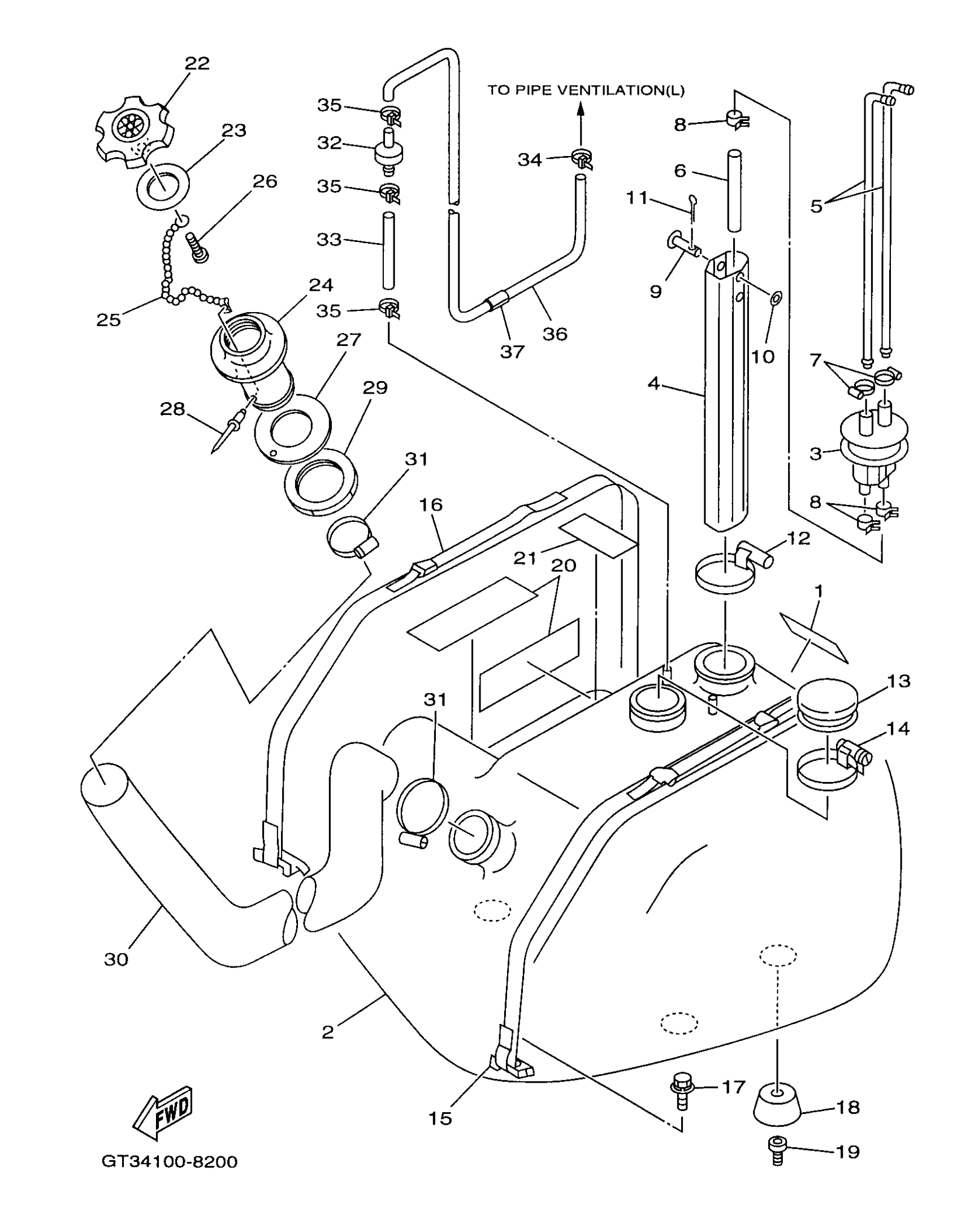
1
LABEL, FUEL TANK
GH3-6418D-00-00
Unavailable
2
TANK, FUEL
GH3-U7711-00-00
Unavailable
3
PIPE, JOINT
FJ0-67713-01-00
Unavailable
4
SLEEVE 1
FJ0-67716-01-00
Unavailable
5
PIPE, SUCTION 3
FJ0-67714-02-00
Unavailable
7
BAND, HOSE 11
90601-11062-00
Unavailable
11
PIN. COTTER
91490-16010-00
Unavailable
12
BAND, HOSE 62
90601-162U5-00
Unavailable
13
COVER
FN8-6771K-00-00
Unavailable
14
BAND, HOSE 62
90601-162U5-00
Unavailable
15
BELT, TANK 1
GJ1-67743-01-00
Unavailable
16
BELT, TANK 1
GH3-67743-01-00
Unavailable
17
BOLT, WITH WASHER
90119-08800-00
Unavailable
18
DAMPER, FUEL TANK
GH1-U782B-00-00
Unavailable
19
BOLT, HEXAGON SOCKET HEAD
90110-089U1-00
Unavailable
20
MAT 1
GJ1-6759B-00-00
Unavailable
21
MAT 2
GJ1-6759C-00-00
Unavailable
22
CAP, FUEL FILLER
GP7-U7831-11-00
Unavailable
23
PACKING
GP7-U7832-01-00
Unavailable
24
SOCKET
GP7-U7833-11-00
Unavailable
25
CHAIN BALL
GP7-U7835-00-00
Unavailable
26
SCREW, TRUSS HEAD TAPPING
90169-049U1-00
Unavailable
27
PACKING FUEL FILLER
GP7-U7834-10-00
Unavailable
28
RIVET, BLIND
90267-329UR-00
Unavailable
29
NUT, FUEL FILLER
GP7-U783F-00-00
Unavailable
30
HOSE
GP3-U7844-00-00
Unavailable
31
BAND, HOSE 55
90601-155U4-00
Unavailable
32
CHECK VALVE
EU0-67767-31-00
Unavailable
33
HOSE, AIR VENT 3
GP7-U785H-00-00
Unavailable
34
CLAMP
90465-10098-00
Unavailable
35
CLAMP
90465-10098-00
Unavailable
36
HOSE, AIR VENT 3
GA7-U785H-00-00
Unavailable
37
PACKING, HOSE 2
GJ1-U7578-01-00
Unavailable
