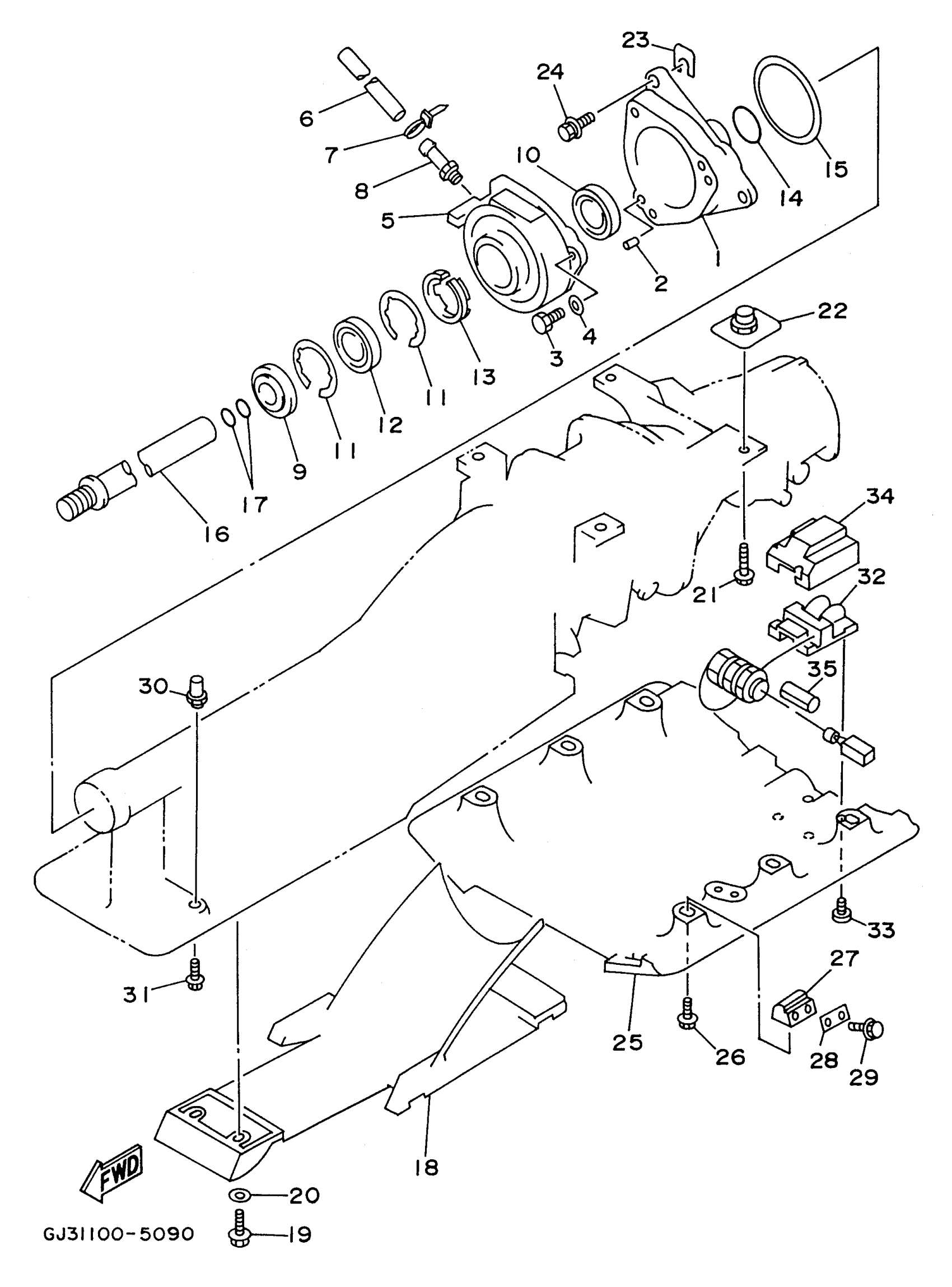
Yamaha WVT700U (WAVE VENTURE 700) 1996 JET UNIT 2 Diagram
#
1
HOUSING, BEARING
62G-45331-01-94
Unavailable
4
.. WASHER, PLATE
92990-08600-00
Unavailable
5
HOUSING, BEARING
61X-G5332-00-00
Unavailable
7
CLAMP
90465-10098-00
Unavailable
8
NIPPLE, HOSE
61L-45378-00-00
Unavailable
11
CIRCLIP
93430-47M04-00
Unavailable
12
BEARING(62G)
93306-205U6-00
Unavailable
13
SPACER
63M-51348-00-00
Unavailable
15
SEAL
6K8-45127-00-00
Unavailable
16
SHAFT, COUPLOR
63N-51323-10-00
Unavailable
17
O-RING(6R7)
93210-17MA4-00
Unavailable
18
SCREEN, INTAKE
63N-51333-02-94
Unavailable
19
BOLT (FJ0)
97080-06018-00
Unavailable
20
WASHER, PLAIN (646)
92990-06600-00
Unavailable
21
BOLT, WITH WASHER
90119-109U8-00
Unavailable
22
NUT
90179-10925-00
Unavailable
23
SHIM (T=0.5)
GD0-67249-A0-00
Unavailable
23
SHIM (T=1.0)
GD0-67249-00-10
Unavailable
23
SHIM (0.5)
GD0-U7249-00-05
Unavailable
23
SHIM (0.5)
GD0-U7249-00-05
Unavailable
24
BOLT, WITH WASHER
90119-08907-00
Unavailable
25
PLATE 2
GJ3-6273B-01-00
Unavailable
26
BOLT, WITH WASHER
90119-08829-00
Unavailable
27
PACKING
GJ1-62733-00-00
Unavailable
28
PACKING
GH1-62663-01-00
Unavailable
29
BOLT, WITH WASHER
90119-08907-00
Unavailable
30
NUT(FJ0)
90179-06947-00
Unavailable
31
BOLT, WITH WASHER
90119-06896-00
Unavailable
32
SENSOR SPEED
GJ1-U8K31-03-00
Unavailable
33
SCREW, PAN HEAD(3YL)
98580-05014-00
Unavailable
34
COVER, PLATE
GJ3-6273C-00-00
Unavailable
35
GR0MMET
GJ1-6822E-00-00
Unavailable
