Partiron

Yamaha WVT1100U (WAVE VENTURE 1100) 1996 STEERING 2 Diagram

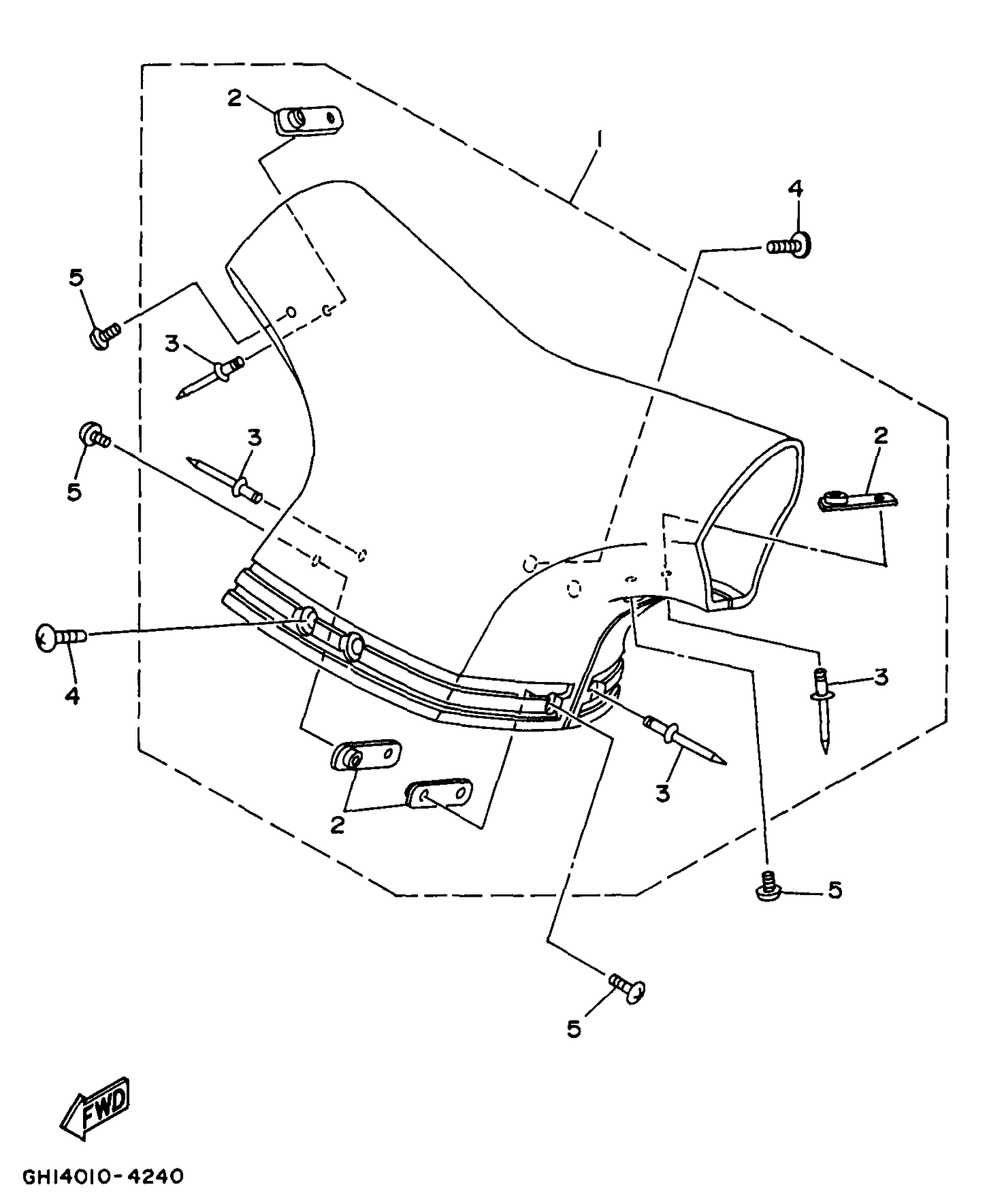
#

Description
Price

1

STEERING PAD (TEAL)

GJ3-U142A-40-00

Unavailable

2

. PLATE

GA7-6144D-00-00

Unavailable

3

RIVET, BLIND

90267-489U6-00

Unavailable

4

SCREW,TRASS HEAD (FJ0)

90149-05959-00

$7.49

5

SCREW

90149-04903-00

Unavailable