Partiron

Yamaha WRB650S (WAVE RUNNER VXR) 1994 VENTILATION Diagram

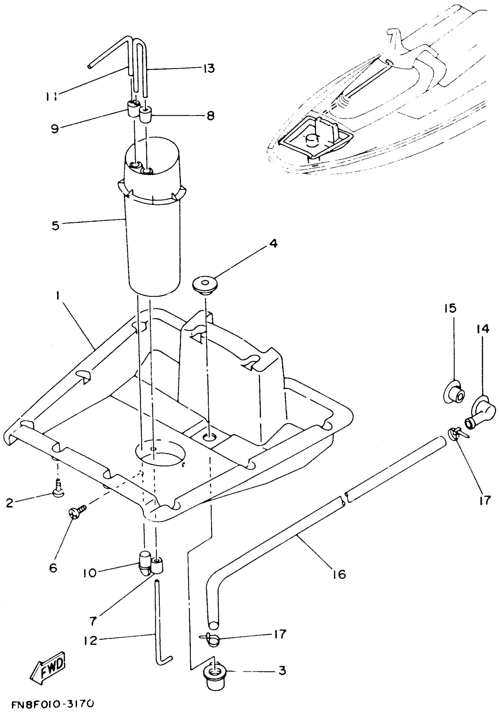
#

Description
Price

1

COVER VENTILATOR 1

FN8-U2131-00-00

Unavailable

2

SCREW, PANHEAD (97701-50515-00)

90149-059U1-00

Unavailable

3

BODY, DRAIN 3

FN8-6224E-00-00

Unavailable

4

BODY, DRAIN 4

FN8-6224F-01-00

Unavailable

5

PIPE, VENTILATION

EU0-U2149-40-00

Unavailable

6

SCREW, OVAL HEAD TAPPING

97780-40112-00

Unavailable

7

CAP

EU0-62155-00-00

Unavailable

8

CAP

FN8-62155-00-00

Unavailable

9

CAP

FN8-62155-30-00

Unavailable

10

CAP

FN8-62155-50-00

Unavailable

11

ELBOW, VENTILATOR 11

FN8-62156-00-00

Unavailable

12

ELBOW VENT 12

EU0-62156-32-00

Unavailable

13

ELBOW, VENTILATOR 13

FN8-62156-40-00

Unavailable

14

BODY, DRAIN 3

FN8-6224E-00-00

Unavailable

15

BODY, DRAIN 4

FN8-6224F-01-00

Unavailable

16

HOSE 1

FN8-62249-00-00

Unavailable

17

BAND

90601-200U1-00

Unavailable