- Partiron
- OEM Parts
- Yamaha
- waverunner
- 1995
- WRA650T (WAVE RUNNER III) 1995
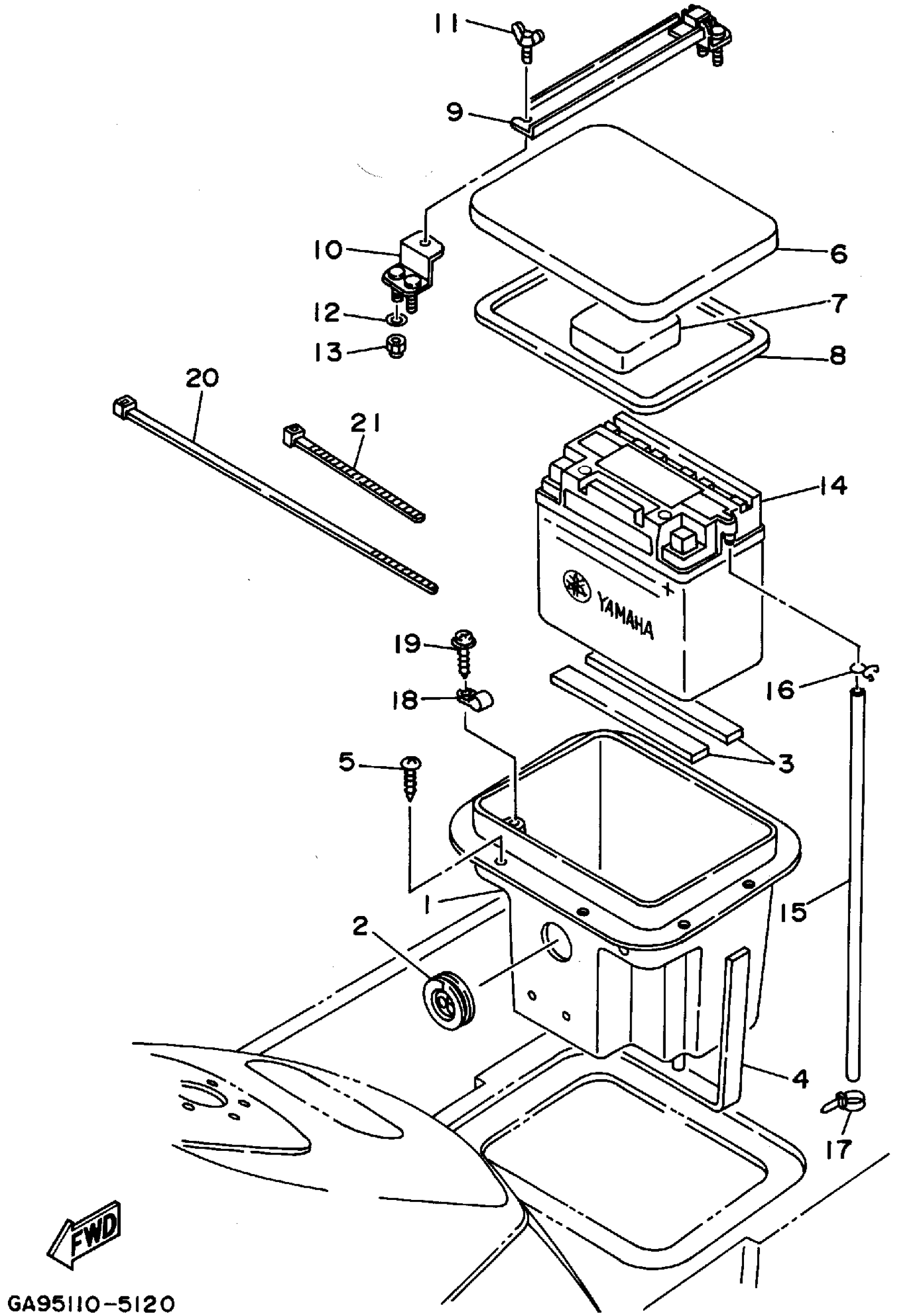
ELECTRICAL 2
Yamaha WRA650T (WAVE RUNNER III) 1995 ELECTRICAL 2 Diagram
#
Description
Price
1
CASE,BATTERY
GA9-U8211-01-00
Unavailable
2
GROMMET
FJ0-68222-01-00
Unavailable
3
PAD, BATTERY 1
FJ0-68221-00-00
Unavailable
4
PAD, BATTERY 2
FJ0-68221-30-00
Unavailable
5
SCREW
90149-05984-00
Unavailable
6
RID, BATTERY CASE
GA9-U8212-00-00
Unavailable
7
PAD, BATTERY 3
FJ0-68221-40-00
Unavailable
8
PAD, BATTERY 4
FJ0-68221-50-00
Unavailable
9
BAND, BATTERY CASE
FJ0-68228-00-00
Unavailable
10
END PLATE
FJ0-68229-00-00
Unavailable
11
BOLT, WING
90122-05909-00
Unavailable
12
. WASHER, PLAIN
92990-05200-00
Unavailable
13
NUT, FLANGE
95720-05300-00
Unavailable
14
YB16CLB YUASA BATTERY
YB1-6CLB0-00-00
Unavailable
15
HOSE, AIR VENT 5
FJ0-67856-40-00
Unavailable
16
CLIP
90467-08M10-00
Unavailable
17
CLAMP
90465-10098-00
Unavailable
18
CLIP, NYLON 14
90601-31402-00
Unavailable
19
SCREW, TAPPING
97780-40116-00
Unavailable
20
BAND
90601-20008-00
Unavailable
21
BAND (EU0)
90601-20009-00
Unavailable
