- Partiron
- OEM Parts
- Yamaha
- waverunner
- 1993
- WRA650RA (WAVE RUNNER III) 1993
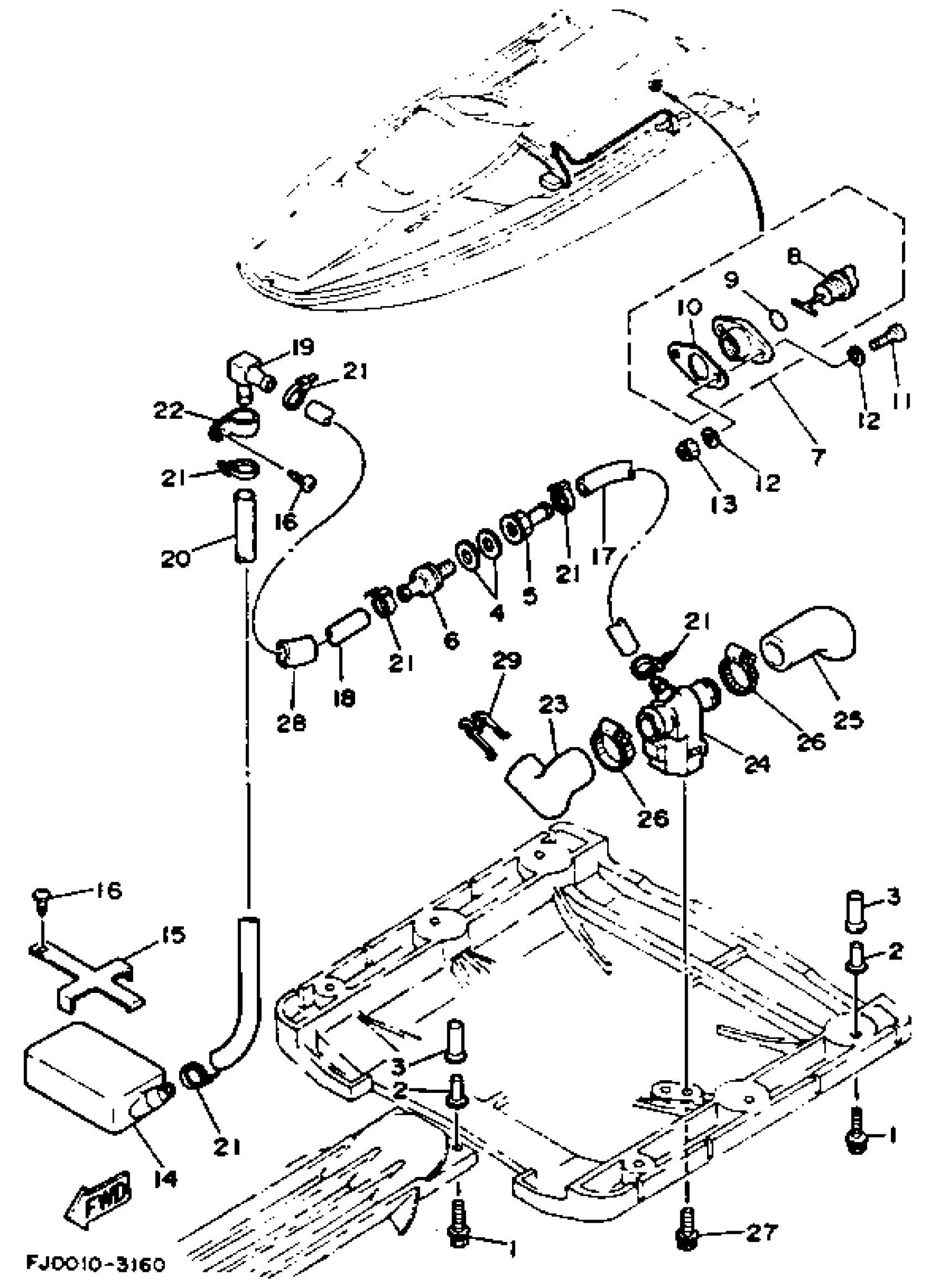
HULL - DECK 3
Yamaha WRA650RA (WAVE RUNNER III) 1993 HULL - DECK 3 Diagram
#
1
BOLT, WITH WASHER
90119-06896-00
Unavailable
2
NUT
90179-06931-00
Unavailable
3
CLING
90190-06014-00
Unavailable
4
GASKET
90430-13909-00
Unavailable
5
CONNECTION, THRU-HULL 1/4
90604-80759-00
Unavailable
6
CONNECTION, THRU-HULL 1/4
90604-80760-00
Unavailable
7
DRAIN PLUG ASSY
EU0-62280-00-00
Unavailable
8
. PLUG, DRAIN
EU0-62282-00-00
Unavailable
9
. O-RING
EU0-62283-00-00
Unavailable
10
. PACKING DRAIN (EU0)
EU0-62285-01-00
Unavailable
11
SCREW, PAN HEAD
98580-05020-00
Unavailable
12
. WASHER, PLAIN
92990-05200-00
Unavailable
13
NUT, FLANGE
95720-05300-00
Unavailable
15
BASE
FJ0-67618-00-00
Unavailable
16
SCREW, PANHEAD (97701-50515-00)
90149-059U1-00
Unavailable
17
HOSE
90445-14M11-00
Unavailable
18
HOSE (L1300)
90445-14M22-00
Unavailable
19
JOINT, HOSE
6K8-51162-00-00
Unavailable
20
HOSE
90445-14M03-00
Unavailable
21
CLAMP
90465-10098-00
Unavailable
22
CLIP, NYLON 17
90600-91728-00
Unavailable
23
HOSE, PLASHER
6R8-51161-00-00
Unavailable
24
BODY, VALVE
6K8-7610K-01-00
Unavailable
25
HOSE SUCTION
6K8-51141-00-00
Unavailable
26
HOSE CLAMP ASSY
90450-32097-00
Unavailable
27
BOLT, WITH WASHER
90119-06901-00
Unavailable
28
PACKING, HOSE 2
FJ0-67578-00-00
Unavailable
29
SCREEN
6R8-51384-00-00
Unavailable
