Partiron

Yamaha WRA650R (WAVE RUNNER III) 1993 HULL - DECK 2 Diagram

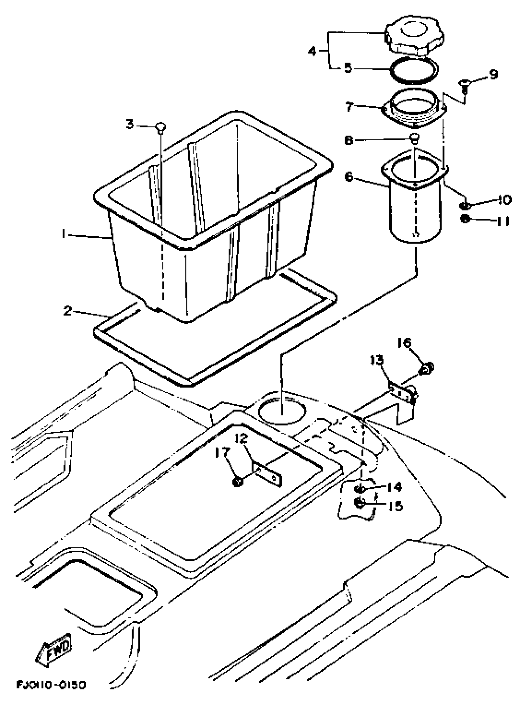
#

Description
Price

1

LOCKER, UNDER 2

GA9-U4742-00-00

Unavailable

2

PACKING 46

FJ0-62663-09-00

Unavailable

3

PLUG(EU0)

90605-50201-00

Unavailable

4

CAP, CASE ASSEMBLY

FJ0-65902-01-00

Unavailable

5

PACKING, CASE

FJ0-65913-01-00

Unavailable

6

CASE 1

FJ0-65911-01-00

Unavailable

7

BODY, CASE 2

FJ0-65921-01-00

Unavailable

8

PLUG(EU0)

90605-50201-00

Unavailable

9

SCREW

90149-05966-00

Unavailable

10

. WASHER, PLAIN

92990-05200-00

Unavailable

11

. NUT, M5 X 08 NYLON LOCK

95780-05300-00

Unavailable

12

PLATE

FJ0-61639-00-00

Unavailable

13

CLEAT

FJ0-61638-00-00

Unavailable

14

WASHER 6154275100

90201-08103-00

Unavailable

15

. NUT, SELF-LOCKING

95720-08300-00

Unavailable

16

BOLT, WITH WASHER

90119-06901-00

Unavailable

17

NUT, SELF-LOCKING

95720-06300-00

Unavailable