Yamaha WR650R (WAVERUNNER LX) FK7 1993 FUEL TANK Diagram
#
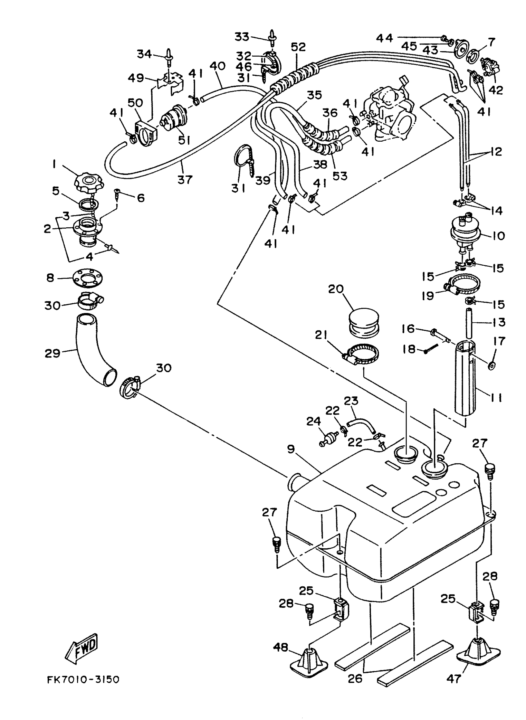
1
CAP, FUEL FILLER
EU0-67831-32-00
Unavailable
2
SOCKET
EU0-W6783-30-00
Unavailable
3
. CHAIN BALL
EU0-67835-00-00
Unavailable
4
. RIVET, BLIND
90267-40935-00
Unavailable
5
PACKING 1
EU0-67832-00-00
Unavailable
6
SCREW, FLAT HEAD TAPPING
EU0-U7869-00-00
Unavailable
7
NUT
90170-22M11-00
Unavailable
8
PACKING, FUEL FILLER
EU0-67834-00-00
Unavailable
9
TANK, FUEL
EU0-U7711-01-00
Unavailable
10
PIPE, JOINT
FJ0-67713-01-00
Unavailable
11
SLEEVE 1
EU0-6771H-00-00
Unavailable
12
PIPE, SUCTION
EU0-6771D-00-00
Unavailable
14
BAND, HOSE 11
90601-11062-00
Unavailable
16
PIN (FJ0)
91790-05040-00
Unavailable
17
WASHER, PLAIN (646)
92990-05600-00
Unavailable
18
PIN, COTTER
901490-16010-00
Unavailable
19
BAND, HOSE 62
90601-162U5-00
Unavailable
20
COVER
FN8-6771K-00-00
Unavailable
21
BAND, HOSE 62
90601-162U5-00
Unavailable
22
CLAMP
90465-10098-00
Unavailable
23
HOSE, AIR VENT 1
EU0-67856-00-00
Unavailable
24
CHECK VALVE
EU0-67767-31-00
Unavailable
25
FIX FUEL TANK
EU0-67777-03-00
Unavailable
26
MAT 2
EU0-U7593-30-00
Unavailable
27
BOLT, WITH WASHER
90119-08907-00
Unavailable
28
BOLT, WITH WASHER
90119-08903-00
Unavailable
29
HOSE, FILTER
EU0-U7884-00-00
Unavailable
30
BAND, HOSE 55
90601-155U4-00
Unavailable
31
BAND (EU0)
90601-20009-00
Unavailable
32
CLAMP COMP (EU0)
90600-91736-00
Unavailable
33
RIVET, BLIND
90267-489U7-00
Unavailable
34
RIVET, BLIND(EU0,USA)
90267-489U9-00
Unavailable
35
HOSE
90445-10M58-00
Unavailable
36
PLUG
90699-34100-00
Unavailable
37
HOSE
90445-10M22-00
Unavailable
38
HOSE (L1700)
90445-10M87-00
Unavailable
39
HOSE (L1700)
90445-10M87-00
Unavailable
40
HOSE (L1040)
90445-10MA9-00
Unavailable
41
CLAMP
90465-10098-00
Unavailable
42
FUEL COCK ASSY 1
6K8-24500-03-00
Unavailable
43
LEVER, COCK
6K8-24524-10-00
Unavailable
44
SCREW, PAN HEAD (E56)
98580-04010-00
Unavailable
45
WASHER, PLAIN (646)
92990-04600-00
Unavailable
46
. WASHER, PLAIN
90201-05925-00
Unavailable
47
BASE, FUEL TANK 2
EU0-67745-31-00
Unavailable
48
BASE, FUEL TANK 1
EU0-67745-01-00
Unavailable
49
BRACKET, FUEL FILTER
FN8-67816-00-00
Unavailable
50
HOLDER
EU0-67817-00-00
Unavailable
51
FILTER ASSY
6K8-24560-21-00
Unavailable
52
TUBE
FK7-67731-00-00
Unavailable
53
HOSE(6TC)
90446-14M51-00
Unavailable
