- Partiron
- OEM Parts
- Yamaha
- waverunner
- 1993
- WR650R (WAVERUNNER LX) FK7 1993
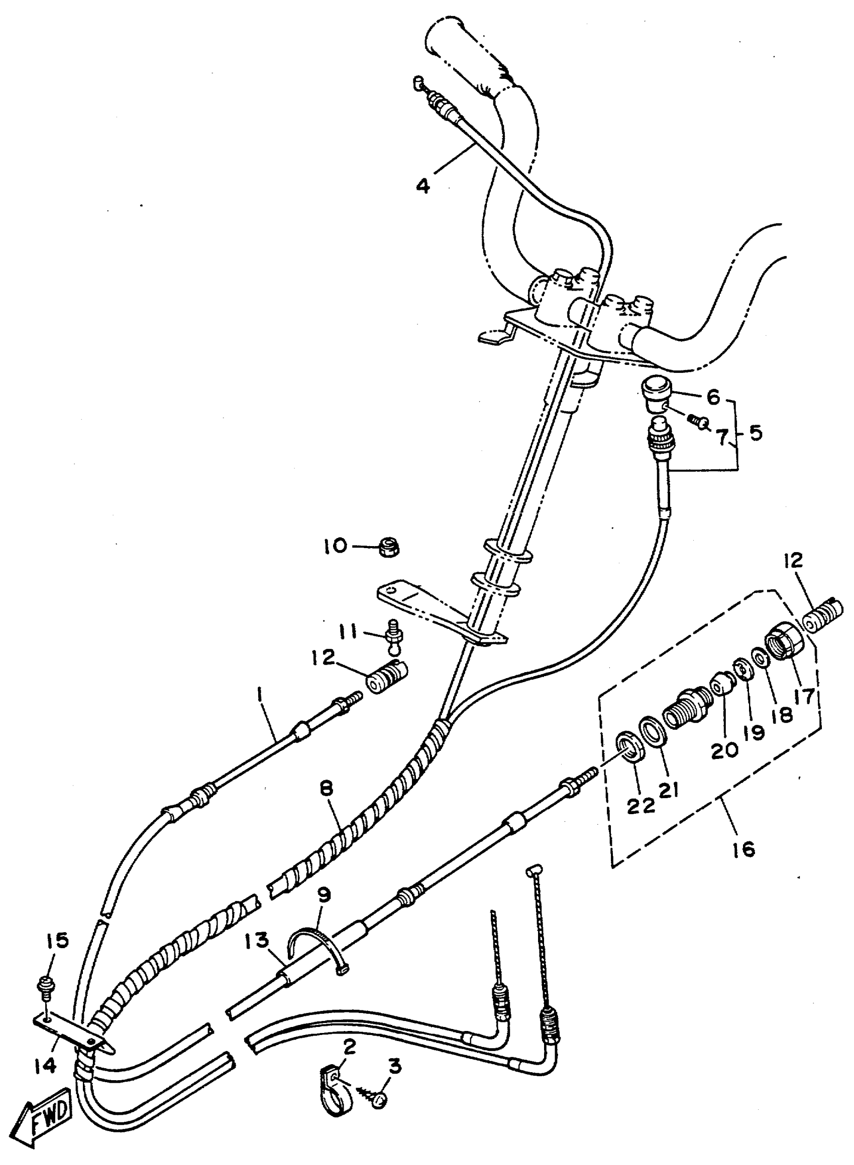
CONTROL CABLE
Yamaha WR650R (WAVERUNNER LX) FK7 1993 CONTROL CABLE Diagram
#
Description
Price
1
CABLE, STEERING
EU0-U1481-00-00
Unavailable
2
CLIP, NYLON 17
90600-91728-00
Unavailable
4
CABLE, THROTTLE 1
EU0-U7252-01-00
Unavailable
5
CABLE CHOKE
EU0-U7242-01-00
Unavailable
6
. KNOB
EU0-67243-00-00
Unavailable
7
. SCREW
90149-03930-00
Unavailable
8
SPIRAL TUBE
90699-U1100-00
Unavailable
9
BAND
90601-200U1-00
Unavailable
10
NUT, FLANGE
95780-06300-00
Unavailable
11
SHAFT, JOINT BALL
EU0-U1461-10-00
Unavailable
12
SHAFT,JOINT BALL
EU0-61461-30-00
Unavailable
13
PIPE SLEEVE
EU0-61474-00-00
Unavailable
14
GUIDE, CABLE
EU0-61557-01-00
Unavailable
15
SCREW, W/WASHER
97680-04316-00
Unavailable
16
CONNECTOR, CABLE
EU0-67267-00-00
Unavailable
17
. CAP
EU0-62694-00-00
Unavailable
18
. WASHER 30
EU0-61446-00-00
Unavailable
19
. STOPPER
EU0-61486-00-00
Unavailable
20
. SEAL, PIPE 30
EU0-61435-00-00
Unavailable
21
. PACKING (C)
EU0-61438-00-00
Unavailable
22
. NUT, DRAIN 1
EU0-62241-30-00
Unavailable
