Partiron

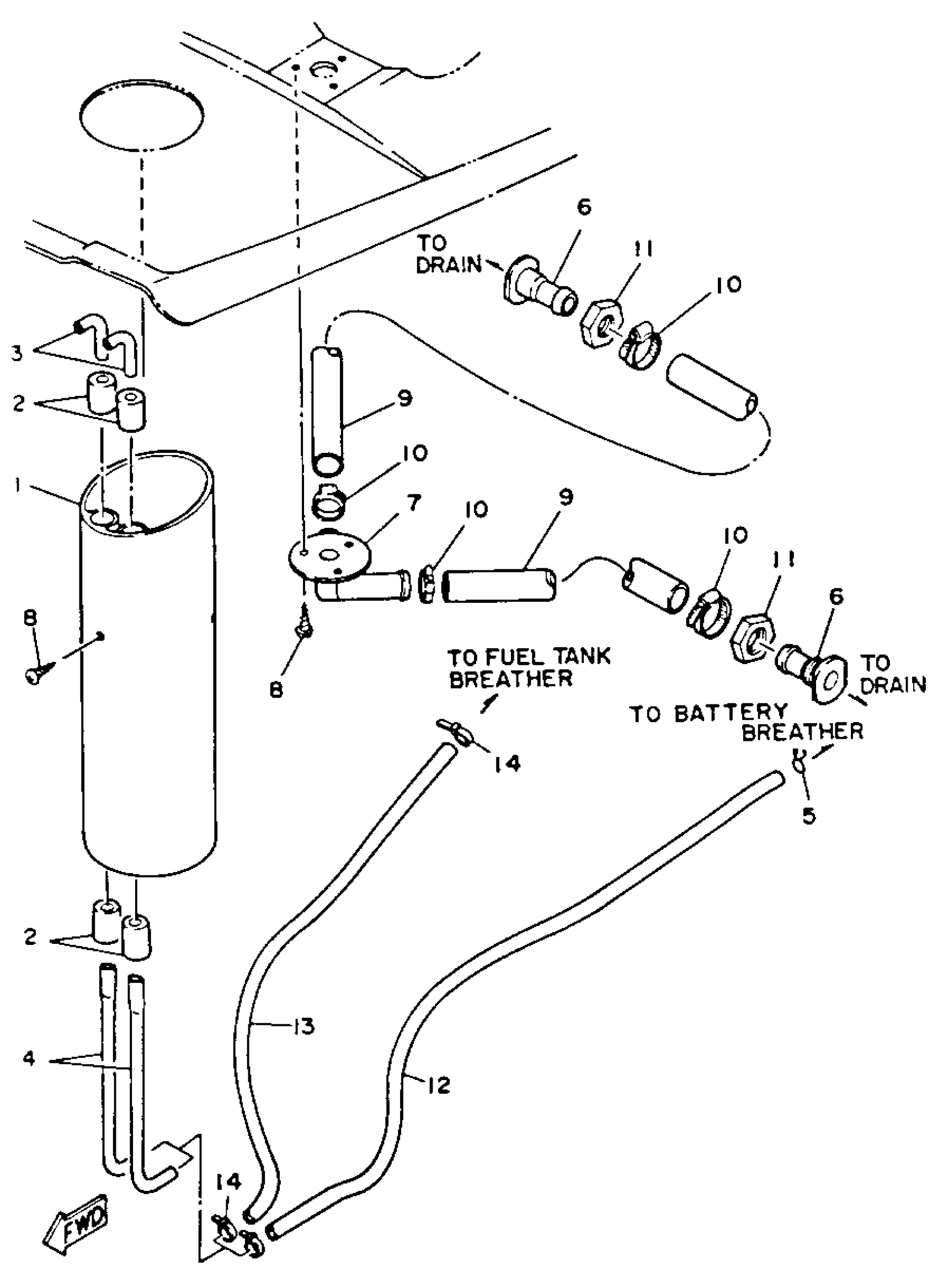
Yamaha WR650Q (WAVE RUNNER LX) 1992 VENTILATION Diagram

#

Description
Price

1

PIPE, VENTILATION

EU0-U2149-40-00

Unavailable

2

CAP

EU0-62155-00-00

Unavailable

3

ELBOW VENT 11

EU0-62156-01-00

Unavailable

4

ELBOW VENT 11

EU0-62156-01-00

Unavailable

5

CLIP

90467-08M10-00

Unavailable

6

BODY, DRAIN 1

EU0-62241-00-00

Unavailable

7

DRAIN 2

EU0-62242-00-00

Unavailable

8

SCREW, OVAL HEAD TAPPING

97780-40112-00

Unavailable

9

HOSE 1

90669-03030-00

Unavailable

10

BAND HOSE

90601-12538-00

Unavailable

11

. NUT, DRAIN 1

EU0-62241-30-00

Unavailable

12

HOSE

90699-50085-00

Unavailable

13

HOSE, AIRVENT 1

EU0-67856-30-00

Unavailable

14

CLAMP

90465-10098-00

Unavailable