- Partiron
- OEM Parts
- Yamaha
- waverunner
- 1992
- WR650Q (WAVE RUNNER LX) 1992
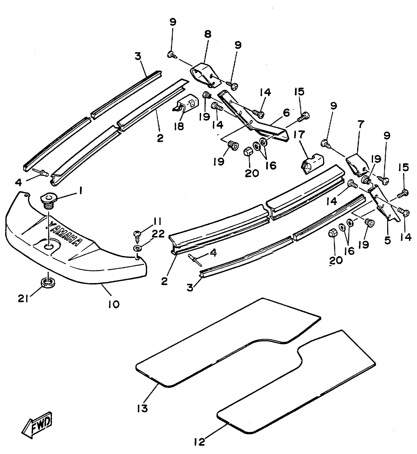
GUNWALE MAT
Yamaha WR650Q (WAVE RUNNER LX) 1992 GUNWALE MAT Diagram
#
Description
Price
1
ROPE HOLE
EU0-61651-30-00
Unavailable
2
GUNWALE, SIDE
EU0-U2512-41-00
Unavailable
3
GUNWALE 36 (90697-25025)
90697-37024-00
Unavailable
4
RIVET, BLIND
90267-48932-00
Unavailable
5
GUNWALE, STERN (LH)
EU0-62513-14-00
Unavailable
6
GUNWALE, STERN (RH)
EU0-62513-24-00
Unavailable
7
CAP, GUNWALE STRN.L
EU0-62574-12-00
Unavailable
8
CAP, GUNWALE STRN.R
EU0-62574-22-00
Unavailable
9
SCREW
90149-05935-00
Unavailable
10
GUNWALE, BOW
EU0-62511-30-00
Unavailable
11
SCREW
90149-05937-00
Unavailable
12
MAT, UPPER (LH)
EU0-63581-V1-00
Unavailable
13
MAT, UPPER (RH)
EU0-63581-W1-00
Unavailable
14
SCREW
90149-05933-00
Unavailable
15
SCREW
90149-05934-00
Unavailable
16
. WASHER, PLAIN
92990-05200-00
Unavailable
17
GUNWALE, INNER (LH)
EU0-62519-V0-00
Unavailable
18
INNER GUNWALE (RH)
EU0-62519-W0-00
Unavailable
19
NUT
90179-05924-00
Unavailable
20
.. NUT
95380-05800-00
Unavailable
21
NUT
EU0-61652-00-00
Unavailable
22
WASHER, PLATE
90201-05800-00
Unavailable
