- Partiron
- OEM Parts
- Yamaha
- waverunner
- 1991
- WR650P 1991
FUEL TANK
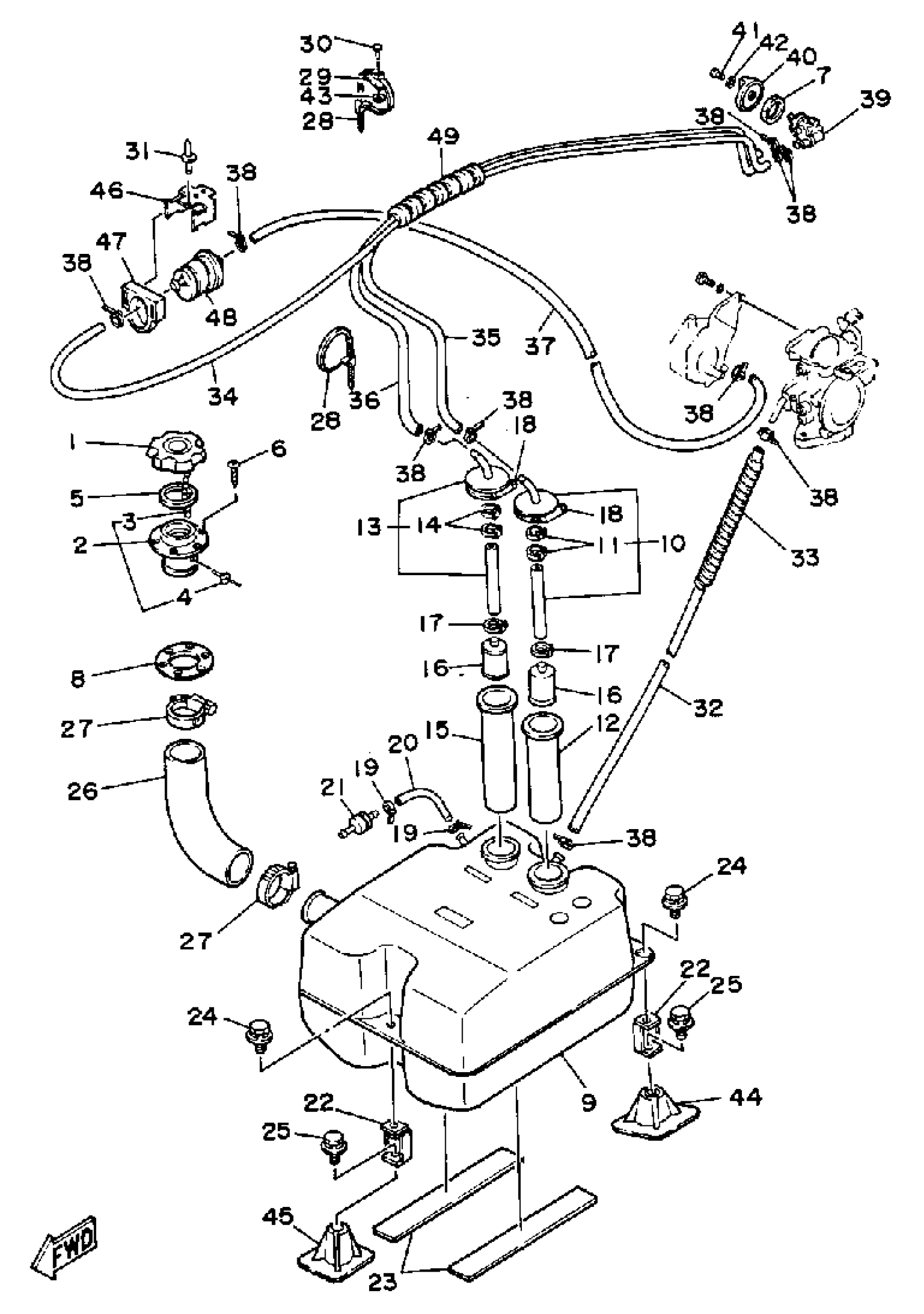
Yamaha WR650P 1991 FUEL TANK Diagram
#
1
CAP, FUEL FILLER
EU0-67831-32-00
Unavailable
2
SOCKET
EU0-W6783-01-00
Unavailable
3
. CHAIN BALL
EU0-67835-00-00
Unavailable
4
. RIVET, BLIND
90267-40935-00
Unavailable
5
PACKING 1
EU0-67832-00-00
Unavailable
6
SCREW, FLAT HEAD TAPPING
EU0-U7869-00-00
Unavailable
7
NUT
90170-22M11-00
Unavailable
8
PACKING, FUEL FILLER
EU0-67834-00-00
Unavailable
9
TANK, FUEL
EU0-U7711-01-00
Unavailable
10
PIPE, SUCTION 1
EU0-24335-31-00
Unavailable
11
BAND, HOSE
90601-11052-00
Unavailable
12
PIPE, SUCTION 2
8V0-24336-00-00
Unavailable
13
PIPE, SUCTION 1
EU0-24335-01-00
Unavailable
14
BAND, HOSE
90601-11052-00
Unavailable
15
PIPE, SUCTUIN
813-24336-00-00
Unavailable
16
FILTER ASSY
8H5-24560-00-00
Unavailable
17
BAND, HOSE
90601-11052-00
Unavailable
18
BAND, HOSE 62
90601-162U5-00
Unavailable
19
CLAMP
90465-10098-00
Unavailable
20
HOSE, AIR VENT 1
EU0-67856-00-00
Unavailable
21
CHECK VALVE
EU0-67767-31-00
Unavailable
22
FIX FUEL TANK
EU0-67777-03-00
Unavailable
23
MAT 2
EU0-U7593-30-00
Unavailable
24
BOLT, WITH WASHER
90119-08907-00
Unavailable
25
BOLT, WITH WASHER
90119-08903-00
Unavailable
26
HOSE, FUEL FILLER
EU0-U7844-00-00
Unavailable
27
BAND, HOSE 55
90601-155U4-00
Unavailable
28
BAND (EU0)
90601-20009-00
Unavailable
29
CLAMP
(90600-92527-00)
Unavailable
30
RIVET, BLIND(EU0,USA)
90267-489U9-00
Unavailable
31
RIVET, BLIND
90267-48934-00
Unavailable
32
HOSE (L1040)
90445-10MA9-00
Unavailable
33
PLUG
90699-34100-00
Unavailable
34
HOSE
90445-10M22-00
Unavailable
35
HOSE
90445-10M24-00
Unavailable
36
HOSE (L1700)
90445-10M87-00
Unavailable
37
HOSE (L1700)
90445-10M87-00
Unavailable
38
CLAMP
90465-10098-00
Unavailable
39
FUEL COCK ASSY 1
6K8-24500-03-00
Unavailable
40
LEVER, COCK
6K8-24524-10-00
Unavailable
41
SCREW, PAN HEAD (E56)
98580-04010-00
Unavailable
42
WASHER, PLAIN (646)
92990-04600-00
Unavailable
43
. WASHER, PLAIN
90201-05925-00
Unavailable
44
BASE, FUEL TANK 2
EU0-67745-31-00
Unavailable
45
BASE, FUEL TANK 1
EU0-67745-01-00
Unavailable
46
BRACKET, FUEL FILTER
FN8-67816-00-00
Unavailable
47
HOLDER
EU0-67817-00-00
Unavailable
48
FILTER ASSY
6K8-24560-21-00
Unavailable
49
TUBE
FK7-67731-00-00
Unavailable
