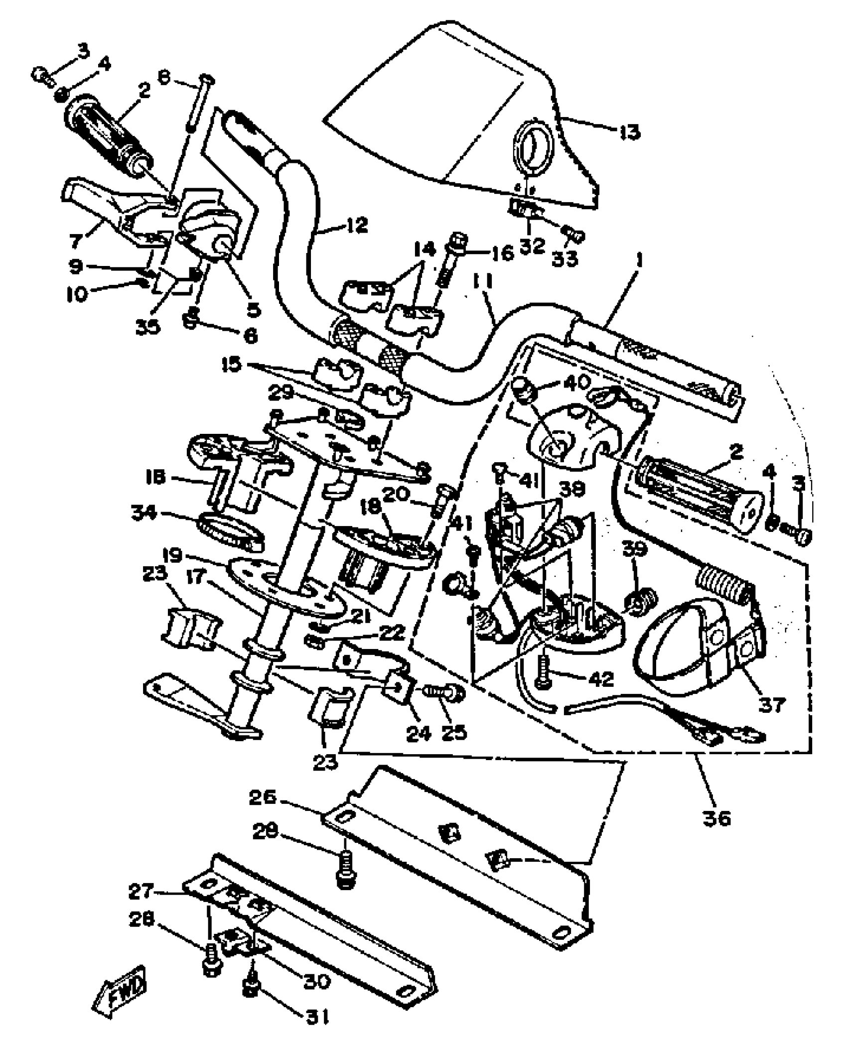
Yamaha WR650D (WAVE RUNNER LX) 1990 STEERING Diagram
#
1
HANDLE
EU0-U1552-00-00
Unavailable
2
GRIP, HANDLE
EU0-26241-01-00
Unavailable
3
SCREW, PAN HEAD
98580-05020-00
Unavailable
5
BRACKET
EU0-67254-01-00
Unavailable
6
SCREW, WITH WASHER
90159-05900-00
Unavailable
7
LEVER, THROTTLE
81E-42138-00-00
Unavailable
8
PIN
EU0-61522-01-00
Unavailable
10
CIRCLIP (EU0)
99080-04600-00
Unavailable
11
PROTECTOR TUBE LH
EU0-61489-11-00
Unavailable
12
PROTECTOR TUBE RH
EU0-61489-21-00
Unavailable
13
PAD, STEERING
EU0-61421-42-00
Unavailable
14
HOLDER, HANDLE UPPER
EU0-23814-02-00
Unavailable
15
HOLDER, HANDLE UPPER
EU0-23814-32-00
Unavailable
16
BOLT, WITH WASHER
90119-08925-00
Unavailable
17
COLUMN, STEERING
EU0-61541-01-00
Unavailable
18
BEARING, COLUMN
EU0-61417-00-00
Unavailable
19
SEAL, RUBBER
EU0-61439-30-00
Unavailable
20
BOLT(JF7)
97080-06030-00
Unavailable
22
NUT, FLANGE
95780-06300-00
Unavailable
23
BEARING, STEERING
8F3-23812-00-00
Unavailable
24
JOINT, BEARING
EU0-61588-00-00
Unavailable
25
BOLT, WITH WASHER
90119-08903-00
Unavailable
26
BRACKET, BEARING
EU0-61433-01-00
Unavailable
27
BRACKET, STOPPER CABLE
EU0-61467-01-00
Unavailable
28
BOLT, WITH WASHER
90119-08903-00
Unavailable
29
PACKING, STEERING COLUMN
EU0-61469-00-00
Unavailable
30
STOPPER CABLE
EU0-U1468-00-00
Unavailable
31
BOLT, WITH WASHER
90119-06926-00
Unavailable
32
LINER
EU0-61525-00-00
Unavailable
33
PLATE, STEERING PAD
EU0-61422-40-00
Unavailable
34
SCREW
90149-04940-00
Unavailable
35
SPRING
EU0-67256-00-00
Unavailable
36
SWITCH BOX ASSY
GA7-68310-01-00
Unavailable
37
. LANYARD, STOP SWITCH
EW2-68348-00-00
Unavailable
38
SWITCH BOX ASSY
GA7-68310-01-00
Unavailable
39
. STOP BUTTON COMP
FK7-68312-02-00
Unavailable
40
. START BUTTON COMP
FK7-68313-02-00
Unavailable
41
SCREW, PAN HEAD (J10)
98580-03008-00
Unavailable
42
SCREW, PANHEAD (A93)
98580-05525-00
Unavailable
