- Partiron
- OEM Parts
- Yamaha
- motorcycle
- 1993
- WR500ZE (WR500Z) 1993
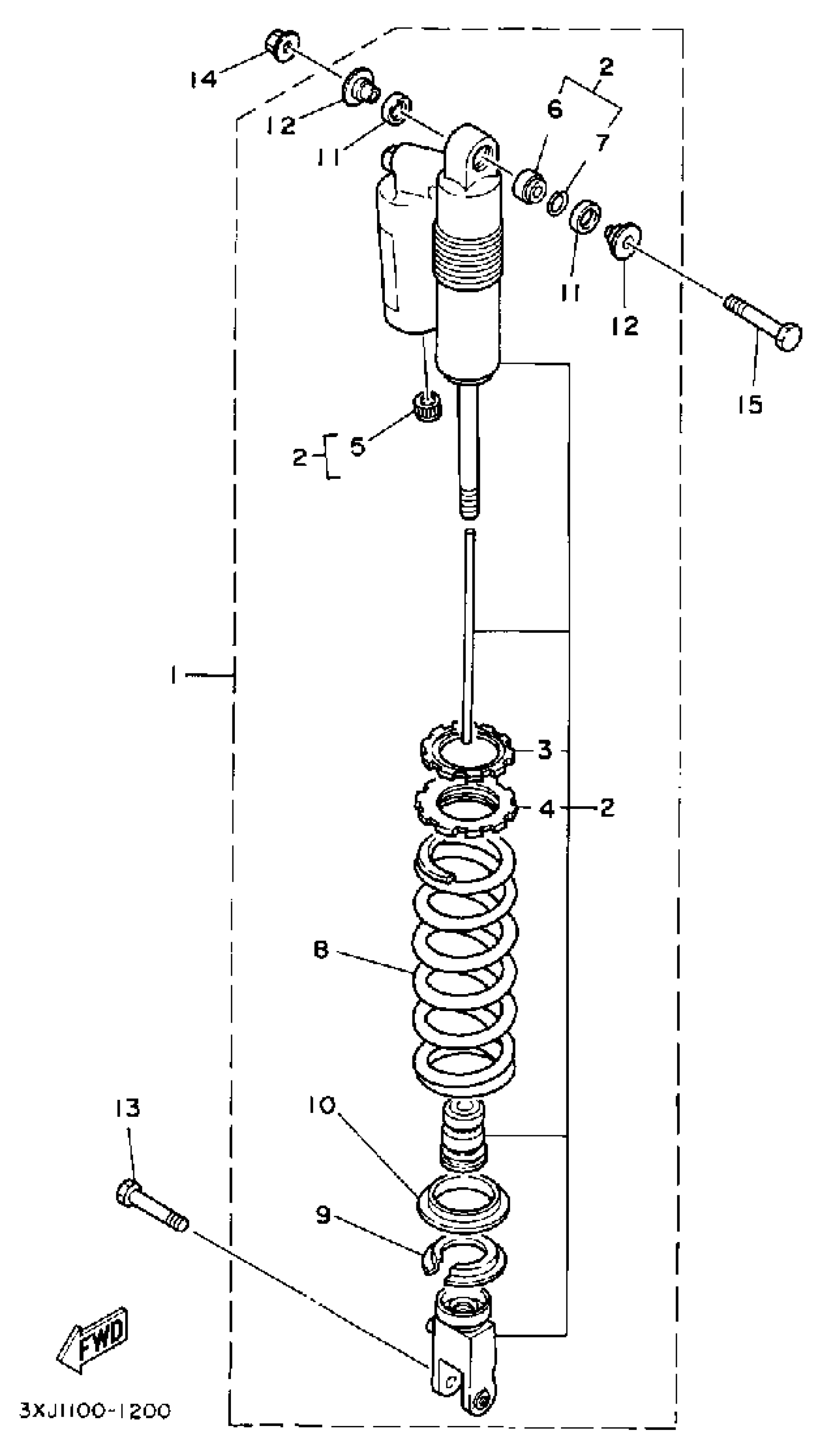
REAR SHOCKS
Yamaha WR500ZE (WR500Z) 1993 REAR SHOCKS Diagram
#
Description
Price
1
SHK/ABS ASSEMBLY, REAR
4AA-22210-00-00
Unavailable
2
. DAMPER, SUB ASSEMBLY
4AA-22201-00-00
Unavailable
5
.. CAP, AIR VALVE
24M-23184-00-00
Unavailable
6
.. BUSH, REAR SHOCK ABSORBER
3JD-22216-00-00
Unavailable
7
.. RING, STOP
43M-22274-00-00
Unavailable
8
. SPRING (K=48) (K=48)
4AA-22212-00-00
Unavailable
10
. GUIDE, SPRING 2
3JD-22224-00-00
Unavailable
12
. COLLAR, DISTANCE
3XJ-22253-00-00
Unavailable
15
BOLT 1
3SP-22241-00-00
Unavailable
