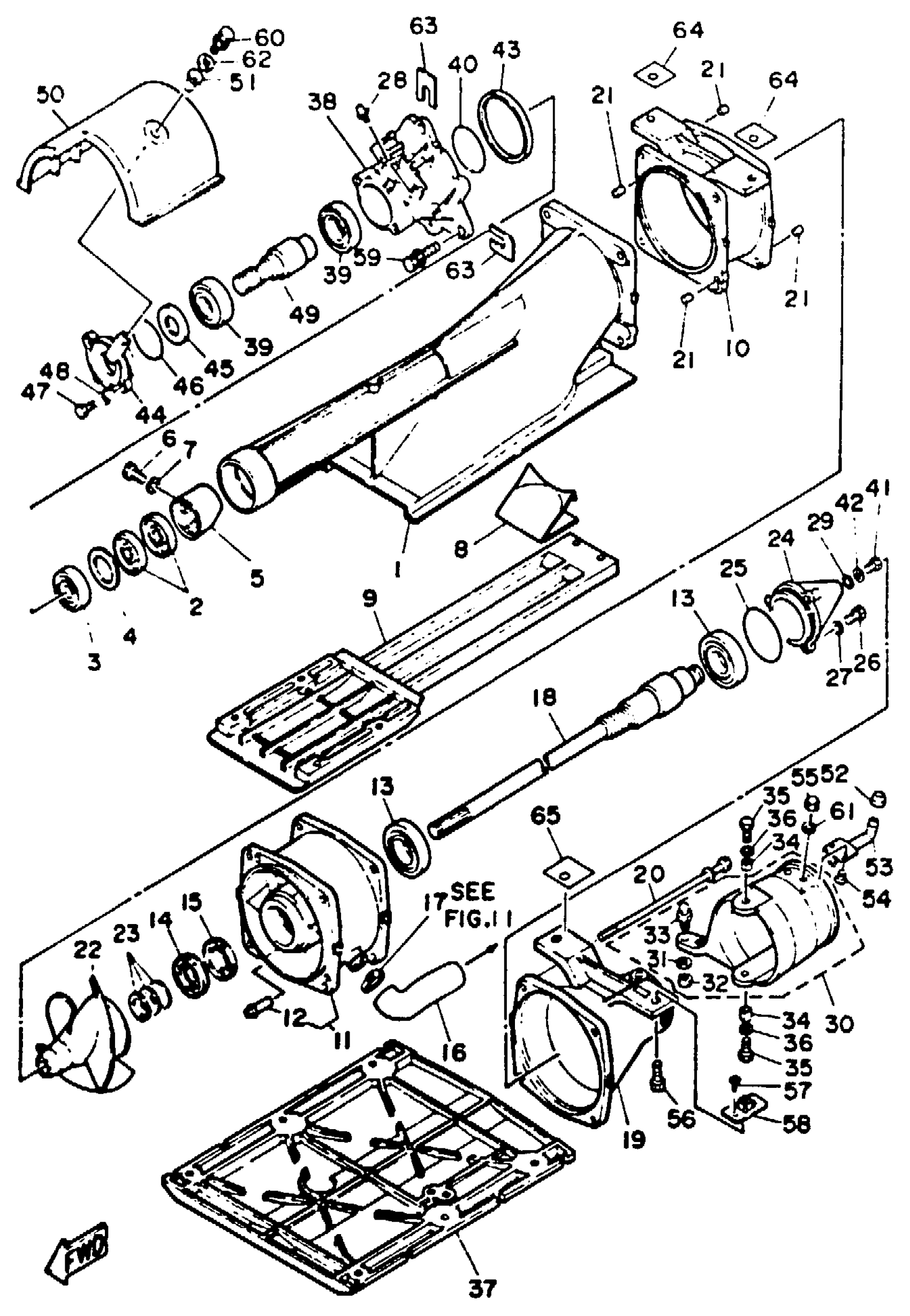
Yamaha WR500Q (WAVE RUNNER) 1992 JET UNIT Diagram
#
1
DUCT, INTAKE
6K8-51311-00-94
Unavailable
2
. OIL SEAL, S-TYPE
93101-17M31-00
Unavailable
4
SHIM (T:0.90MM)
676-45567-20-00
Unavailable
5
SPACER
6K8-51348-00-94
Unavailable
6
BOLT(7U8)
97080-06020-00
Unavailable
8
PLATE 3
6K8-51347-00-8S
Unavailable
9
SCREEN, INTAKE
6K8-51333-00-8S
Unavailable
10
HOUSING, IMPELLER
6K8-51312-00-8S
Unavailable
11
DUCT, IMPELLER
99999-03840-00
Unavailable
12
. PIPE
6K8-51385-00-00
Unavailable
13
BEARING
93306-206U6-00
Unavailable
14
. OIL SEAL, SW-TYPE
93103-30M00-00
Unavailable
15
. OIL SEAL, S-TYPE
93101-30M32-00
Unavailable
16
HOSE, SPLASHER
6K8-51161-10-00
Unavailable
17
HOSE CLAMP ASSY
90450-32097-00
Unavailable
18
SHAFT, DRIVE
6K8-45511-01-00
Unavailable
19
NOZZULE
6K8-51318-00-9M
Unavailable
20
BOLT, WITH WASHER
90119-06M33-00
Unavailable
21
PIN, DOWEL (614)
93606-12019-00
Unavailable
22
IMPELLER
6K8-51321-00-94
Unavailable
23
SHIM (T=0.1)
6K8-45567-00-01
Unavailable
23
SHIM (T=0.3)
6K8-45567-00-03
Unavailable
23
SHIM (T=0.5)
6K8-45567-00-05
Unavailable
23
SHIM (T=1.0)
6K8-45567-00-10
Unavailable
24
CAP
6K8-51326-00-94
Unavailable
25
. O-RING
93210-57M09-00
Unavailable
26
BOLT, HEXAGON DEEP RECESS
97D95-06016-00
Unavailable
28
NIPPLE, GREASE
93700-06M03-00
Unavailable
29
. GASKET
90430-06M03-00
Unavailable
30
NOZZLE, JET OUTPUT
6K8-51313-00-00
Unavailable
31
WASHER, PLATE
90201-06M02-00
Unavailable
32
NUT(650)
95380-06700-00
Unavailable
33
. BOLT, JOINT
6R7-42316-00-00
Unavailable
34
COLLAR(47X)
90387-060G7-00
Unavailable
35
BOLT(7U8)
97080-06020-00
Unavailable
37
PLATE 2
EU0-62731-00-00
Unavailable
38
HOUSING, BEARING
6K8-45331-02-00
Unavailable
39
BEARING (6K8)
93306-205U1-00
Unavailable
40
. O-RING
93210-52454-00
Unavailable
41
BOLT(GH1)
97080-06012-00
Unavailable
43
SEAL
6K8-45127-00-00
Unavailable
44
PLATE
6K8-51332-00-00
Unavailable
45
OIL SEAL(6R7)
93101-25M50-00
Unavailable
46
. O-RING
93210-46M16-00
Unavailable
47
BOLT(7U8)
97080-06020-00
Unavailable
49
SHAFT, COUPLER
6K8-51323-02-00
Unavailable
50
COVER
6K8-51381-01-00
Unavailable
51
COLLAR
90387-06M60-00
Unavailable
52
CAP, SPOUT
6R8-62695-00-00
Unavailable
53
SPOUT
EU0-62693-02-00
Unavailable
54
. SCREW, FLAT HEAD
98780-05016-00
Unavailable
55
.. NUT
95380-05800-00
Unavailable
56
BOLT
90119-10906-00
Unavailable
57
SCREW, TAPPING (97780-40108-00)
97780-40508-00
Unavailable
58
NUT
90179-10919-00
Unavailable
59
BOLT, WITH WASHER
90119-08907-00
Unavailable
60
BOLT, WITH WASHER
90119-06900-00
Unavailable
61
. WASHER, PLAIN
92990-05200-00
Unavailable
62
WASHER, PLATE
90202-10024-00
Unavailable
63
SHIM (T=0.5)
EU0-67354-C0-00
Unavailable
63
SHIM (T=0.3) (EU0-67354-30-03)
EU0-U7354-30-03
Unavailable
63
SHIM (T=1.0) (EU0-67354-30-10)
EU0-U7354-30-10
Unavailable
64
SHIM (T=1.5) (T=1.5)
EU0-67354-40-00
Unavailable
65
SHIM (T=2.0) (T=2.0)
EU0-67354-50-00
Unavailable
