- Partiron
- OEM Parts
- Yamaha
- waverunner
- 1992
- WR500Q (WAVE RUNNER) 1992
HULL - DECK 2
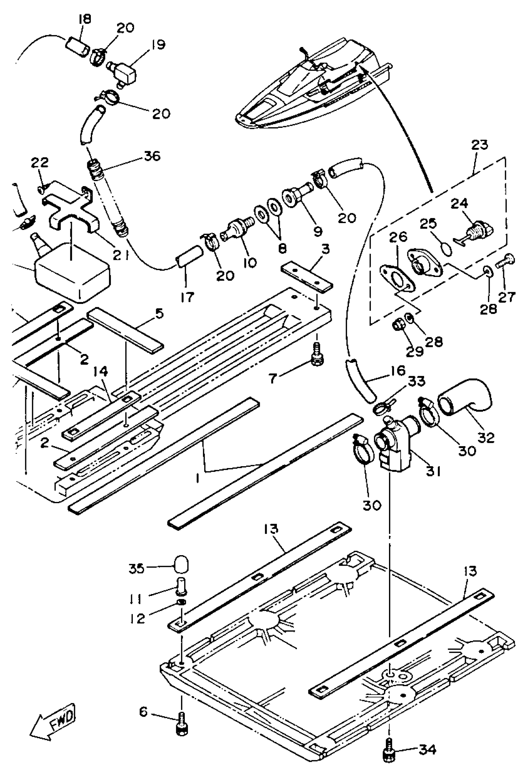
Yamaha WR500Q (WAVE RUNNER) 1992 HULL - DECK 2 Diagram
#
1
PACKING, 3
EU0-U2284-01-00
Unavailable
2
PACKING 4
EU0-U2284-31-00
Unavailable
3
PACKING 5
EU0-U2284-41-00
Unavailable
4
PACKING 6
EU0-U2284-51-00
Unavailable
5
PACKING 7
EU0-U2284-61-00
Unavailable
6
BOLT, WITH WASHER
90119-06896-00
Unavailable
7
BOLT, WITH WASHER
90119-06900-00
Unavailable
8
GASKET
90430-13909-00
Unavailable
9
CONNECTION, THRU-HULL 1/4
90604-80759-00
Unavailable
10
CONNECTION, THRU-HULL 1/4
90604-80760-00
Unavailable
11
NUT, POP
90179-06935-00
Unavailable
12
WASHER
90201-09924-00
Unavailable
13
PLATE, STOPPER A (A)
EU0-67367-00-00
Unavailable
14
PLATE, STOPPER B (B)
EU0-67367-30-00
Unavailable
16
HOSE (L240)
90445-14M05-00
Unavailable
17
HOSE (L240)
90445-14M05-00
Unavailable
18
HOSE (L450)
90445-14M04-00
Unavailable
19
JOINT, HOSE
6K8-51162-00-00
Unavailable
20
CLAMP
90465-10098-00
Unavailable
21
BASE
EU0-67618-00-00
Unavailable
22
SCREW, PANHEAD (97701-50515-00)
90149-059U1-00
Unavailable
23
DRAIN PLUG ASSY
EU0-62280-00-00
Unavailable
24
. PLUG, DRAIN
EU0-62282-00-00
Unavailable
25
. O-RING
EU0-62283-00-00
Unavailable
26
. PACKING DRAIN (EU0)
EU0-62285-01-00
Unavailable
27
SCREW, PAN HEAD
98580-05020-00
Unavailable
28
. WASHER, PLAIN
92990-05200-00
Unavailable
29
. NUT, M5 X 08 NYLON LOCK
95780-05300-00
Unavailable
30
HOSE CLAMP ASSY
90450-32097-00
Unavailable
31
BODY, VALVE
6K8-7610K-01-00
Unavailable
32
HOSE SUCTION
6K8-51141-00-00
Unavailable
33
CLAMP
90465-10098-00
Unavailable
34
BOLT, WITH WASHER
90119-06901-00
Unavailable
35
CLING
90190-06013-00
Unavailable
36
TUBE
EU0-67731-00-00
Unavailable
