- Partiron
- OEM Parts
- Yamaha
- waverunner
- 1992
- WR500Q (WAVE RUNNER) 1992
GRAPHIC - TOOL
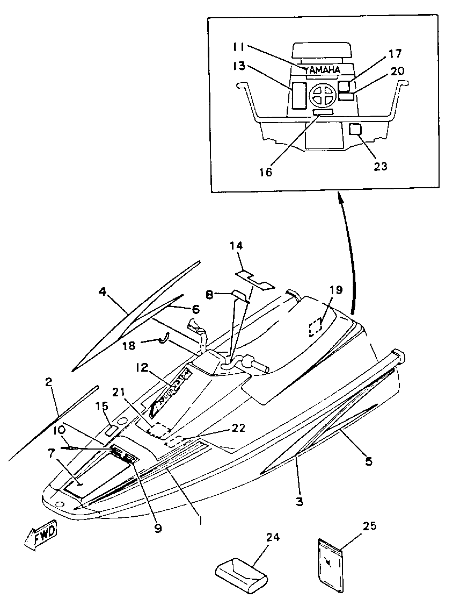
Yamaha WR500Q (WAVE RUNNER) 1992 GRAPHIC - TOOL Diagram
#
Description
Price
1
GRAPHIC A (L.H)
EU0-64173-30-00
Unavailable
2
GRAPHIC A (R.H)
EU0-64173-40-00
Unavailable
3
GRAPHIC, B (L.H)
EU0-6417L-10-00
Unavailable
4
GRAPHIC, B (R.H)
EU0-6417L-20-00
Unavailable
5
GRAPHIC, B (L.H)
EU0-6417L-30-00
Unavailable
6
GRAPHIC, B (R.H)
EU0-6417L-40-00
Unavailable
7
GRAPHIC D
EU0-64194-40-00
Unavailable
8
PLATE A
EU0-64953-60-00
Unavailable
9
PLATE C
EU0-6495C-00-00
Unavailable
10
RIVET, SPEC''L SHAPE
90269-04921-00
Unavailable
11
MARK, YAMAHA A
EU0-64114-00-00
Unavailable
12
EMBLEM A
EU0-64121-40-00
Unavailable
13
LABEL, WARNING
EU0-64161-01-00
Unavailable
14
LABEL, WARNING 2
EU0-64161-30-00
Unavailable
15
UNAVAILABLE IN PRICE BOOK (EW2-64161-00-00)
EW2-U4168-00-00
Unavailable
16
LABEL, CAUTION 4
EU0-64183-50-00
Unavailable
17
LABEL,CAUTION
GJ3-U411A-00-00
Unavailable
18
LABEL, CAUTION 6
EU0-64183-70-00
Unavailable
19
LABEL,CAUTION
GJ3-U411A-00-00
Unavailable
20
LABEL, CAUTION 8
FJ0-64183-90-00
Unavailable
21
UNAVAILABLE IN PRICE BOOK (EW2-64183-90-00)
EU0-U1488-00-00
Unavailable
22
LABEL, CAUTION
EU0-64183-N0-00
Unavailable
23
LABEL, RIGHTING
EU0-64188-00-00
Unavailable
24
TOOL SET
EU0-65986-13-00
Unavailable
25
BAG, VINYL
EU0-65901-03-00
Unavailable
