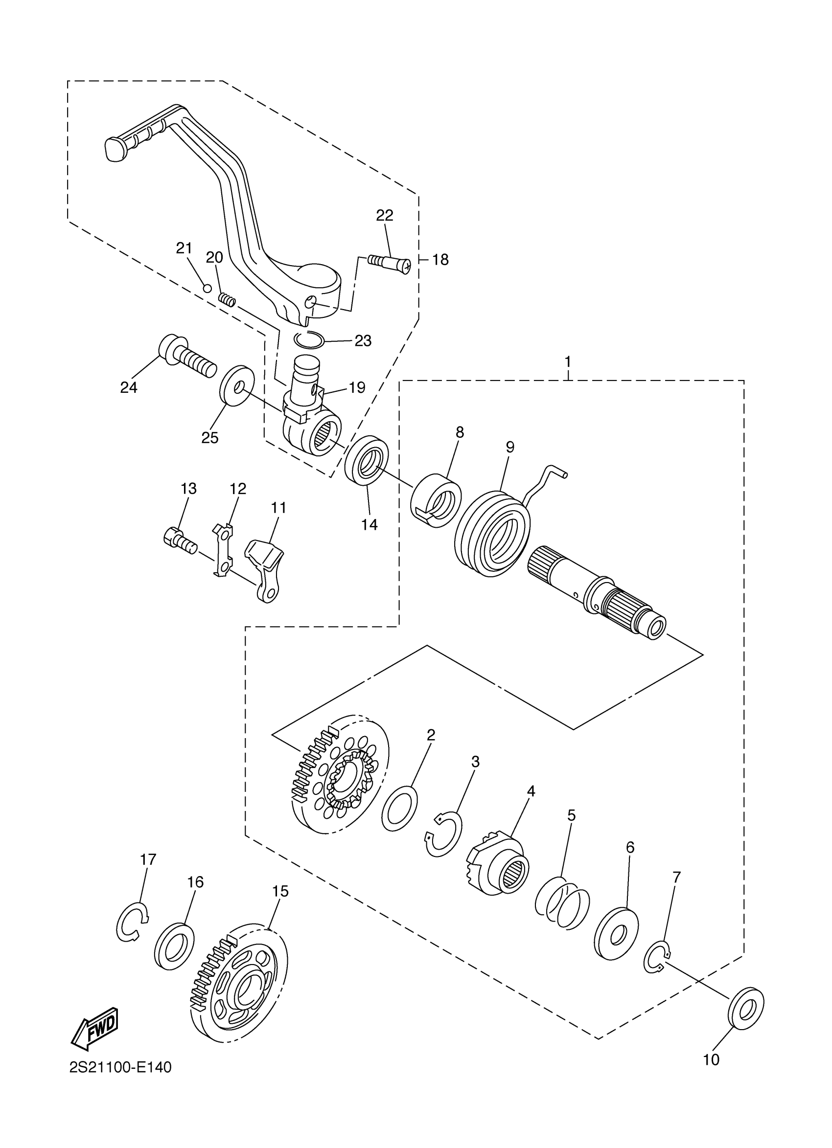
Yamaha WR450FX (WR450F) 5TJJ 2008 STARTER Diagram
#
Description
Price
1
KICK SHAFT ASSY
2S2-15601-00-00
Unavailable
4
WHEEL, RATCHET
2S2-15671-00-00
Unavailable
11
STOPPER
5SG-15668-00-00
Unavailable
17
CIRCLIP(1AR)
99009-20400-00
Unavailable
18
KICK CRANK ASSY
2S2-15620-01-00
Unavailable
19
BOSS, KICK CRANK
5XD-15621-00-00
Unavailable
20
SPRING, COMPRESSION
90501-147A5-00
Unavailable
21
BALL (12R)
93507-32031-00
Unavailable
22
SCREW, COUNTERSUNK (5Y1)
90152-06010-00
Unavailable
23
O-RING(36Y)
93210-17570-00
Unavailable
24
BOLT, HEXAGON SOCKET HEAD
90110-08097-00
Unavailable
25
WASHER, PLATE
90201-08047-00
Unavailable
