- Partiron
- OEM Parts
- Yamaha
- motorcycle
- 2007
- WR450FW (WR450F) 5TJE 2007
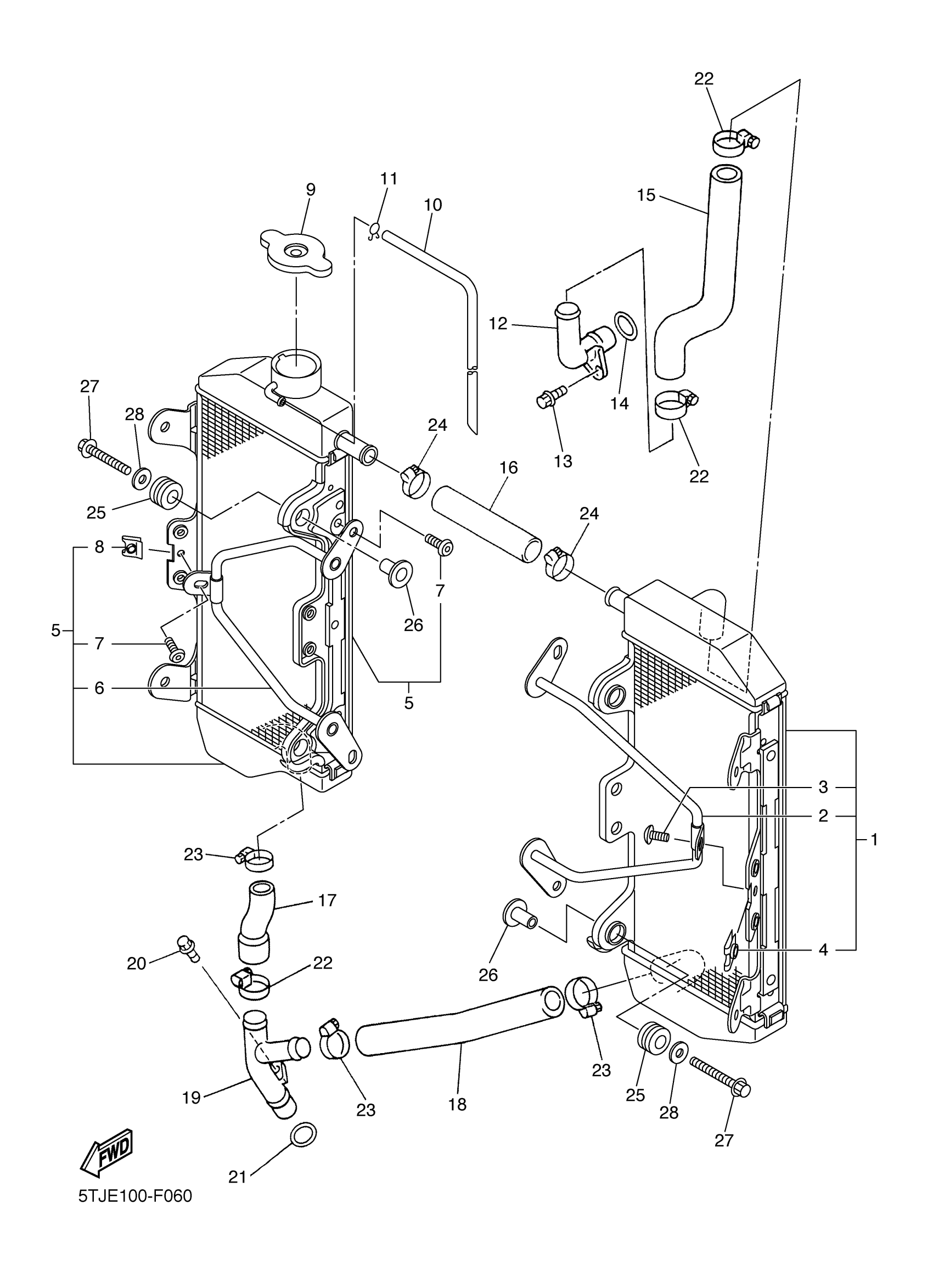
RADIATOR HOSE
Yamaha WR450FW (WR450F) 5TJE 2007 RADIATOR HOSE Diagram
#
Description
Price
1
RADIATOR ASSY
5TJ-1240A-E0-00
Unavailable
2
STAY, RADIATOR
2S2-12464-70-00
Unavailable
5
RADIATOR ASSY
2S2-12461-70-00
Unavailable
6
STAY, RADIATOR
2S2-12464-70-00
Unavailable
12
PIPE 1
2S2-12481-00-00
Unavailable
16
PIPE 2
1C3-12482-00-00
Unavailable
17
HOSE 3
2S2-12578-00-00
Unavailable
18
HOSE 4
5TJ-12579-E0-00
Unavailable
19
PIPE 2
2S2-12482-00-00
Unavailable
20
BOLT, FLANGE
95022-06012-00
Unavailable
22
HOSE CLAMP ASSY
90450-28001-00
Unavailable
23
HOSE CLAMP ASSY(64X)
90450-22M14-00
Unavailable
24
HOSE CLAMP ASSY
90450-18M09-00
Unavailable
25
GROMMET(3RB)
90480-15528-00
Unavailable
26
COLLAR
90387-06065-00
Unavailable
27
BOLT, FLANGE
90105-06111-00
Unavailable
28
WASHER, PLATE (583 REAR FENDER
90201-06571-00
Unavailable
