- Partiron
- OEM Parts
- Yamaha
- motorcycle
- 2026
- WR450FT1 (WR450F) DP03 2026
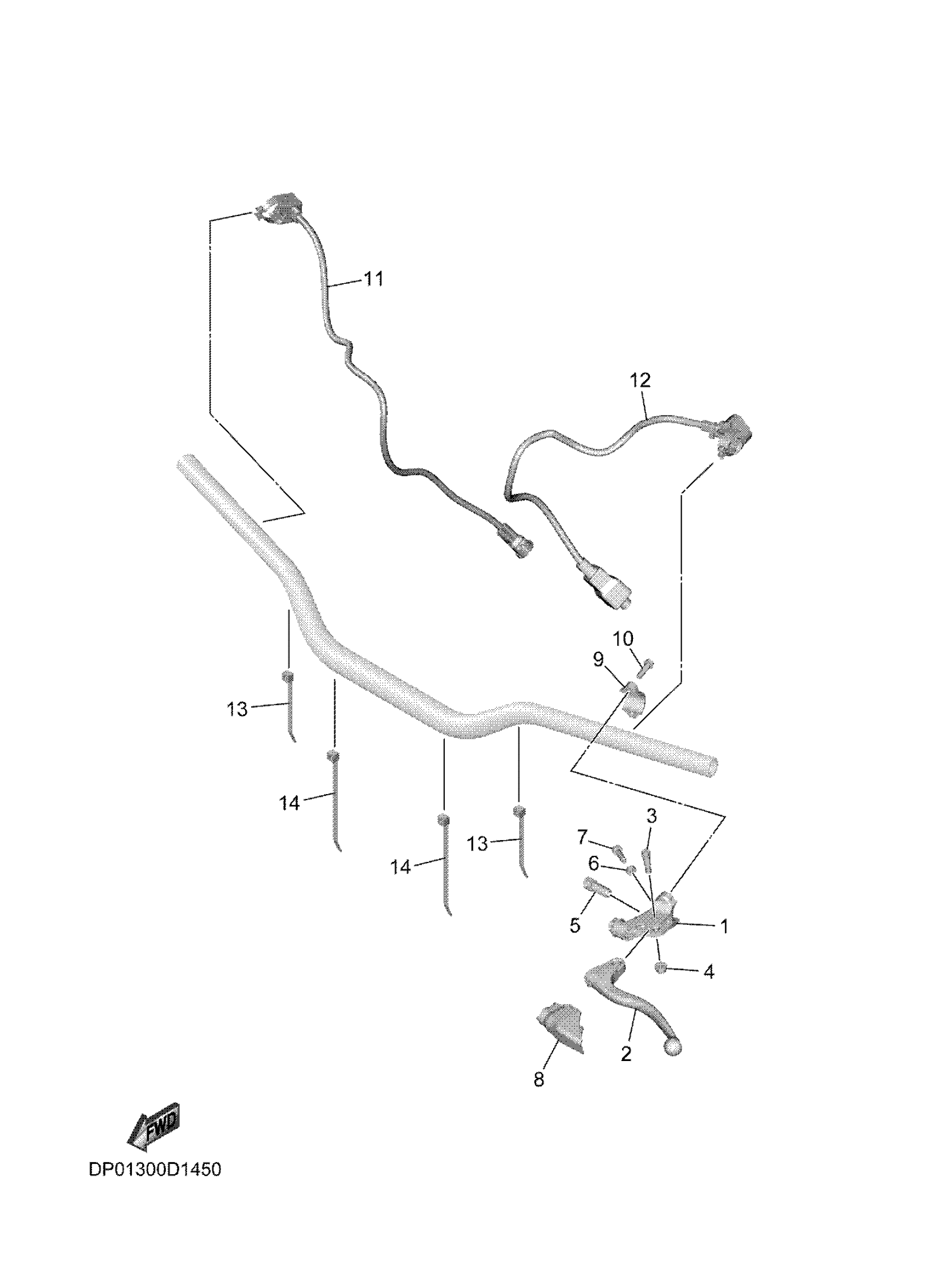
HANDLE SWITCH & LEVER
Yamaha WR450FT1 (WR450F) DP03 2026 HANDLE SWITCH & LEVER Diagram
#
Description
Price
12
SWITCH, HANDLE 2
D02-83975-10-00
Unavailable
