- Partiron
- OEM Parts
- Yamaha
- motorcycle
- 2005
- WR450FT (WR450F) 5TJ8 2005
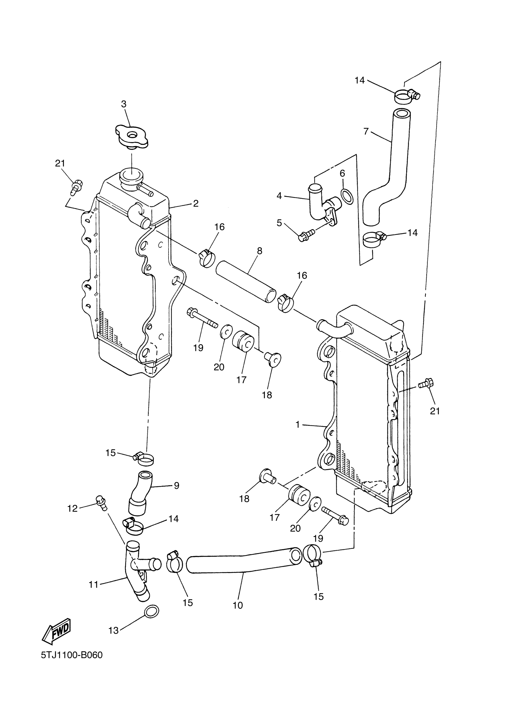
RADIATOR HOSE
Yamaha WR450FT (WR450F) 5TJ8 2005 RADIATOR HOSE Diagram
#
Description
Price
1
RADIATOR ASSY
5TA-1240A-00-00
Unavailable
2
RADIATOR ASSY
5TA-12461-00-00
Unavailable
4
PIPE 1
2S2-12481-00-00
Unavailable
10
HOSE 4
5TA-12579-00-00
Unavailable
11
PIPE 2
5TJ-12482-00-00
Unavailable
17
GROMMET(3RB)
90480-15528-00
Unavailable
18
COLLAR
90387-06065-00
Unavailable
19
BOLT, SMALL FLANGE
95027-06025-00
Unavailable
20
WASHER, PLATE (583 REAR FENDER
90201-06571-00
Unavailable
21
BOLT, FLANGE
95817-06010-00
Unavailable
