Partiron

Yamaha WR450FT (WR450F) 5TJ8 2005 METER Diagram

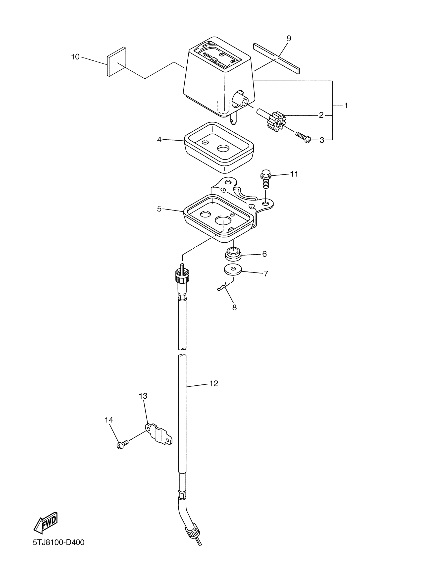
#

Description
Price

1

TRIP METER COMP. (MILE)

5TJ-8355W-10-00

Unavailable

2

KNOB, TRIP METER

1AE-83578-00-00

Unavailable

3

SCREW, PAN HEAD (11H)

90157-02031-00

$10.49

4

DAMPER

4V5-83513-00-00

$14.49

5

BRACKET, METER

5NG-83519-00-00

Unavailable

6

DAMPER 2

1M1-83526-01-00

$4.47

7

WASHER PLATE 829771780000

90201-05033-00

$10.49

8

CLIP (156-83525-00)

90468-10050-00

$3.05

9

DAMPER

2HR-83592-00-00

Unavailable

10

DAMPER

5TJ-83513-80-00

Unavailable

11

BOLT, FLANGE(4MY)

95027-06012-00

$3.88

12

SPEEDOMETER CABLE ASSY

5BF-83550-00-00

Unavailable

13

STAY 3

5BF-2317M-00-00

Unavailable

14

BOLT, BUTTON HEAD

92017-05008-00

Unavailable