Yamaha WR450FR (WR450F) 5TJ1 2003 FRAME Diagram
#
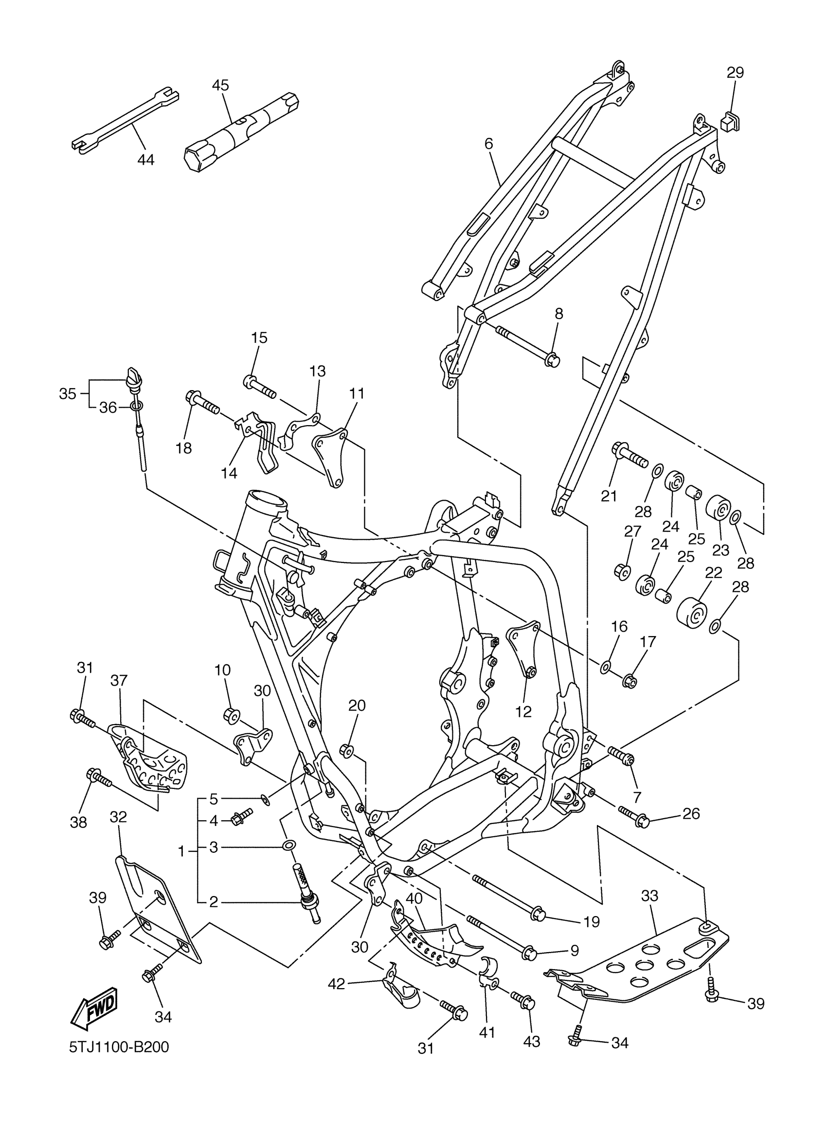
1
FRONT FRAME COMP.
5TJ-21101-00-00
Unavailable
2
NET, FILTER
5TA-21756-00-00
Unavailable
6
REAR FRAME COMP.
5TJ-21190-80-00
Unavailable
8
BOLT, FLANGE(4BD)
95817-08105-00
Unavailable
9
BOLT, FLANGE
95817-10160-00
Unavailable
11
BRACKET, REAR UPPER 1
5TA-21425-00-00
Unavailable
13
HOLDER, CABLE
5TA-21161-00-00
Unavailable
14
CLAMP, WIRE HARNESS 1
5TJ-21335-00-00
Unavailable
16
WASHER PLATE (3L6)
90201-08759-00
Unavailable
17
NUT, FLANGE(3BM)
95704-10500-00
Unavailable
18
BOLT, FLANGE(87Y)
95817-10055-00
Unavailable
19
BOLT, WASHER BASED(3RB)
90105-10733-00
Unavailable
21
BOLT, FLANGE(4MY)
95027-08040-00
Unavailable
22
TENSIONER
3JD-22178-20-00
Unavailable
23
TENSIONER
4EW-22178-01-00
Unavailable
24
BEARING (3X3)
93300-60804-00
Unavailable
25
COLLAR(1NL)
90387-086N4-00
Unavailable
26
BOLT, FLANGE
95027-08065-00
Unavailable
27
NUT, FLANGE(JN5)
95707-08500-00
Unavailable
28
WASHER, PLATE(3XP)
90201-086P8-00
Unavailable
29
PLUG(8Y1)
90338-18176-00
Unavailable
30
BRACKET, FRONT LOWER 1
5XD-21417-50-00
Unavailable
31
BOLT, FLANGE(JN5)
95817-08016-00
Unavailable
32
PROTECTOR, ENGINE
5TA-21471-00-00
Unavailable
33
GUARD, ENGINE 2
5TA-2147E-00-00
Unavailable
34
BOLT, FLANGE(4MY)
95027-06012-00
Unavailable
35
PLUG, OIL LEVEL
5TA-15362-01-00
Unavailable
36
. O-RING
93210-08001-00
Unavailable
37
GUARD, ENGINE 1
5TA-2147A-00-00
Unavailable
38
BOLT, SMALL FLANGE
95027-08012-00
Unavailable
39
BOLT, WITH WASHER
90119-06001-00
Unavailable
40
GUARD, ENGINE 3
5TJ-2147F-00-00
Unavailable
41
CLAMP
5NG-21338-01-00
Unavailable
42
CLAMP
5TJ-21338-00-00
Unavailable
43
BOLT, SMALL FLANGE
95027-08012-00
Unavailable
44
WRENCH, HEXAGON
5ET-28166-10-00
Unavailable
45
BOX, SPARK PLUG
5TA-2814F-00-00
Unavailable
