Yamaha WR450FR (WR450F) 5TJ1 2003 FENDER Diagram
#
Description
Price
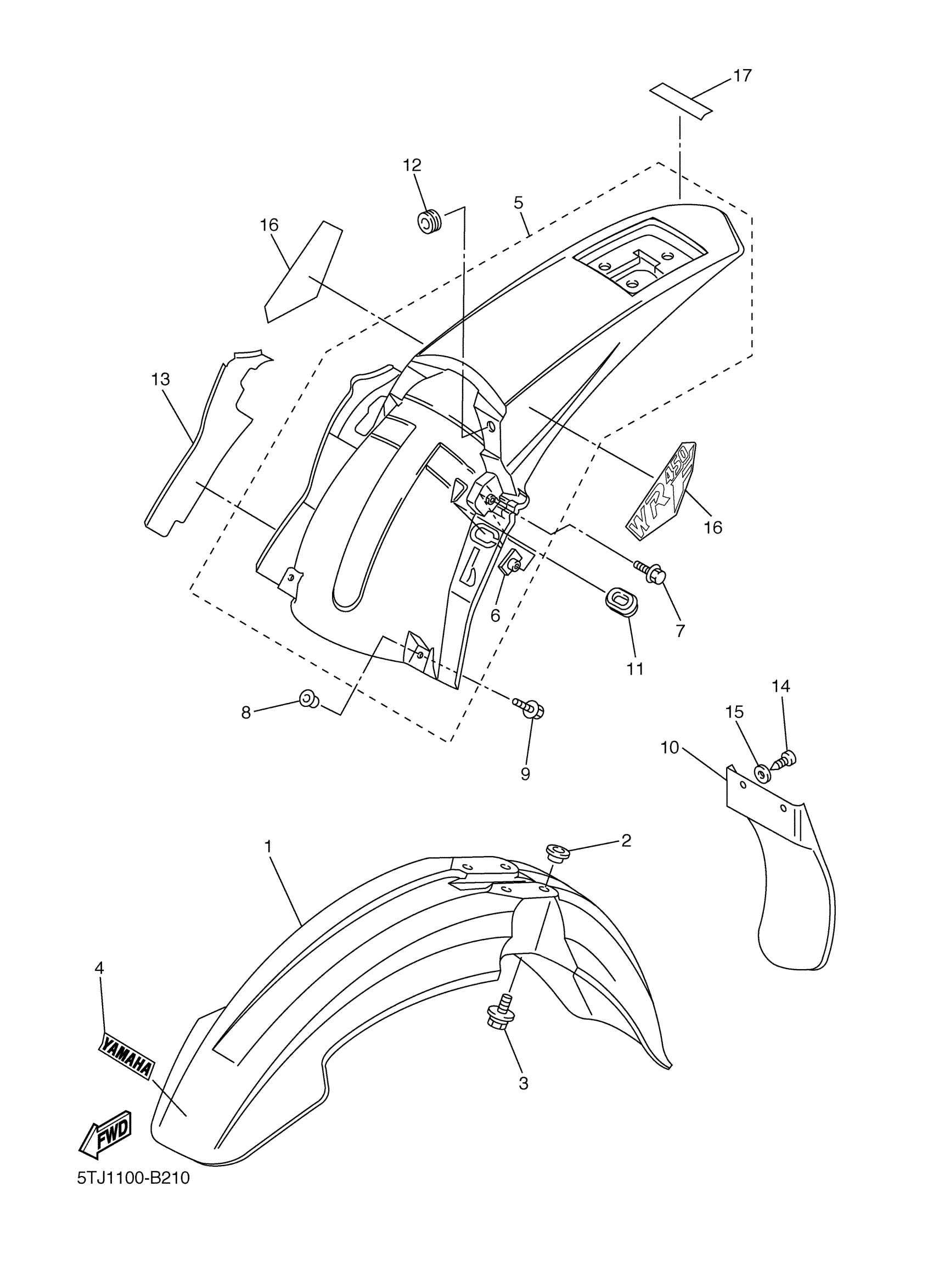
13
INSULATOR, SIDE COVER 2
5TJ-2174T-00-00
Unavailable
16
EMBLEM 1
5TJ-2163G-00-00
Unavailable
#
13
5TJ-2174T-00-00
Unavailable
16
5TJ-2163G-00-00
Unavailable
Edit ride
