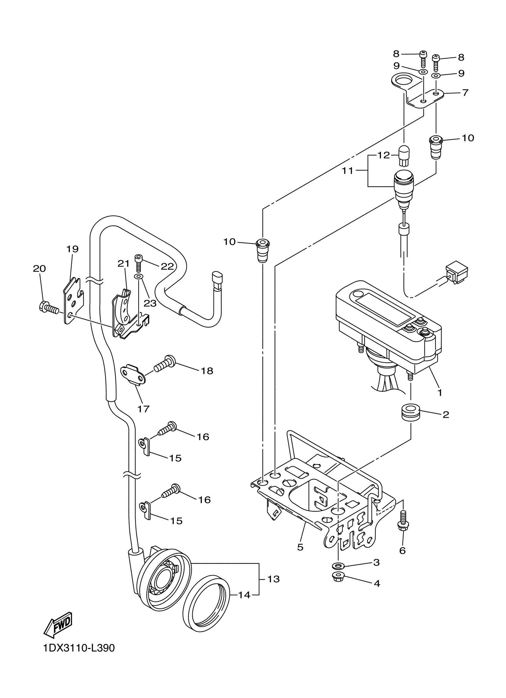
Yamaha WR450FD (WR450F) 1DX8 2013 METER Diagram
#
Description
Price
1
METER ASSY (MPH)
1DX-83500-20-00
Unavailable
2
GROMMET
90480-14012-00
Unavailable
5
BRACKET, METER
1DX-83519-00-00
Unavailable
6
BOLT, FLANGE
90105-06064-00
Unavailable
7
BRACKET, INDICATOR LIGHT 2
1DX-83575-00-00
Unavailable
10
NUT
90179-05013-00
Unavailable
11
PILOT LIGHT ASSY
1DX-83530-00-00
Unavailable
16
SCREW, TAPPING
97702-40010-00
Unavailable
17
PLATE 1
5TJ-8375E-C0-00
Unavailable
18
BOLT, BUTTON HEAD
92012-05008-00
Unavailable
19
CLAMP
5UM-83595-E0-00
Unavailable
20
BOLT, FLANGE
90105-06105-00
Unavailable
21
BRACKET 1
5UM-23591-E0-00
Unavailable
22
BOLT, BUTTON HEAD
92012-06012-00
Unavailable
23
WASHER, PLAIN (646)
92990-06600-00
Unavailable
