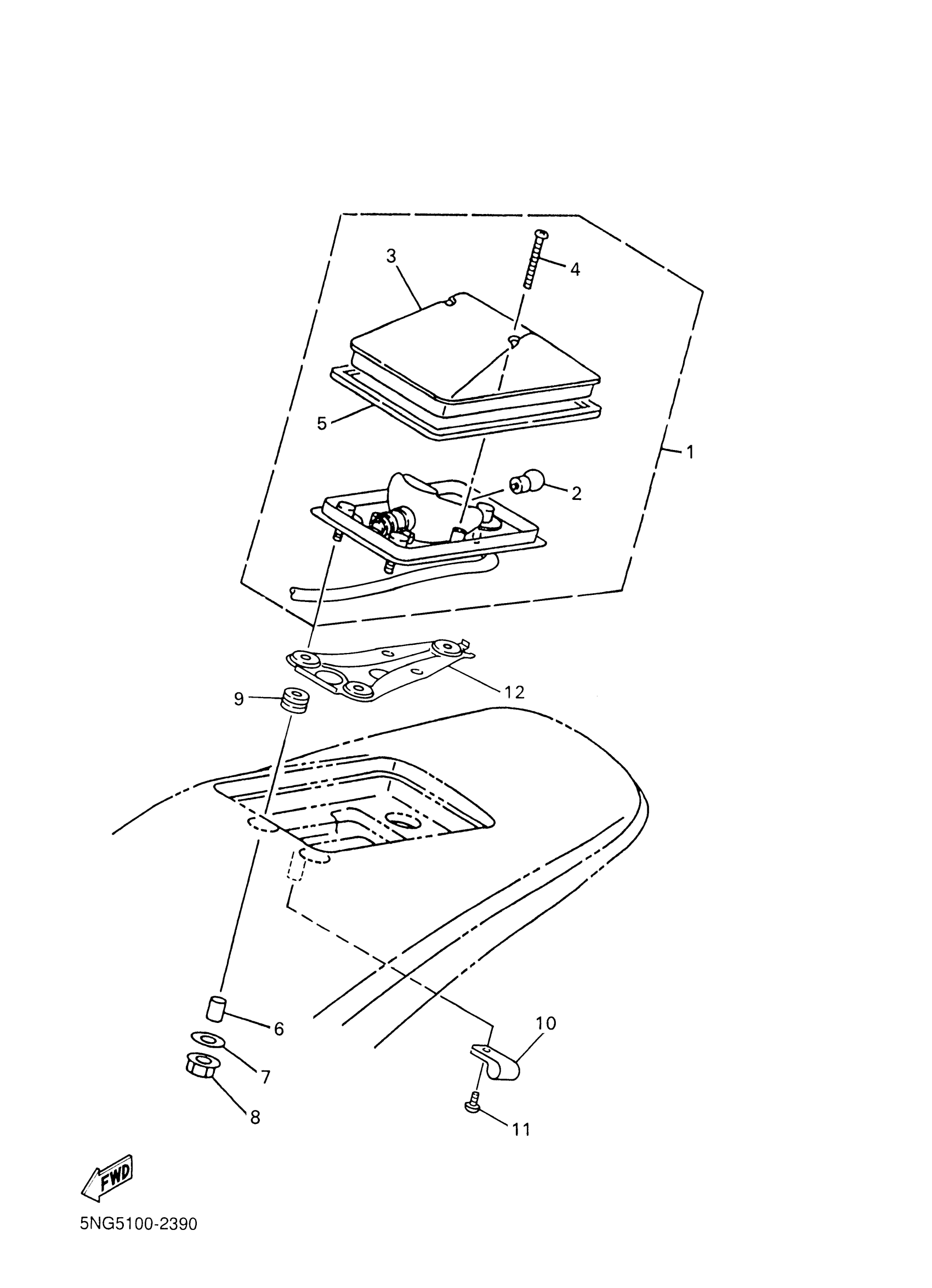
Yamaha WR426FP (WR426F) 5NG5 2002 TAILLIGHT Diagram
#
Description
Price
1
TAILLIGHT UNIT ASSY
5BF-84710-00-00
Unavailable
11
. SCREW, TAPPING
97780-40010-00
Unavailable
12
PLATE,FITTING 3
5NG-21677-50-00
Unavailable
