Yamaha WR400FL (WR400F) 5GS1 1999 METER Diagram
#
Description
Price
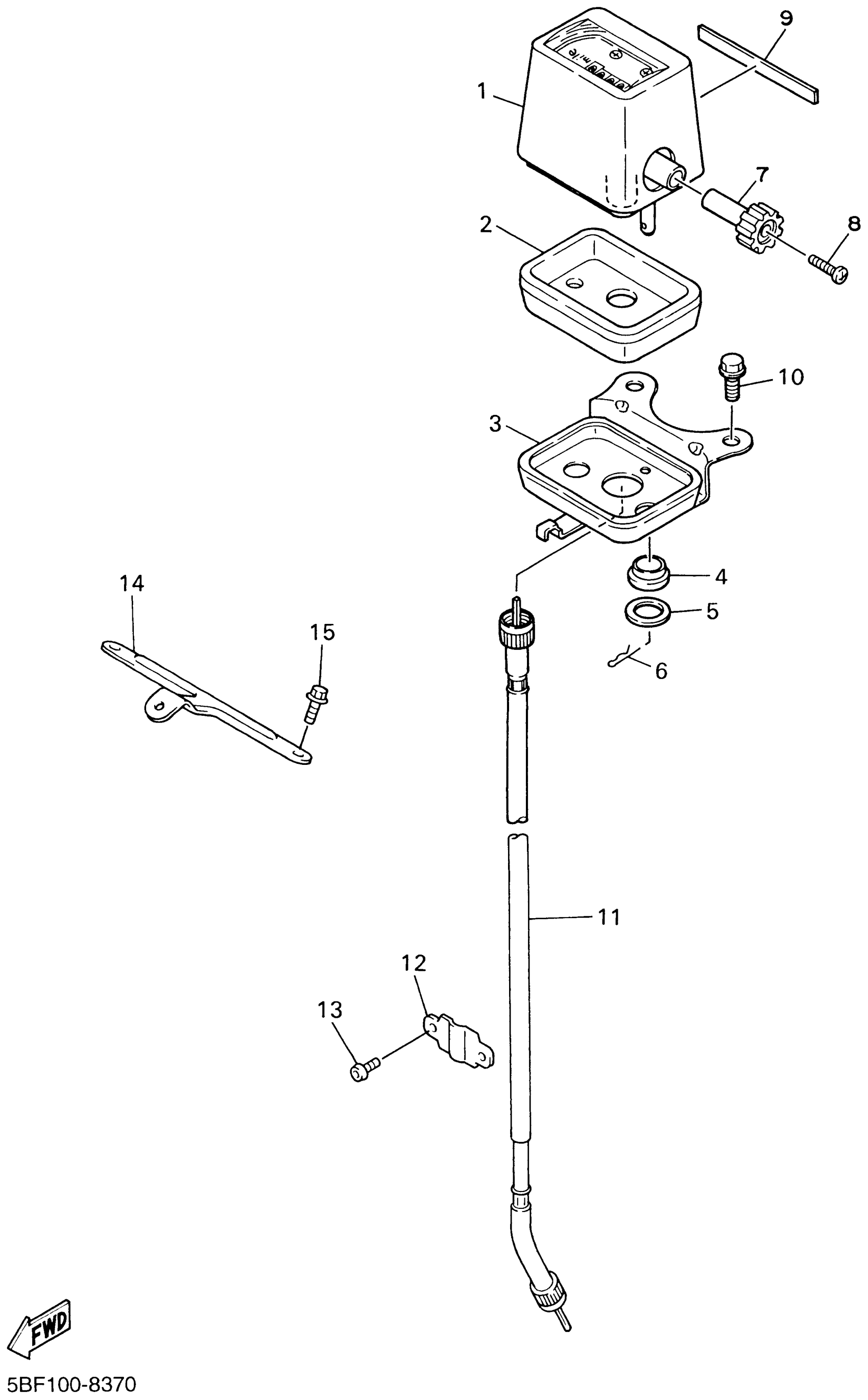
1
TRIP METER COMP.
2HR-83505-G0-00
Unavailable
3
BRACKET, METER
2HR-83519-01-00
Unavailable
7
KNOB, TRIP METER
11H-83578-00-00
Unavailable
9
DAMPER
2HR-83592-00-00
Unavailable
11
SPEEDOMETER CABLE ASSY
5BF-83550-00-00
Unavailable
12
STAY 3
5BF-2317M-00-00
Unavailable
13
BOLT, BUTTON HEAD
92017-05008-00
Unavailable
14
STAY, HEADLIGHT 2
5BF-84319-00-00
Unavailable
