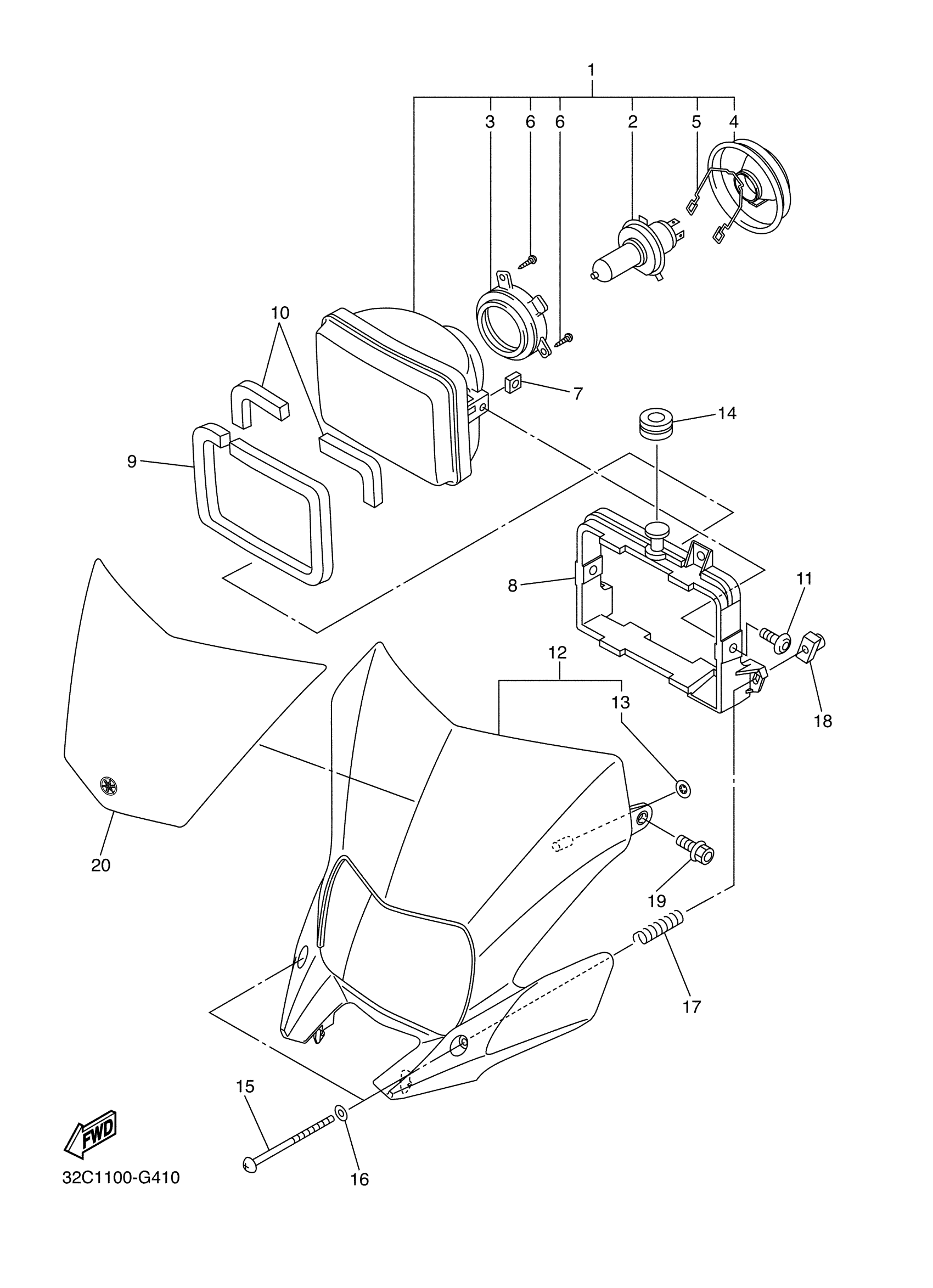
Yamaha WR25XXL (WR250X) 32C2 2008 HEADLIGHT Diagram
#
Description
Price
1
HEADLIGHT UNIT ASSY
32C-84310-00-00
Unavailable
3
. SPRING LAMP SET
1D0-H4363-00-00
Unavailable
4
. COVER, SOCKET
1D0-H4397-00-00
Unavailable
5
. SPRING
1D0-H4335-00-00
Unavailable
11
BOLT, HEXAGON SOCKET HEAD(51L)
90110-06090-00
Unavailable
12
BODY ASSY
32D-84330-00-00
Unavailable
16
WASHER, PLAIN (646)
92990-04600-00
Unavailable
17
SPRING, ADJUST
341-84332-60-00
Unavailable
18
NUT, ADJUST
198-84334-60-00
Unavailable
19
BOLT, FLANGE
90105-06064-00
Unavailable
20
GRAPHIC
32D-8411B-00-00
Unavailable
