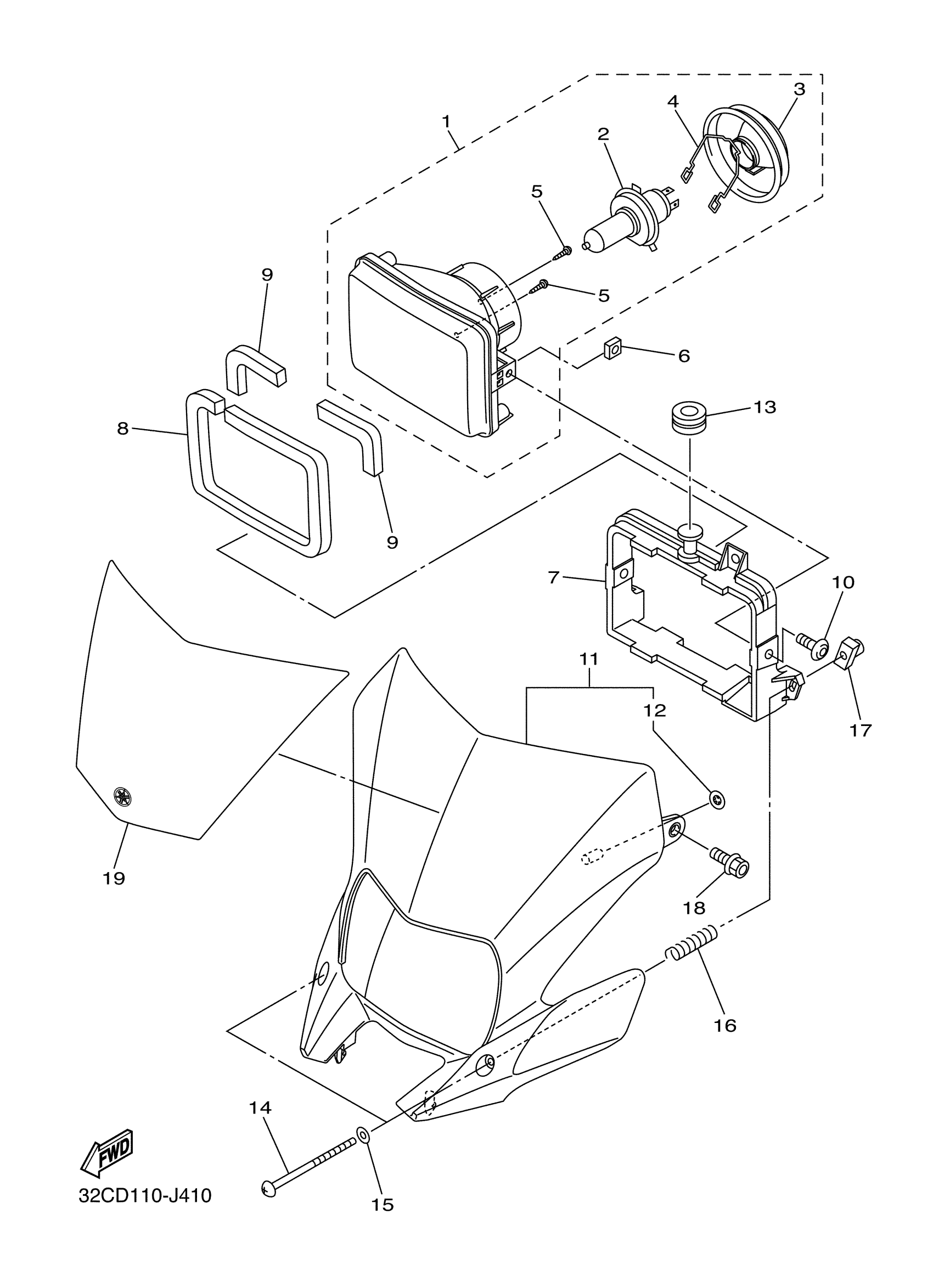
Yamaha WR25RKC (WR250R CA) 2CFL 2019 HEADLIGHT Diagram
#
Description
Price
1
HEADLIGHT UNIT ASSY
32C-84310-00-00
Unavailable
3
CAP
32D-84378-00-00
Unavailable
4
SPRING
32D-84335-00-00
Unavailable
5
SCREW
32D-84726-00-00
Unavailable
10
BOLT, HEXAGON SOCKET HEAD(51L)
90110-06090-00
Unavailable
11
BODY ASSY
32D-84330-00-00
Unavailable
16
SPRING, ADJUST
341-84332-60-00
Unavailable
17
NUT, ADJUST
198-84334-60-00
Unavailable
18
BOLT, FLANGE
90105-06064-00
Unavailable
19
GRAPHIC
32D-8411B-00-00
Unavailable
