- Partiron
- OEM Parts
- Yamaha
- motorcycle
- 2017
- WR25RHC (WR250R CA) 2CFE 2017
FRONT MASTER CYLINDER
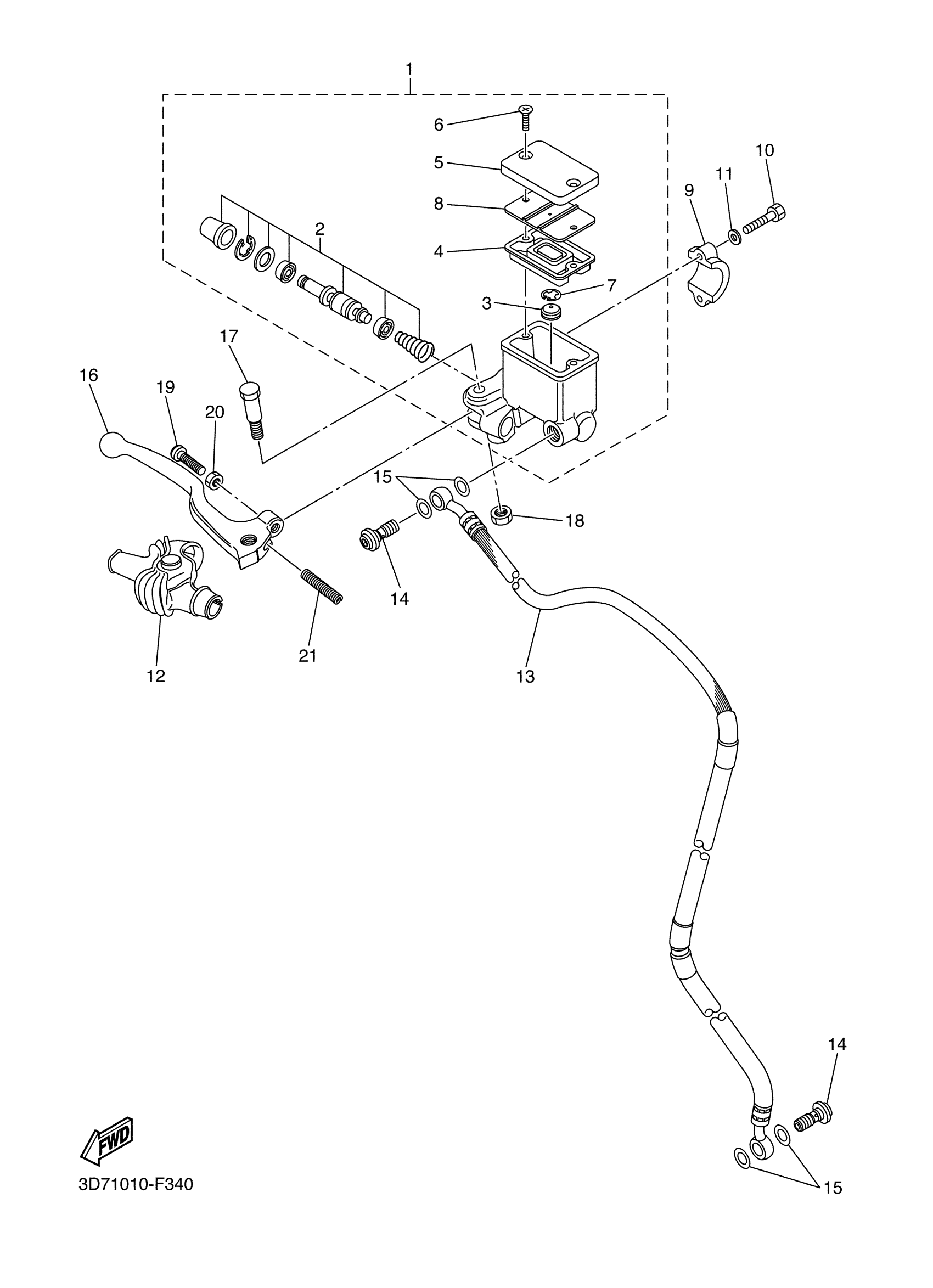
Yamaha WR25RHC (WR250R CA) 2CFE 2017 FRONT MASTER CYLINDER Diagram
#
Description
Price
8
PLATE, DIAPHRAGM
3GM-2585B-20-00
Unavailable
13
HOSE, BRAKE 1
3D7-25872-00-00
Unavailable
16
LEVER 2
55Y-83922-02-00
Unavailable
17
BOLT (4L0)
90109-06577-00
Unavailable
18
NUT, SELF-LOCKING
95617-06100-00
Unavailable
19
SCREW (2L0)
90149-06131-00
Unavailable
20
NUT
90170-06021-00
Unavailable
21
SPRING COMPRESSION306839240000
90501-10312-00
Unavailable
