Yamaha WR25RBL (WR25R) 32CS 2012 FRAME Diagram
#
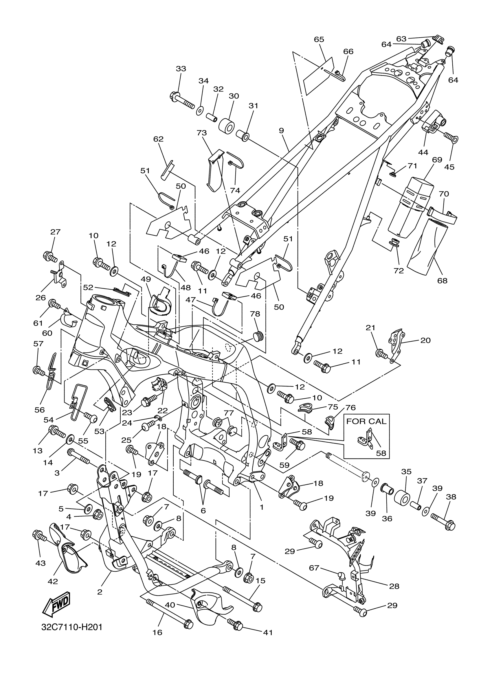
1
FRAME COMP.
3D7-21110-11-00
Unavailable
2
DOWNTUBE COMP.
3D7-21280-10-00
Unavailable
3
BOLT
90111-12001-00
Unavailable
6
BOLT, ENGINE MOUNTING 1
3D7-21481-00-00
Unavailable
9
REAR FRAME COMP.
32C-21190-10-00
Unavailable
14
WASHER, PLATE
90201-11015-00
Unavailable
15
BOLT, FLANGE
90105-10226-00
Unavailable
16
BOLT, FLANGE
90105-10228-00
Unavailable
17
NUT(4KG)
90179-10658-00
Unavailable
18
BRACKET, FOOTREST
3D7-21447-00-00
Unavailable
19
SCREW
90149-10033-00
Unavailable
20
BRACKET, MASTER CYLINDER
3D7-2133F-00-00
Unavailable
21
BOLT, BUTTON HEAD
92012-08014-00
Unavailable
22
BRACKET, STOP SWITCH
3D7-21441-00-00
Unavailable
23
BOLT, FLANGE
95022-06010-00
Unavailable
24
BOLT, FLANGE
3D7-21451-00-00
Unavailable
25
BOLT, BUTTON HEAD
92012-06010-00
Unavailable
26
BRACKET, RADIATOR
3D7-2142K-00-00
Unavailable
27
BOLT, FLANGE
95022-06012-00
Unavailable
28
STAY, SIDE COVER 1
3D7-21321-00-00
Unavailable
29
BOLT, BUTTON
92017-08014-00
Unavailable
30
TENSIONER
3TB-22178-00-00
Unavailable
31
BUSH
10V-22184-00-00
Unavailable
32
COLLAR
90387-08024-00
Unavailable
33
BOLT, FLANGE(4KG)
95024-08040-00
Unavailable
34
WASHER, PLATE
90201-08045-00
Unavailable
35
TENSIONER
30X-22178-00-00
Unavailable
36
BUSH
10V-22184-00-00
Unavailable
37
COLLAR
90387-08024-00
Unavailable
38
BOLT, FLANGE(4KG)
95024-08040-00
Unavailable
39
WASHER, PLATE
90201-08045-00
Unavailable
40
GUARD, ENGINE 1
3D7-2147A-00-00
Unavailable
41
BOLT, WITH WASHER(4ES)
90119-06217-00
Unavailable
42
GUARD, ENGINE 2
3D7-2147E-00-00
Unavailable
43
BOLT, WITH WASHER(4ES)
90119-06217-00
Unavailable
44
HELMET HANGER ASSY
4R8-21308-01-00
Unavailable
45
SCREW, COUNTERSUNK
90151-06068-00
Unavailable
46
DAMPER
3D7-2139X-00-00
Unavailable
47
BAND
3MA-82591-00-00
Unavailable
48
CLAMP
90464-16061-00
Unavailable
49
COVER
3D7-2117F-00-00
Unavailable
50
COVER 2
3D7-2117M-00-00
Unavailable
51
CLAMP
90465-10098-00
Unavailable
52
COVER 3
3D7-2117N-00-00
Unavailable
53
COVER 4
3D7-2117R-00-00
Unavailable
54
GUIDE, CABLE
3D7-21288-00-00
Unavailable
55
BOLT, BUTTON HEAD
92017-06010-00
Unavailable
56
GUIDE, WIRE
3D7-21339-00-00
Unavailable
57
BOLT, BUTTON HEAD
92017-06010-00
Unavailable
58
HOLDER, CABLE
3D7-21161-10-00
Unavailable
59
BOLT, FLANGE(4MY)
95027-06010-00
Unavailable
60
HOLDER, CLUTCH CABLE
3D7-21162-00-00
Unavailable
61
BOLT, BUTTON HEAD
92017-06010-00
Unavailable
62
LABEL, BRAKE FLUID
5XT-25839-10-00
Unavailable
63
DAMPER, SIDE COVER
2N4-21717-00-00
Unavailable
64
PLUG(55K)
90338-16148-00
Unavailable
65
COVER, REAR FENDER 1
3D7-2163A-00-00
Unavailable
66
CLAMP
90464-16061-00
Unavailable
67
GROMMET
3D7-21773-00-00
Unavailable
68
TOOL KIT
3D7-28100-01-00
Unavailable
69
TOOL BOX COMP.
4GY-21107-10-00
Unavailable
70
BAND,BATTERY
7H3-82131-00-00
Unavailable
71
PLUG (10V)
90338-09130-00
Unavailable
72
GROMMET
90480-10017-00
Unavailable
73
COVER
3D7-8252U-00-00
Unavailable
74
CLAMP
90464-16061-00
Unavailable
75
COVER 5
3D7-2117T-00-00
Unavailable
76
COVER 6
3D7-2117U-00-00
Unavailable
77
COVER 8
3D7-2117W-00-00
Unavailable
78
PLUG
90338-15004-00
Unavailable
