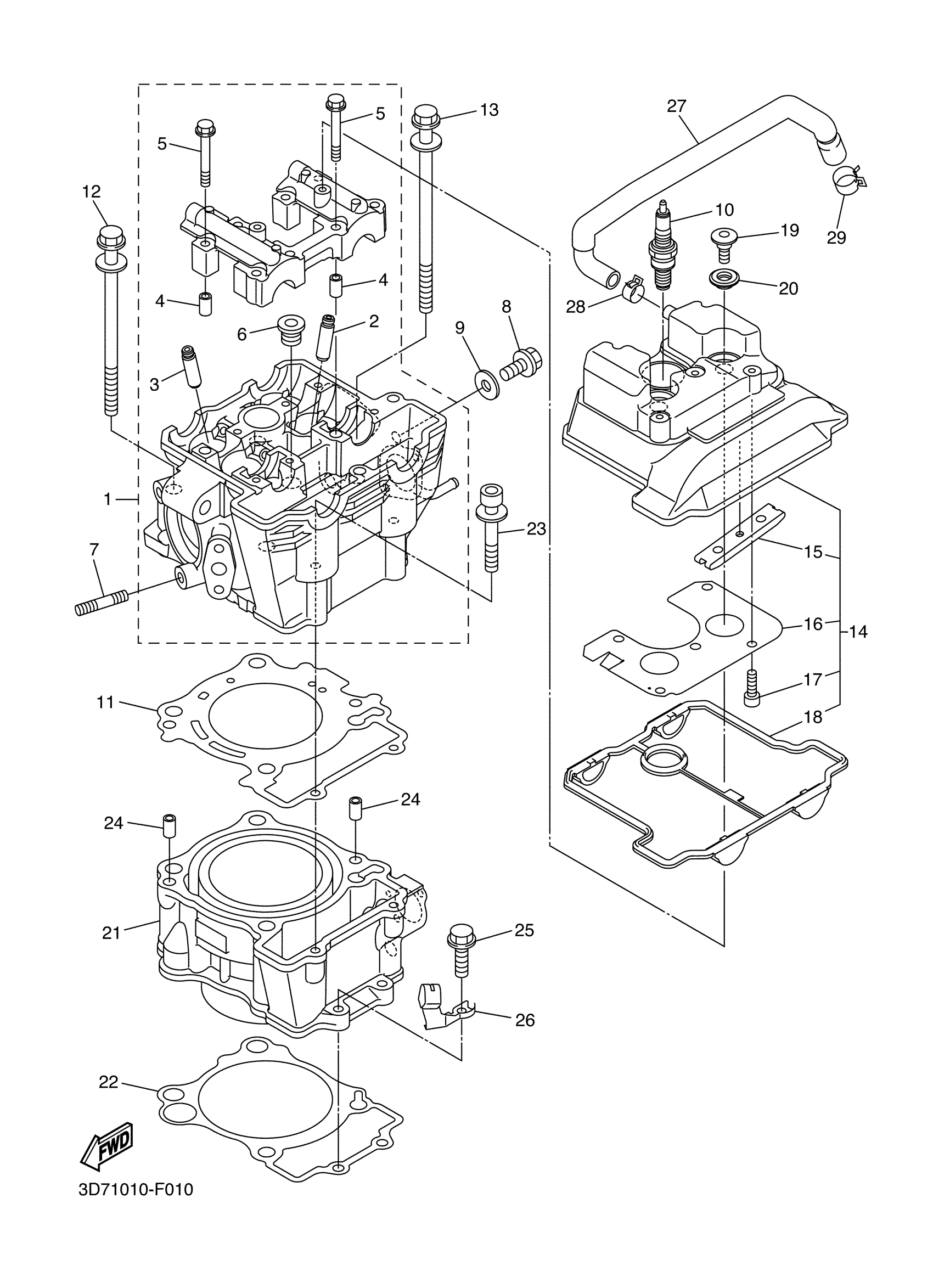
Yamaha WR25RAL (WR250R) 32CK 2011 CYLINDER Diagram
#
Description
Price
1
CYLINDER HEAD ASSY
3D7-11101-09-00
Unavailable
10
CR9EK NGK SPLUG 10PK
CR9-EK000-00-00
Unavailable
12
BOLT, WITH WASHER
90119-10025-00
Unavailable
13
BOLT, WITH WASHER
90119-10026-00
Unavailable
14
COVER, CYLINDER HEAD 1
3D7-11190-00-00
Unavailable
16
PLATE, BREATHER
3D7-11165-00-00
Unavailable
17
BOLT,SOCKET HEAD
91314-06020-00
Unavailable
18
GASKET, HEAD COVER 1
3D7-11193-00-00
Unavailable
19
BOLT(4BP)
90109-066F0-00
Unavailable
20
RUBBER, MOUNT 1
5VY-1111G-00-00
Unavailable
21
CYLINDER 1
3D7-11311-02-00
Unavailable
22
GASKET, CYLINDER
3D7-11351-02-00
Unavailable
23
BOLT, HEXAGON SOCKET HEAD
90110-06298-00
Unavailable
25
BOLT, FLANGE
95022-06025-00
Unavailable
26
CLAMP 1
3D7-12491-00-00
Unavailable
27
PIPE, BREATHER 1
3D7-11166-00-00
Unavailable
28
CLIP
90467-120A5-00
Unavailable
29
CLIP
90467-15141-00
Unavailable
