- Partiron
- OEM Parts
- Yamaha
- motorcycle
- 1996
- WR250ZH (WR250Z) 1996
REAR SUSPENSION
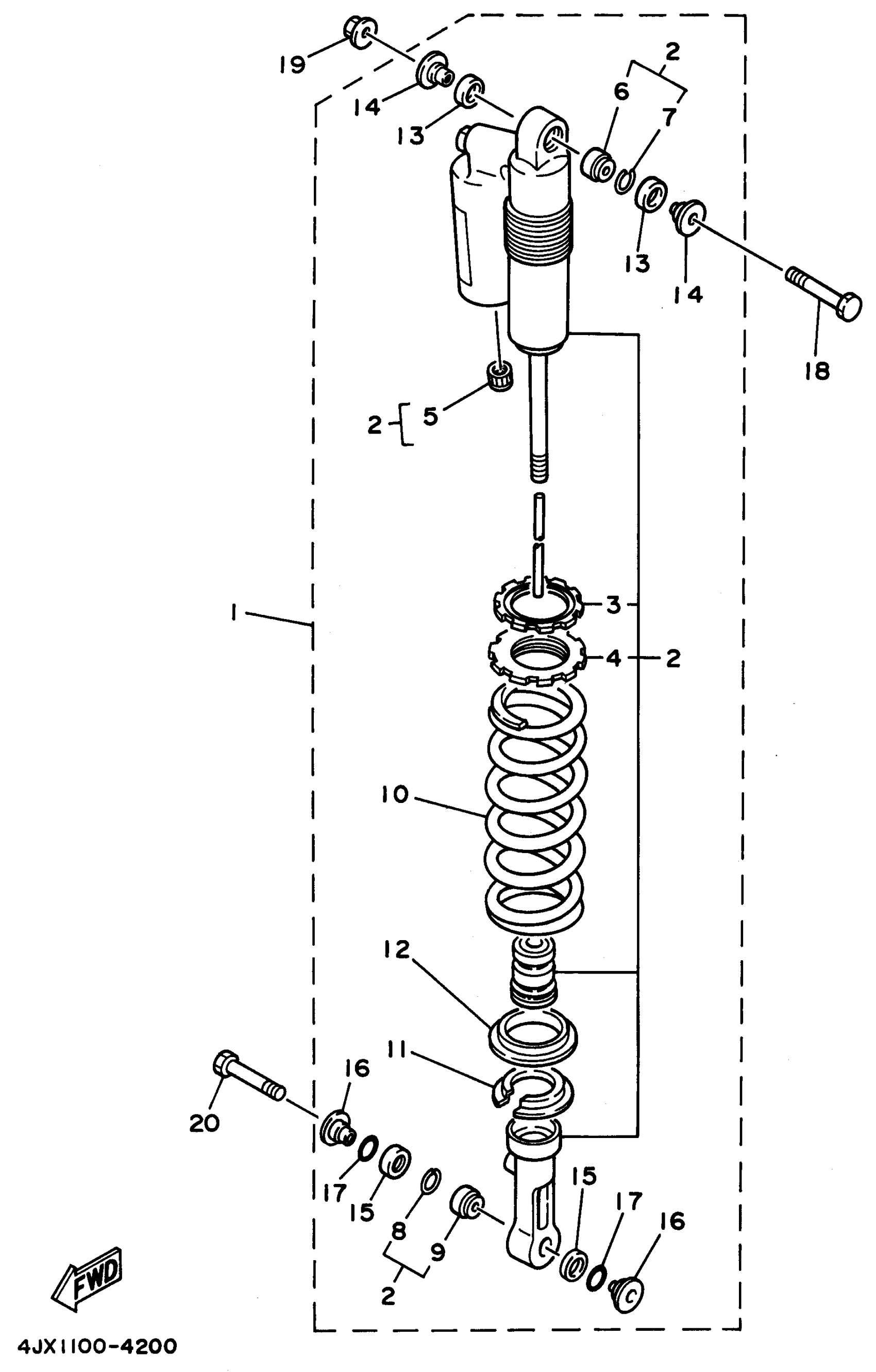
Yamaha WR250ZH (WR250Z) 1996 REAR SUSPENSION Diagram
#
Description
Price
1
SHOCK ABSORBER ASSY, REAR
4JW-22210-A0-00
Unavailable
2
DAMPER SUB ASY
4JW-22201-60-00
Unavailable
5
.. CAP, AIR VALVE
24M-23184-00-00
Unavailable
6
.. BUSH, REAR SHOCK ABSORBER
4MX-22216-00-00
Unavailable
7
.. RING, STOP
43M-22274-00-00
Unavailable
8
.. CIRCLIP
3Y6-23183-00-00
Unavailable
10
SPRING (K=5.0)
4JX-22212-40-00
Unavailable
12
. GUIDE, SPRING 2
3JD-22224-00-00
Unavailable
14
. COLLAR, DISTANCE
3XJ-22253-00-00
Unavailable
16
. COLLAR, DISTANCE
4EW-22253-00-00
Unavailable
17
SEAL, RING
4EW-22474-00-00
Unavailable
18
BOLT 1
3SP-22241-00-00
Unavailable
19
NUT, SELF-LOCKING(JN5)
95607-10200-00
Unavailable
20
BOLT, WASHER BASED(3XJ)
90105-10614-00
Unavailable
