- Partiron
- OEM Parts
- Yamaha
- motorcycle
- 1995
- WR250ZG (WR250Z) 1995
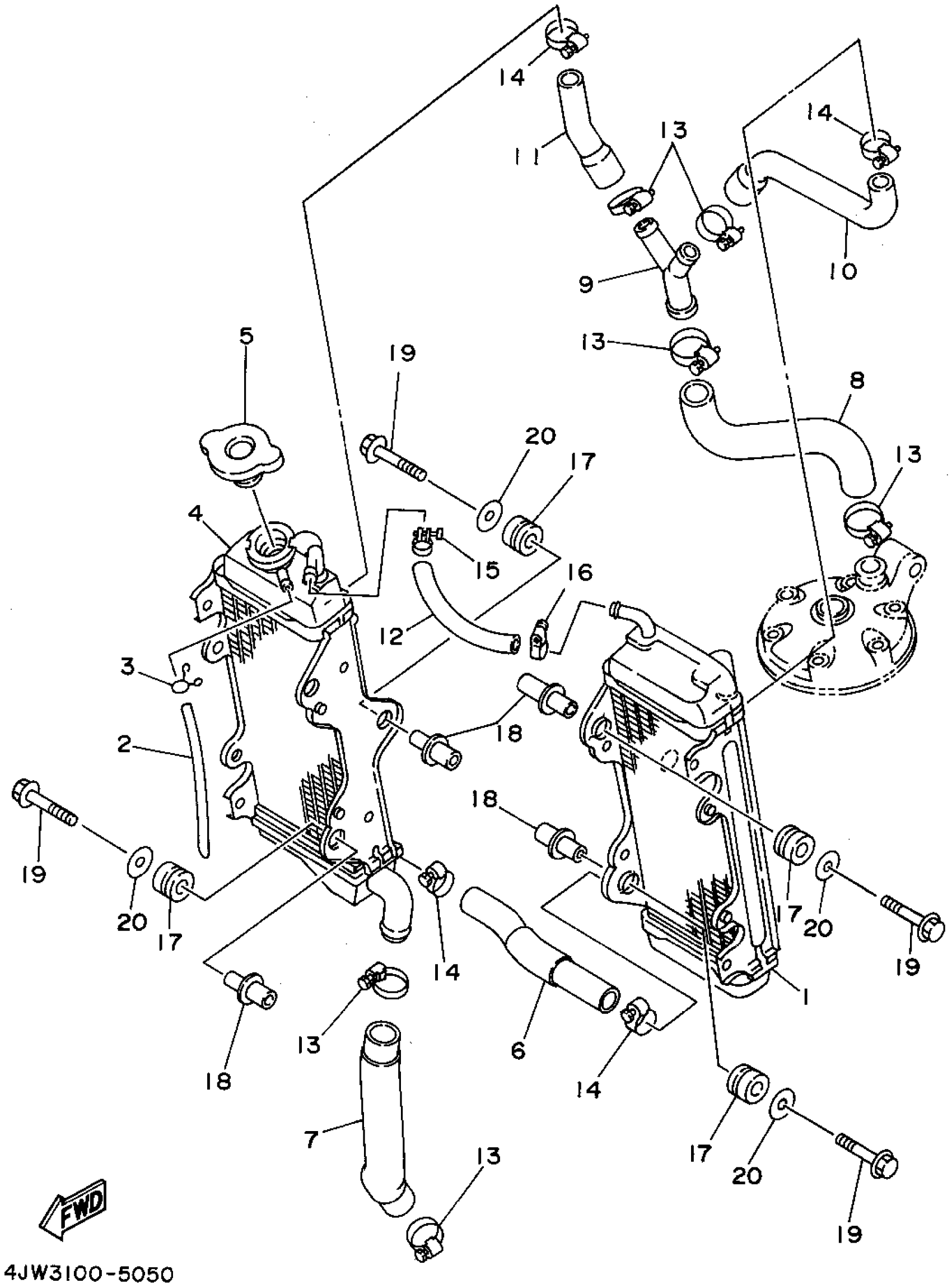
RADIATOR - HOSE
Yamaha WR250ZG (WR250Z) 1995 RADIATOR - HOSE Diagram
#
Description
Price
1
RADIATOR ASSY 2
4EW-1240A-01-00
Unavailable
4
RADIATOR ASSEMBLY
4JW-12461-00-00
Unavailable
6
PIPE 2
4JW-12482-00-00
Unavailable
7
PIPE 3
4JW-12483-00-00
Unavailable
8
PIPE 5
4JW-12485-00-00
Unavailable
9
JOINT 1
24X-12469-00-00
Unavailable
10
PIPE 6
4JW-12476-00-00
Unavailable
11
PIPE 7
4EW-12477-00-00
Unavailable
12
PIPE 8
4JW-1248A-00-00
Unavailable
15
HOSE CLAMP ASSEMBLY
90450-15041-00
Unavailable
16
HOSE CLAMP ASSY(62T)
90450-14M05-00
Unavailable
17
GROMMET(3RB)
90480-15528-00
Unavailable
18
SPACER
90560-07382-00
Unavailable
19
BOLT, SMALL FLANGE
95027-06050-00
Unavailable
20
WASHER, PLATE(36Y)
90201-063J2-00
Unavailable
