- Partiron
- OEM Parts
- Yamaha
- motorcycle
- 1995
- WR250ZG (WR250Z) 1995
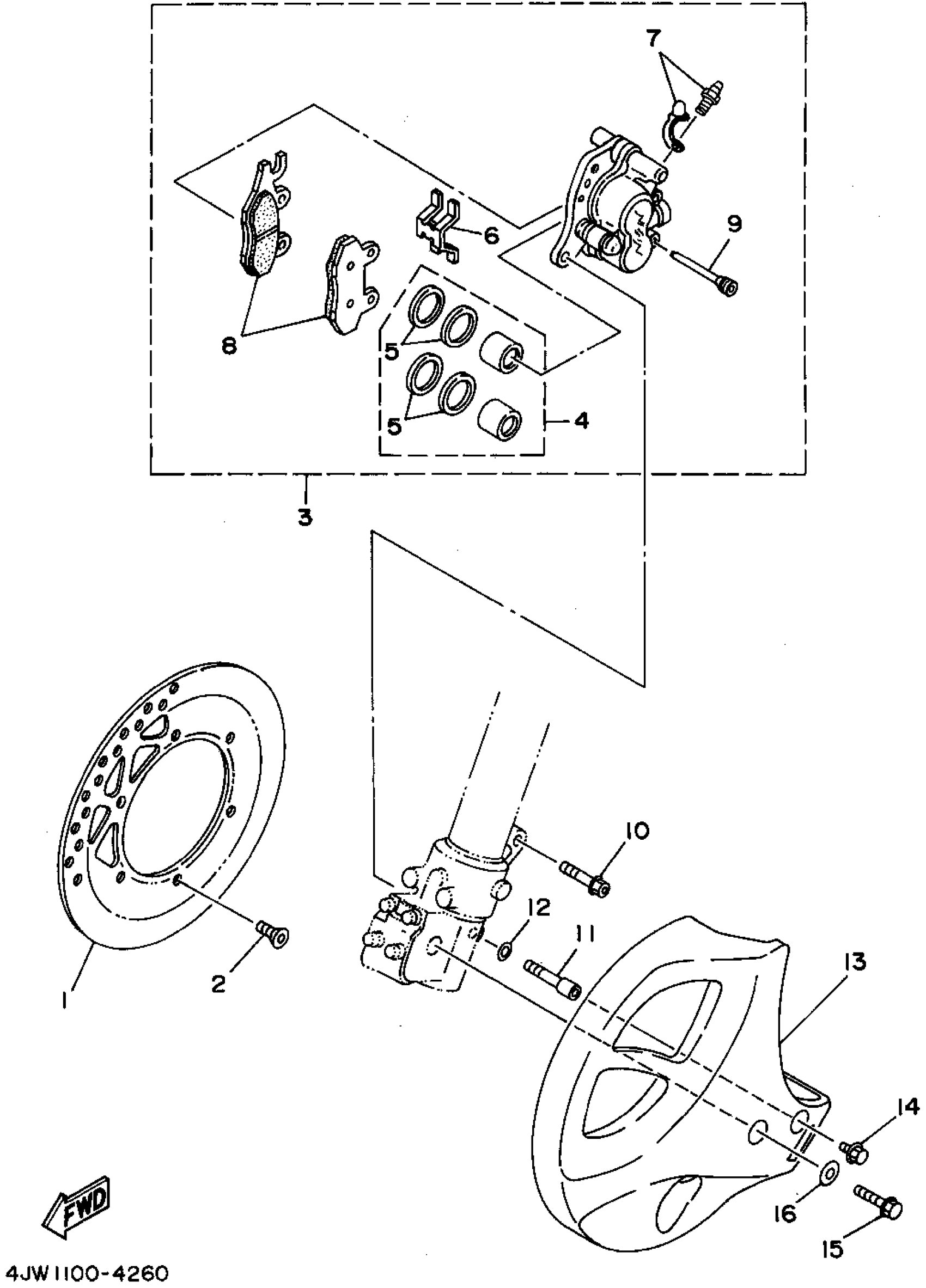
FRONT BRAKE CALIPER
Yamaha WR250ZG (WR250Z) 1995 FRONT BRAKE CALIPER Diagram
#
Description
Price
1
DISC, BRAKE
4XM-2582T-00-00
Unavailable
3
CALIPER ASY (LEFT)
4SS-2580T-00-00
Unavailable
4
PISTON ASSY, CALIPER
4EW-W0057-00-00
Unavailable
6
SUPPORT, PAD
3SP-25919-01-00
Unavailable
8
BRAKE PAD KIT
4SS-W0045-00-00
Unavailable
11
BOLT
90109-080G6-00
Unavailable
12
WASHER, PLATE
90201-090J9-00
Unavailable
13
PROTECTOR, DISK BRAKE
4JW-25717-00-00
Unavailable
16
WASHER(6TC)
92907-08200-00
Unavailable
