- Partiron
- OEM Parts
- Yamaha
- motorcycle
- 1994
- WR250ZF (WR250Z) 4JW1 1994
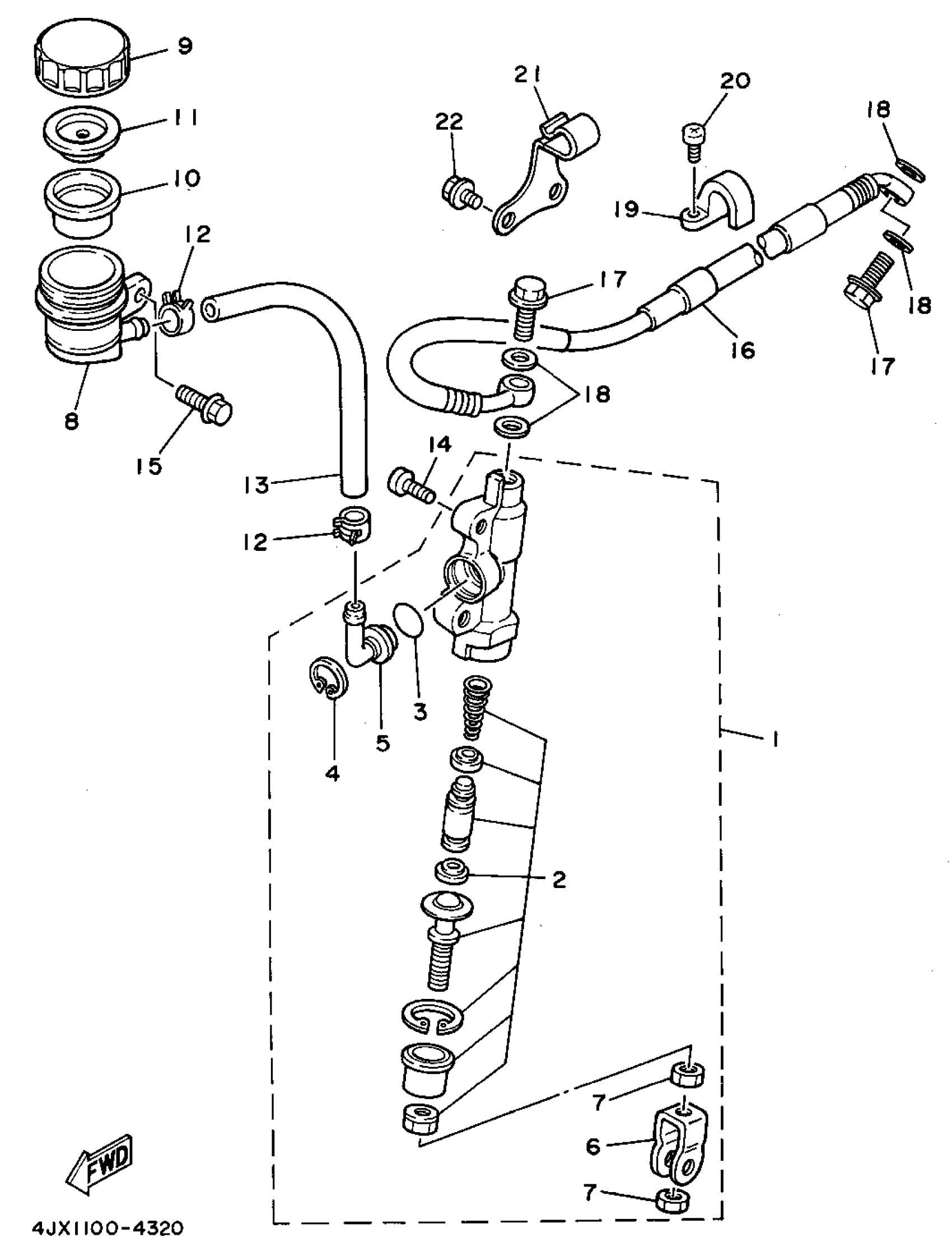
REAR MASTER CYLINDER
Yamaha WR250ZF (WR250Z) 4JW1 1994 REAR MASTER CYLINDER Diagram
#
Description
Price
1
RR. MASTER CYLINDER ASSY.
3SP-2583V-00-00
Unavailable
13
HOSE (4EW)
90445-135H9-00
Unavailable
16
HOSE,BRAKE 2
99999-03105-00
Unavailable
17
BOLT, UNION(3GM)
90401-10159-00
Unavailable
18
WASHER, PLATE(481)
90201-10118-00
Unavailable
19
HOLDER, BRAKE HOSE 2
2VM-25876-00-00
Unavailable
20
SCREW, TAPPING(6U1)
97780-50610-00
Unavailable
21
CLAMP
90465-12362-00
Unavailable
22
BOLT, FLANGE(3BM)
95024-06008-00
Unavailable
