- Partiron
- OEM Parts
- Yamaha
- motorcycle
- 1994
- WR250ZF (WR250Z) 4JW1 1994
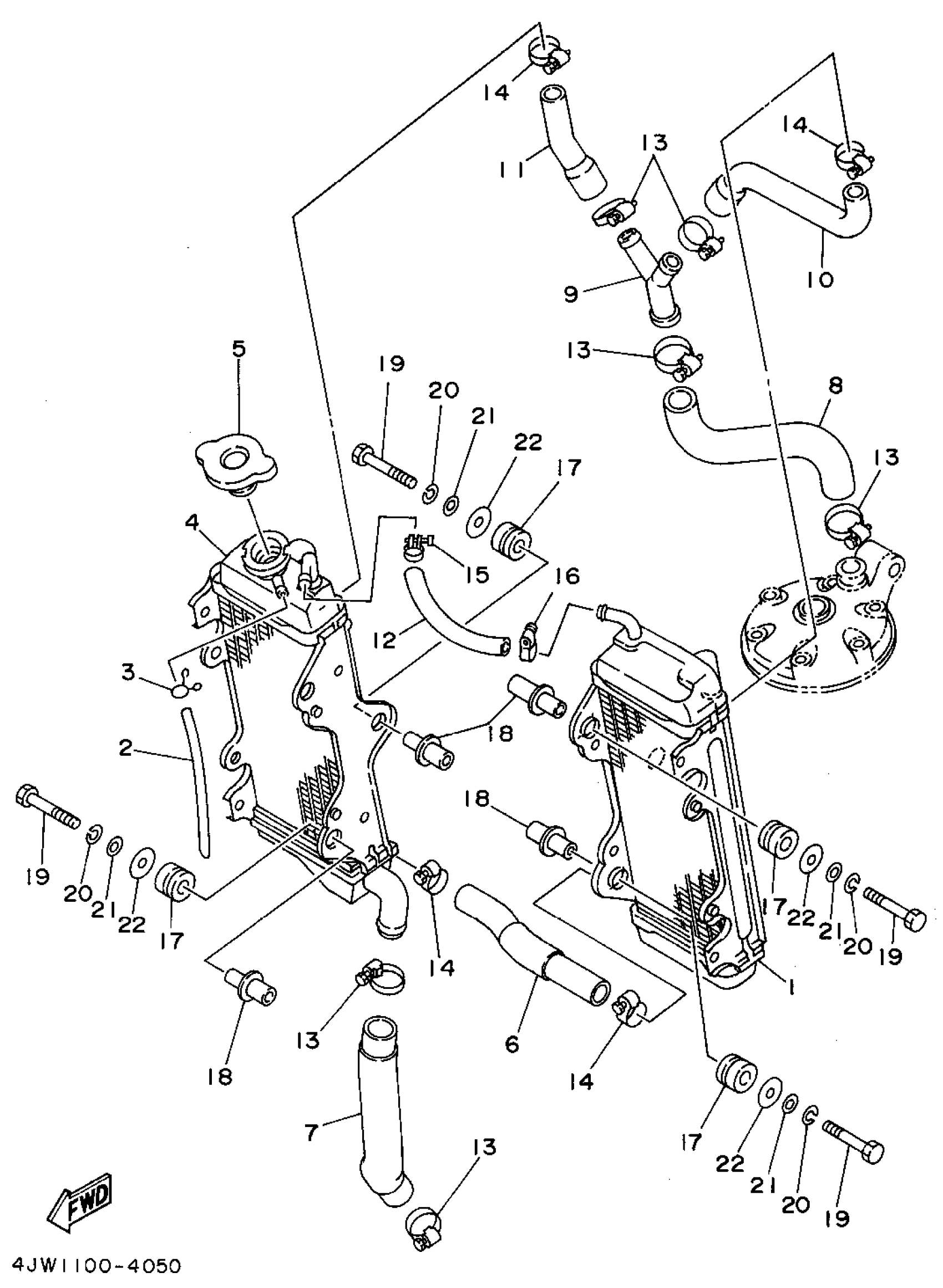
RADIATOR - HOSE
Yamaha WR250ZF (WR250Z) 4JW1 1994 RADIATOR - HOSE Diagram
#
Description
Price
1
RADIATOR ASSY 2
4EW-1240A-01-00
Unavailable
4
RADIATOR ASSEMBLY
4JW-12461-00-00
Unavailable
6
PIPE 2
4JW-12482-00-00
Unavailable
7
PIPE 3
4JW-12483-00-00
Unavailable
8
PIPE 5
4JW-12485-00-00
Unavailable
9
JOINT 1
24X-12469-00-00
Unavailable
10
PIPE 6
4JW-12476-00-00
Unavailable
11
PIPE 7
4EW-12477-00-00
Unavailable
12
PIPE 8
4JW-1248A-00-00
Unavailable
15
HOSE CLAMP ASSEMBLY
90450-15041-00
Unavailable
16
HOSE CLAMP ASSY(62T)
90450-14M05-00
Unavailable
17
GROMMET(3RB)
90480-15528-00
Unavailable
18
SPACER
90560-07382-00
Unavailable
19
BOLT(3HS)
97027-06050-00
Unavailable
20
WASHER, SPRING
92995-06100-00
Unavailable
21
WASHER, PLAIN (646)
92990-06600-00
Unavailable
22
WASHER, PLATE (583 FUEL TANK)
90201-06570-00
Unavailable
